TOP
|
特許
|
意匠
|
商標
特許ウォッチ
Twitter
他の特許を見る
10個以上の画像は省略されています。
公開番号
2025161538
公報種別
公開特許公報(A)
公開日
2025-10-24
出願番号
2024064819
出願日
2024-04-12
発明の名称
ボイラ壁
出願人
三菱重工業株式会社
代理人
個人
,
個人
,
個人
主分類
F22B
37/22 20060101AFI20251017BHJP(蒸気発生)
要約
【課題】管寄せの揺動を低減することができるボイラ壁を提供する。
【解決手段】火炉を形成するボイラ壁100であって、上下方向に延びた前壁110と、前後方向に延びた天井壁120と、接続構造体130と、を備え、前壁110は、上端に前壁上部管寄せ114を有し、接続構造体130は、前壁上部管寄せ114と天井壁120とを接続している。また、接続構造体130は、前壁上部管寄せ114の上部に設けられた第1取付部150、天井壁120の上面に設けられた第2取付部160、及び前壁上部管寄せ114から天井壁120に向かって延びた接続部材140を有し、接続部材140は、第1取付部150を介して前壁上部管寄せ114と接続され、第2取付部160を介して天井壁120と接続されている。
【選択図】図2
特許請求の範囲
【請求項1】
火炉を形成するボイラ壁であって、
鉛直方向に延びた第1壁体と、
水平方向に延びた第2壁体と、
接続構造体と、
を備え、
前記第1壁体は、上端に管寄せを有し、
前記接続構造体は、前記管寄せと前記第2壁体とを接続している
ボイラ壁。
続きを表示(約 1,000 文字)
【請求項2】
前記接続構造体は、
前記管寄せの上部に設けられた第1取付部、
前記第2壁体の上面に設けられた第2取付部、及び
前記管寄せから前記第2壁体に向かって延びた接続部材
を有し、
前記接続部材は、
前記第1取付部を介して前記管寄せと接続され、
前記第2取付部を介して前記第2壁体と接続されている
請求項1に記載のボイラ壁。
【請求項3】
前記第1取付部は、水平方向に延びた第1接続ピンを有し、
前記接続部材は、前記第1接続ピン回りに回動自在とされている
請求項2に記載のボイラ壁。
【請求項4】
前記第1取付部は、前記第1接続ピンの両端部を軸支した2つの第1支持部材を有し、
前記接続部材は、各前記第1支持部材に対して隙間を空けた状態で前記第1支持部材間に配置されている
請求項3に記載のボイラ壁。
【請求項5】
前記管寄せを含みつつ前記第1壁体の一部を覆うことで炉内から炉外へ向かう燃焼ガスをシールするケーシングを備え、
前記接続部材は、前記ケーシングの外部に位置している
請求項2に記載のボイラ壁。
【請求項6】
前記第2取付部は、
前記第2壁体の上面に載置され、前記接続部材と接続された介在部材、及び
前記第2壁体の上面に取り付けられ、前記介在部材の上面に掛かった複数の引掛部材
を有している
請求項2に記載のボイラ壁。
【請求項7】
前記第2取付部は、水平方向に延びた第2接続ピンを有し、
前記接続部材は、前記第2接続ピン回りに回動自在とされている
請求項6に記載のボイラ壁。
【請求項8】
前記第2取付部は、前記介在部材の上面に取り付けられ前記第2接続ピンの両端部を軸支した2つの第2支持部材を有し、
前記接続部材は、各前記第2支持部材に対して隙間を空けた状態で前記第2支持部材間に配置されている
請求項7に記載のボイラ壁。
【請求項9】
前記接続部材は、前記第2接続ピンが挿通される挿通孔を有し、
前記挿通孔は、前記接続部材の延在方向に沿った長孔とされている
請求項7に記載のボイラ壁。
発明の詳細な説明
【技術分野】
【0001】
本開示は、ボイラ壁に関する。
続きを表示(約 1,500 文字)
【背景技術】
【0002】
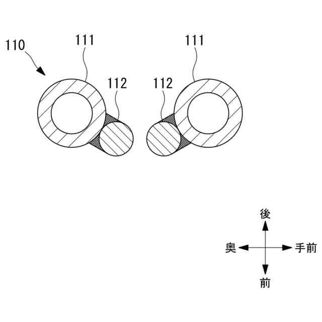
ボイラの火炉を形成するボイラ壁は、複数の伝熱管からなる複数の壁体(水冷壁)から構成されている。それらの壁体には、鉛直方向に延びた壁体や水平方向に延びた壁体が含まれている。
鉛直方向に延びた壁体の上部(各伝熱管の上端)には、管寄せが取り付けられている(例えば、特許文献1参照)。
【先行技術文献】
【特許文献】
【0003】
特開2002-081610号公報
【発明の概要】
【発明が解決しようとする課題】
【0004】
管寄せは重量物であり、例えば地震動等の振動を原因とする水平方向に作用する加振力によって、管寄せが水平方向に揺動することがある。
管寄せが水平方向に揺動した場合、管寄せに取り付けられた各伝熱管が撓むことがある。伝熱管間にはメンブレンバーやロッドが配置されており、これらのメンブレンバーやロッドは各伝熱管と溶接で接合されている。仮に各伝熱管が撓むと、メンブレンバーやロッドと伝熱管との溶接端部に応力が集中し、溶接部が損傷する可能性がある。すなわち、管寄せの揺動に起因して、第1壁体が損傷する可能性がある。
【0005】
本開示は、このような事情に鑑みてなされたものであって、管寄せの揺動を低減することができるボイラ壁を提供することを目的とする。
【課題を解決するための手段】
【0006】
上記課題を解決するために、本開示のボイラ壁は、以下の手段を採用する。
本開示の一態様に係るボイラ壁は、火炉を形成するボイラ壁であって、鉛直方向に延びた第1壁体と、水平方向に延びた第2壁体と、接続構造体と、を備え、前記第1壁体は、上端に管寄せを有し、前記接続構造体は、前記管寄せと前記第2壁体とを接続している。
【発明の効果】
【0007】
本開示によれば、管寄せの揺動を低減することができる。
【図面の簡単な説明】
【0008】
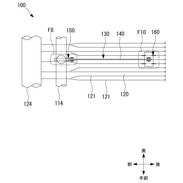
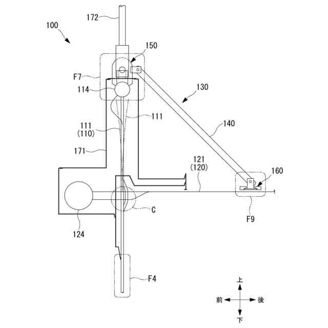
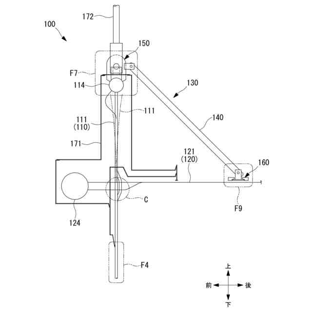
本開示の一実施形態に係るボイラ壁の斜視図である。
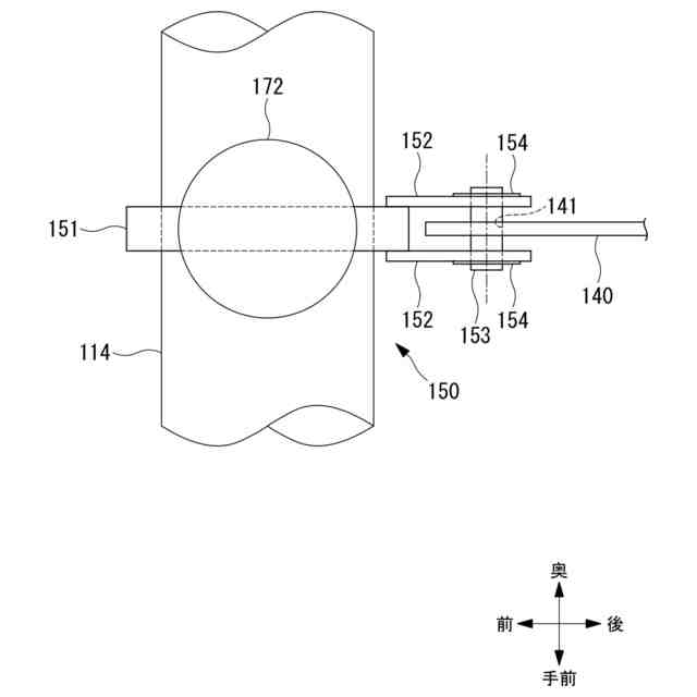
図1に示すF2部の拡大側面図である。
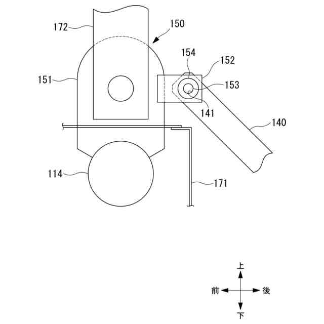
図1に示すF2部の拡大平面図である。
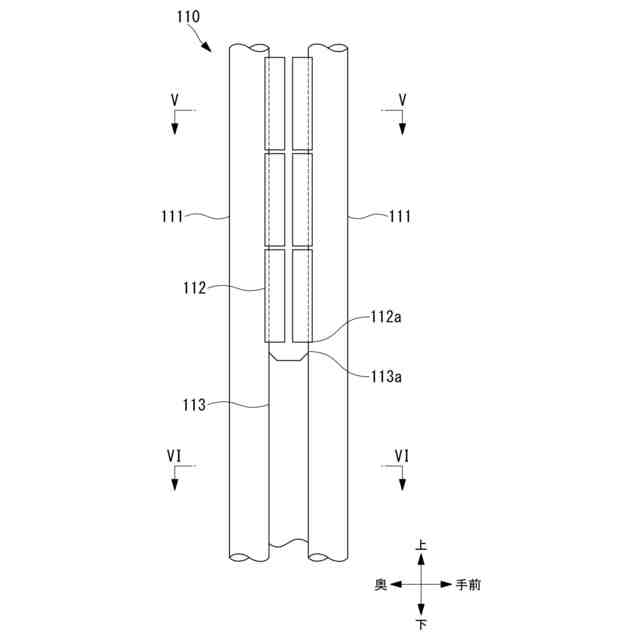
図2に示すF4部の拡大正面図である。
図4に示す切断線V-Vにおける横断面図である。
図4に示す切断線VI-VIにおける横断面図である。
図2に示すF7部の拡大側面図である。
図3に示すF8部の拡大平面図である。
図2に示すF9部の拡大側面図である。
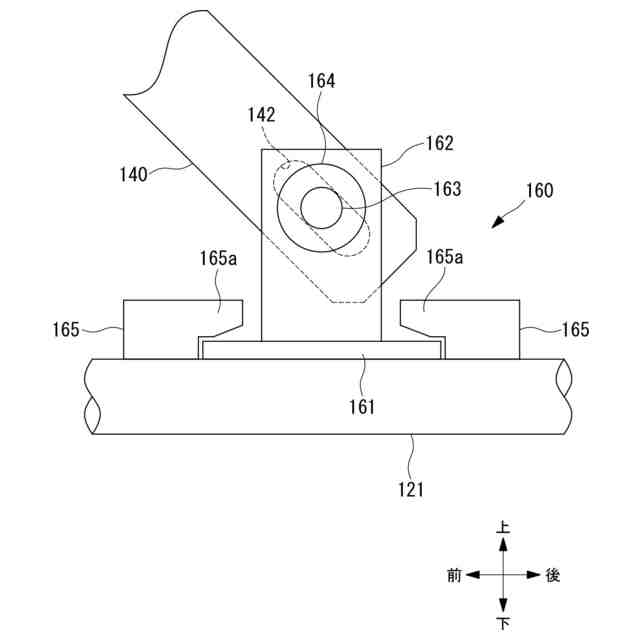
図3に示すF10部の拡大平面図である。
【発明を実施するための形態】
【0009】
以下、本開示の一実施形態に係るボイラ壁について、図面を参照しつつ説明する。
なお、以下の説明において、上下方向とは上から下又は下から上へ向かう方向であり、前後方向とは前から後ろ又は後ろから前へ向かう方向であり、奥行方向とは手前から奥又は奥から手前へ向かう方向である。
また、上下方向、前後方向及び奥行方向は、互いに略直交している。
また、上下方向は鉛直方向と一致しており、前後方向及び奥行方向は水平方向と一致している。
また、上記の各方向は、説明の容易な理解のために定義した用語であり、実際の製品の姿勢を限定するものではない。
【0010】
ボイラ壁100は、燃料を燃焼させて水蒸気を発生さえるボイラの壁体であり、内部に火炉101を形成している。
図1から図3に示すように、ボイラ壁100は、前壁(第1壁体)110と、天井壁(第2壁体)120と、を備えている。
(【0011】以降は省略されています)
この特許をJ-PlatPat(特許庁公式サイト)で参照する
関連特許
三浦工業株式会社
水蒸気発生装置
2か月前
三浦工業株式会社
ボイラシステム
4日前
三菱重工業株式会社
ボイラ壁
1か月前
三浦工業株式会社
貫流ボイラ
1か月前
三浦工業株式会社
電極式ボイラ
19日前
中国電力株式会社
吊下パネルの修繕方法及び吊下管整列用具
1か月前
JFEエンジニアリング株式会社
排熱回収ボイラ及びその給水バイパス制御方法
1か月前
三菱重工業株式会社
熱電併給用蒸気生成システム及び熱電併給システム並びに熱電併給用蒸気生成方法
2か月前
株式会社サーモテック
温度調節システム
1か月前
三菱重工業株式会社
CO2回収装置用蒸気生成システム及びこれを備えたCO2回収装置並びにCO2回収装置用蒸気生成方法
2か月前
インターナショナル・ペーパー・カンパニー
ファウリングを減少させるように回収ボイラの動作を制御するシステムおよび方法
13日前
アルトリア クライアント サーヴィシーズ リミテッド ライアビリティ カンパニー
タバコ植物を産生するための組成物および方法、ならびに変化したアルカロイドレベルを有する産物
1か月前
シナイ ヘルス システム
全身免疫抑制を必要としない同種免疫寛容
1か月前
ザ リージェンツ オブ ザ ユニバーシティ オブ カリフォルニア
修飾多能性細胞
2か月前
オプシディオ, エルエルシー
腎疾患における抗幹細胞因子抗体及びその使用方法
1か月前
スタリクラ ソシエテ アノニム
ASDに対する治療
1か月前
他の特許を見る