TOP
|
特許
|
意匠
|
商標
特許ウォッチ
Twitter
他の特許を見る
10個以上の画像は省略されています。
公開番号
2025165991
公報種別
公開特許公報(A)
公開日
2025-11-05
出願番号
2025123268,2022517173
出願日
2025-07-23,2020-09-16
発明の名称
腎疾患における抗幹細胞因子抗体及びその使用方法
出願人
オプシディオ, エルエルシー
代理人
個人
,
個人
,
個人
,
個人
,
個人
主分類
A61K
39/395 20060101AFI20251028BHJP(医学または獣医学;衛生学)
要約
【課題】腎疾患における抗幹細胞因子抗体及びその使用方法を提供すること。
【解決手段】本開示は、幹細胞因子(SCF)に結合する抗体及びその抗原結合断片の腎疾患及び障害における使用方法に関する。抗体及びその抗原結合断片は、SCF248に特異的に結合し、炎症性及び線維性腎障害を治療するために有用である。一態様では、本開示は、腎疾患または障害を有する患者に、幹細胞因子(SCF)に特異的に結合する抗体またはその断片を投与することを含む、腎疾患及び障害を治療する方法を提供する。
【選択図】なし
特許請求の範囲
【請求項1】
明細書に記載の発明。
発明の詳細な説明
【技術分野】
【0001】
関連出願の相互参照
本出願は、2019年9月16日に出願された米国仮特許出願第62/900,927号の優先権の利益を主張するものであり、その全内容は参照により本明細書に組み込まれる。
続きを表示(約 3,800 文字)
【0002】
電子的に提出されたテキストファイルの説明
本明細書と共に電子的に提出されるテキストファイルの内容は、参照によりその全体が本明細書に組み込まれる:コンピュータ読み取り可能な形態コピーの配列表(ファイル名:OPSL_001_02WO_SeqList_ST25、データ記録日:2020年9月16日、ファイルサイズ58キロバイト)
【背景技術】
【0003】
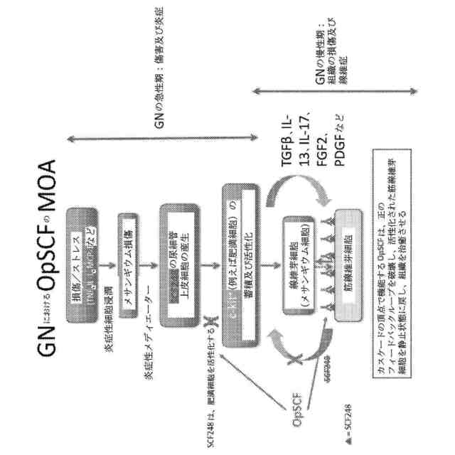
炎症性疾患は、世界中の罹患率及び死亡率の主要な原因である。いくつかのタイプの慢性炎症は、線維症につながる可能性があり、これは、臓器または組織の正常な構成要素としての線維性組織の形成とは対照的に、修復的または反応的プロセスとして臓器または組織における過剰な線維性結合組織の形成または発生である。慢性炎症及び線維症は、ほとんどすべての組織及び臓器系に影響を及ぼす可能性があり、線維性組織リモデリングは、移植レシピエントにおける癌転移に影響を及ぼし、慢性移植片拒絶を加速させる可能性がある。腎臓の慢性炎症は、死亡率の高い線維性疾患につながる可能性がある。
【0004】
幹細胞因子(SCF)及びその受容体c-Kitは、慢性炎症の持続及び線維性疾患における重要な因子である(El-Koraie,et al.,Kidney Int.60:167(2001)、Powell,et al.,Am.J.Physiol.289:G2(2005)、El Kossi,et al.,Am.J.Kidney Dis.41:785(2003)、Powell,et al.,Am.J.Physiol.277:C183(1999) Ding et al J Pathol.2013 Jun;230(2):205-14.、Berlin et al Lab Invest.2006 Jun;86(6):557-65、Rasky et al Am J Physiol Lung Cell Mol Physiol.2020 Jan 1;318(1):L200-L211)。c-Kitは、多くの細胞型に存在するIII型受容体-チロシンキナーゼである(Orr-Urtreger et al.,Development 109:911(1990)。肥満細胞、好酸球、及び自然リンパ球細胞2及び3(ILC2及びILC3)などの免疫細胞はすべて、関連した疾患及び臓器に応じて、慢性炎症プロセスを駆動し得るc-Kit+細胞である。炎症性応答の開始時に、SCFを含む種々のメディエーターは、c-Kit+免疫細胞を活性化し、これは同様に、サイトカインを産生し、線維芽細胞を活性化した筋線維芽細胞にする。筋線維芽細胞は、細胞外マトリックスタンパク質、コラーゲン、及びフィブロネクチンを分泌し、組織の線維化をもたらす。活性化された筋線維芽細胞、活性化された上皮、内皮、マクロファージ、好酸球、肥満細胞、単球、及び他の細胞もまた、細胞表面上でSCFを発現し、これはより多くのc-Kit+免疫細胞を活性化し、より多くのサイトカイン放出をもたらし、炎症を持続させる。
腎臓の炎症性疾患及び線維性疾患に対するより効率的かつより特異的な治療の必要性が当該技術分野に存在する。本開示は、この必要性及び他の必要性に対処する。
【先行技術文献】
【非特許文献】
【0005】
El-Koraie,et al.,Kidney Int.60:167(2001)
Powell,et al.,Am.J.Physiol.289:G2(2005)
El Kossi,et al.,Am.J.Kidney Dis.41:785(2003)
Powell,et al.,Am.J.Physiol.277:C183(1999)
Ding et al J Pathol.2013 Jun;230(2):205-14.
Berlin et al Lab Invest.2006 Jun;86(6):557-65
Rasky et al Am J Physiol Lung Cell Mol Physiol.2020 Jan 1;318(1):L200-L211
Orr-Urtreger et al.,Development 109:911(1990)
【発明の概要】
【課題を解決するための手段】
【0006】
一態様では、本開示は、腎疾患または障害を有する患者に、幹細胞因子(SCF)に特異的に結合する抗体またはその断片を投与することを含む、腎疾患及び障害を治療する方法を提供する。実施形態では、腎疾患または障害は、炎症性腎疾患、線維性腎疾患、及び/または組織リモデリング腎疾患である。実施形態では、本明細書で提供される方法で使用するための抗体及びその断片は、SCFアイソフォームSCF248に特異的に結合する。いくつかの実施形態では、本明細書で提供される方法で使用するための抗体及びその断片は、重鎖相補性決定領域(CDR)を含み、重鎖CDR1 CDR2、及びCDR3は、それぞれ、配列番号1、2、及び3を含む。いくつかの実施形態では、本明細書で提供される方法で使用するための抗体及びその断片は、軽鎖CDRを含み、軽鎖CDR1 CDR2、及びCDR3は、それぞれ、配列番号4、5、及び6を含む。いくつかの実施形態では、本明細書で提供される方法で使用するための抗体及びその断片は、それぞれ、配列番号1、37、及び3を含む重鎖CDR1、CDR2、及びCDR3を含む。いくつかの実施形態では、抗体及びその断片は、配列番号7、8、9、10、11、及び12からなる群から選択される配列に対して少なくとも80%、少なくとも85%、少なくとも90%、少なくとも95%、または少なくとも99%の同一性を含む重鎖可変領域を含む。いくつかの実施形態では、抗体及びその断片は、配列番号13、14、15、16、及び17からなる群から選択される配列に対して少なくとも80%、少なくとも85%、少なくとも90%、少なくとも95%、または少なくとも99%の同一性を含む軽鎖可変領域を含む。いくつかの実施形態では、抗体及びその断片は、配列番号7、8、9、10、11、及び12からなる群から選択されるアミノ酸配列を含む重鎖可変領域と、配列番号13、14、15、16、及び17からなる群から選択されるアミノ酸配列を含む軽鎖可変領域と、を含む。
【0007】
いくつかの実施形態では、本開示は、配列番号7に記載の重鎖可変領域アミノ酸配列と、配列番号16に記載の軽鎖可変領域アミノ酸配列と、を含む抗体またはその断片を対象に投与することを含む、腎臓の炎症性疾患及び/または線維性疾患を治療するための方法を提供する。いくつかの実施形態では、当該抗体またはその断片は、配列番号8に記載の重鎖可変領域アミノ酸配列と、配列番号16に記載の軽鎖可変領域アミノ酸配列と、を含む、請求項1に記載の抗体またはその断片。いくつかの実施形態では、当該抗体またはその断片は、配列番号9に記載の重鎖可変領域アミノ酸配列と、配列番号16に記載の軽鎖可変領域アミノ酸配列と、を含む。いくつかの実施形態では、当該抗体またはその断片は、配列番号10に記載の重鎖可変領域アミノ酸配列と、配列番号16に記載の軽鎖可変領域アミノ酸配列と、を含む。いくつかの実施形態では、当該抗体またはその断片は、配列番号11に記載の重鎖可変領域アミノ酸配列と、配列番号16に記載の軽鎖可変領域アミノ酸配列と、を含む。いくつかの実施形態では、当該抗体またはその断片は、配列番号12に記載の重鎖可変領域アミノ酸配列と、配列番号16に記載の軽鎖可変領域アミノ酸配列と、を含む。
【0008】
いくつかの実施形態では、当該抗体またはその断片は、ヒト化される。いくつかの実施形態では、当該抗体は、モノクローナル抗体である。いくつかの実施形態では、当該抗体は、ヒトIgG1ドメインまたはヒトIgG4ドメインを含む。いくつかの実施形態では、当該抗体は、抗原結合断片であり、この断片は、Fab、F(ab’)2、Fab’、scFv、及び単一ドメイン抗体(sdAb)から選択される。
【0009】
いくつかの実施形態では、当該抗体またはその断片は、SCF(例えば、SCF248)とc-kitとの間の相互作用を遮断する。いくつかの実施形態では、当該抗体は、SCF248に特異的に結合する。いくつかの実施形態では、当該抗体は、SCF220に結合しない。いくつかの実施形態では、当該抗体は、SCFの内在化を引き起こし、それを細胞表面上で利用できなくすることによって、SCF248とc-kitとの相互作用を防止する。
【0010】
一態様では、本開示は、本明細書で提供される抗体またはその断片を含む薬学的組成物を提供する。いくつかの実施形態では、薬学的組成物は、薬学的に許容される担体、希釈剤、または賦形剤を含む。
(【0011】以降は省略されています)
この特許をJ-PlatPat(特許庁公式サイト)で参照する
関連特許
個人
貼付剤
1か月前
個人
健康器具
9か月前
個人
簡易担架
18日前
個人
足踏み器具
25日前
個人
短下肢装具
4か月前
個人
鼾防止用具
9か月前
個人
腋臭防止剤
18日前
個人
前腕誘導装置
4か月前
個人
マッサージ機
9か月前
個人
排尿補助器具
1か月前
個人
洗井間専家。
8か月前
個人
白内障治療法
8か月前
個人
脈波測定方法
9か月前
個人
嚥下鍛錬装置
4か月前
個人
脈波測定方法
9か月前
個人
矯正椅子
6か月前
個人
腰ベルト
1か月前
個人
胸骨圧迫補助具
2か月前
個人
歯の修復用材料
5か月前
個人
汚れ防止シート
2か月前
個人
バッグ式オムツ
5か月前
個人
アイマスク装置
3か月前
個人
ホバーアイロン
7か月前
個人
ウォート指圧法
1か月前
個人
歯の保護用シール
6か月前
個人
陣痛緩和具
4か月前
個人
車椅子持ち上げ器
8か月前
個人
湿布連続貼り機。
3か月前
個人
口内洗浄具
9か月前
個人
シャンプー
7か月前
個人
排尿排便補助器具
20日前
個人
哺乳瓶冷まし容器
4か月前
個人
美容セット
27日前
三生医薬株式会社
錠剤
8か月前
個人
エア誘導コルセット
3か月前
個人
服薬支援装置
8か月前
続きを見る
他の特許を見る