TOP
|
特許
|
意匠
|
商標
特許ウォッチ
Twitter
他の特許を見る
公開番号
2025154303
公報種別
公開特許公報(A)
公開日
2025-10-10
出願番号
2024057220
出願日
2024-03-29
発明の名称
CO2回収装置用蒸気生成システム及びこれを備えたCO2回収装置並びにCO2回収装置用蒸気生成方法
出願人
三菱重工業株式会社
代理人
個人
,
個人
,
個人
主分類
F22B
3/04 20060101AFI20251002BHJP(蒸気発生)
要約
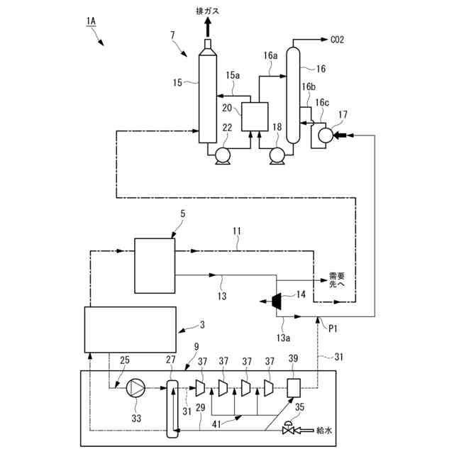
【課題】100℃未満の温熱を用いてCO2回収装置に熱エネルギーを供給することができるCO2回収装置用蒸気生成システムを提供する。
【解決手段】蒸気生成システム9は、100℃未満の温水によって負圧水を加熱して負圧蒸気を生成する蒸気発生器27と、蒸気発生器27にて生成された負圧蒸気をCO2回収装置7へに供給する蒸気供給路31と、蒸気発生器27に給水を供給する給水路29と、給水路29に設けられ、給水を大気圧以下に減圧する減圧弁35と、を備えている。
【選択図】図1
特許請求の範囲
【請求項1】
熱媒体によって負圧水を加熱して負圧蒸気を生成する蒸気発生器と、
前記蒸気発生器にて生成された蒸気をCO2回収装置に供給する蒸気供給部と、
を備え、
前記熱媒体は、前記CO2回収装置で回収するCO2の発生源の冷却水または、該冷却水により加熱された熱媒体であるCO2回収装置用蒸気生成システム。
続きを表示(約 830 文字)
【請求項2】
前記蒸気発生器に水を供給する水供給部と、
前記水供給部に設けられ、水を大気圧以下に減圧する減圧弁と、
を備えている請求項1に記載のCO2回収装置用蒸気生成システム。
【請求項3】
前記蒸気供給部には、負圧蒸気を大気圧以上に昇圧する蒸気圧縮機を備えている請求項1に記載のCO2回収装置用蒸気生成システム。
【請求項4】
ボイラによって生成されたボイラ蒸気から動力を回収するタービンを備え、
前記蒸気圧縮機は、前記タービンによって駆動される請求項3に記載のCO2回収装置用蒸気生成システム。
【請求項5】
前記蒸気圧縮機と前記タービンとが共通の回転軸で接続され、
前記蒸気圧縮機の出口蒸気と、前記タービンの出口蒸気とが均圧されている請求項4に記載のCO2回収装置用蒸気生成システム。
【請求項6】
前記蒸気圧縮機と前記タービンとがモータ発電機に接続されている請求項4に記載のCO2回収装置用蒸気生成システム。
【請求項7】
前記タービンは、可変容量タービンとされている請求項4に記載のCO2回収装置用蒸気生成システム。
【請求項8】
前記熱媒体の温度は、発電用エンジンを冷却する冷却水から得られる請求項1に記載のCO2回収装置用蒸気生成システム。
【請求項9】
請求項1から8のいずれかに記載のCO2回収装置用蒸気生成システムを備えているCO2回収装置。
【請求項10】
熱媒体によって負圧水を加熱して蒸気を生成する蒸気発生工程と、
前記蒸気発生工程にて生成された負圧蒸気をCO2回収装置に供給する蒸気供給工程と、
を有し、
前記熱媒体は、前記CO2回収装置で回収するCO2の発生源の冷却水または、該冷却水により加熱された熱媒体であるCO2回収装置用蒸気生成方法。
発明の詳細な説明
【技術分野】
【0001】
本開示は、CO2回収装置用蒸気生成システム及びこれを備えたCO2回収装置並びにCO2回収装置用蒸気生成方法に関するものである。
続きを表示(約 1,100 文字)
【背景技術】
【0002】
内燃機関から排出された排ガスからCO2を回収するCO2回収装置が知られている(例えば特許文献1参照)。特許文献1に記載されたCO2回収装置は、吸着剤に吸着したCO2を脱離するための熱源として、排ガスの一部を用いるようになっている。
【先行技術文献】
【特許文献】
【0003】
国際公開第2016/076041号
【発明の概要】
【発明が解決しようとする課題】
【0004】
しかし、排ガスは300℃~400℃など高温となるケースが多く、引用文献1に記載されたCO2回収装置のように、CO2を脱離させるための熱源として排ガスの一部を用いることとすると、排熱回収ボイラなど高温用途に使える排ガス量が相対的に減少してしまう。
【0005】
CO2回収装置の熱源としては蒸気が多用されているので、蒸気を生成してCO2回収装置に供給する方が有利である。一方で、CO2回収装置の周囲には100℃未満の温熱が存在するものの熱利用が行われずに廃棄されており、熱エネルギーの有効利用がなされていないという問題がある。
【0006】
本開示は、このような事情に鑑みてなされたものであって、100℃未満の温熱を用いてCO2回収装置に熱エネルギーを供給することができるCO2回収装置用蒸気生成システム及びこれを備えたCO2回収装置並びにCO2回収装置用蒸気生成方法を提供することを目的とする。
【課題を解決するための手段】
【0007】
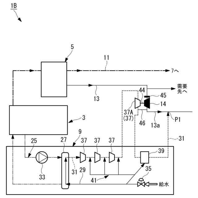
本開示の一態様に係るCO2回収装置用蒸気生成システムは、熱媒体によって負圧水を加熱して蒸気を生成する蒸気発生器と、前記蒸気発生器にて生成された蒸気をCO2回収装置に供給する蒸気供給部と、を備え、前記熱媒体は、前記CO2回収装置で回収するCO2の発生源の冷却水または、該冷却水により加熱された熱媒体である。
【0008】
本開示の一態様に係るCO2回収装置は、上記のCO2回収装置用蒸気生成システムを備えている。
【0009】
本開示の一態様に係るCO2回収装置用蒸気生成方法は、熱媒体によって負圧水を加熱して蒸気を生成する蒸気発生工程と、前記蒸気発生工程にて生成された蒸気をCO2回収装置に供給する蒸気供給工程と、を有し、前記熱媒体は、前記CO2回収装置で回収するCO2の発生源の冷却水または、該冷却水により加熱された熱媒体である。
【発明の効果】
【0010】
100℃未満の温熱を用いてCO2回収装置に熱エネルギーを供給することができる。
【図面の簡単な説明】
(【0011】以降は省略されています)
この特許をJ-PlatPat(特許庁公式サイト)で参照する
関連特許
三浦工業株式会社
台数制御装置
2か月前
三浦工業株式会社
水蒸気発生装置
1か月前
三菱重工業株式会社
ボイラ壁
1か月前
日精オーバル株式会社
蒸気発生装置
2か月前
三浦工業株式会社
貫流ボイラ
1か月前
株式会社ミヤワキ
蒸気プラント
3か月前
三浦工業株式会社
電極式ボイラ
12日前
三菱重工業株式会社
蒸気生成システム及び蒸気生成方法
2か月前
神鋼検査サービス株式会社
スケール除去ユニット
2か月前
中国電力株式会社
吊下パネルの修繕方法及び吊下管整列用具
26日前
JFEエンジニアリング株式会社
排熱回収ボイラ及びその給水バイパス制御方法
1か月前
東京電力ホールディングス株式会社
蒸気タービンプラント
2か月前
三菱重工業株式会社
熱電併給用蒸気生成システム及び熱電併給システム並びに熱電併給用蒸気生成方法
1か月前
三菱重工業株式会社
ボイラ制御装置、ボイラ、発電プラント、ボイラ制御方法およびボイラ制御プログラム
3か月前
三菱重工業株式会社
ボイラの制御装置、これを備えたボイラシステム、ボイラの制御方法及びボイラの制御プログラム
2か月前
株式会社サーモテック
温度調節システム
25日前
三菱重工業株式会社
CO2回収装置用蒸気生成システム及びこれを備えたCO2回収装置並びにCO2回収装置用蒸気生成方法
1か月前
インターナショナル・ペーパー・カンパニー
ファウリングを減少させるように回収ボイラの動作を制御するシステムおよび方法
6日前
ジーイー・ベルノバ・テクノロジー・ゲーエムベーハー
熱回収蒸気発生器用の入口ダクトシステム
2か月前
株式会社新川
実装方法、実装装置及び実装プログラム
3か月前
ブラザー工業株式会社
フィルムカートリッジ、フィルムユニットおよび層転写装置
4か月前
アルトリア クライアント サーヴィシーズ リミテッド ライアビリティ カンパニー
タバコ植物を産生するための組成物および方法、ならびに変化したアルカロイドレベルを有する産物
1か月前
キヤノン株式会社
ズームレンズ及びそれを有する撮像装置
3か月前
和歌山県
変異型ATF2タンパク質およびその用途
2か月前
オプシディオ, エルエルシー
抗幹細胞因子抗体及びその使用方法
3か月前
シナイ ヘルス システム
全身免疫抑制を必要としない同種免疫寛容
1か月前
ダイキン工業株式会社
含フッ素化合物
4か月前
ザ リージェンツ オブ ザ ユニバーシティ オブ カリフォルニア
修飾多能性細胞
1か月前
ファイヴ プライム セラピューティクス インク
アフコシル化された抗FGFR2IIIB抗体
3か月前
ヤマサ醤油株式会社
改変型バソプレシン受容体を発現する培養細胞
3か月前
株式会社半導体エネルギー研究所
正極活物質、二次電池、電子機器
2か月前
株式会社Things
プログラム、管理方法、および管理装置
2か月前
セイコーエプソン株式会社
成形管理システム
2か月前
ローム株式会社
絶縁チップおよび半導体装置
3か月前
オプシディオ, エルエルシー
腎疾患における抗幹細胞因子抗体及びその使用方法
27日前
スタリクラ ソシエテ アノニム
ASDに対する治療
27日前
続きを見る
他の特許を見る