TOP
|
特許
|
意匠
|
商標
特許ウォッチ
Twitter
他の特許を見る
公開番号
2025176443
公報種別
公開特許公報(A)
公開日
2025-12-04
出願番号
2024082611
出願日
2024-05-21
発明の名称
原子炉
出願人
三菱重工業株式会社
代理人
弁理士法人酒井国際特許事務所
主分類
G21C
5/00 20060101AFI20251127BHJP(核物理;核工学)
要約
【課題】装荷した燃料に応じて運転期間を延ばすこと。
【解決手段】原子炉101は、核燃料を含む炉心11と、炉心11の周りに配置され中性子を吸収する中性子吸収部55を有して炉心11に対する中性子吸収部55の位置を調整可能に設けられた複数の制御ドラム51と、炉心11において中性子エネルギーが高い燃料領域に配置される中性子増殖部26と、を含む。
【選択図】図3
特許請求の範囲
【請求項1】
核燃料を含む炉心と、
前記炉心の周りに配置され中性子を吸収する中性子吸収部を有して前記炉心に対する前記中性子吸収部の位置を調整可能に設けられた複数の制御部と、
前記炉心において中性子エネルギーが高い燃料領域に配置される中性子増殖部と、
を含む、原子炉。
続きを表示(約 230 文字)
【請求項2】
前記中性子増殖部は、前記炉心の中央部に配置される、
請求項1に記載の原子炉。
【請求項3】
前記制御部は、中性子反射部をさらに有して前記炉心に対する前記中性子反射部の位置を調整可能に設けられ、
前記中性子増殖部は、前記炉心の外側部に配置される、
請求項1に記載の原子炉。
【請求項4】
前記中性子増殖部は、複数の前記核燃料が配置された間に配置される、
請求項1に記載の原子炉。
発明の詳細な説明
【技術分野】
【0001】
本開示は、原子炉に関する。
続きを表示(約 1,100 文字)
【背景技術】
【0002】
例えば、特許文献1には、燃料を含む炉心の周りに制御機構が配置された原子炉が記載されている。制御機構は、ドラム状に形成された外周の一部に中性子吸収体が設けられ、自身の回転によって中性子吸収体を燃料に対して接近させることで燃料の反応度を下げ、離隔させることで燃料の反応度を上げる。
【先行技術文献】
【特許文献】
【0003】
特許第7426323号公報
【発明の概要】
【発明が解決しようとする課題】
【0004】
ここで、燃料の反応度が高まれば、装荷した燃料に応じて原子炉の運転期間を延ばすことができる。このため、効率的に炉心の反応度を添加することが望まれている。
【0005】
本開示は、上述した課題を解決するものであり、効率的に炉心の反応度を添加し、装荷した燃料に応じて運転期間を延ばすことのできる原子炉を提供することを目的とする。
【課題を解決するための手段】
【0006】
上述の目的を達成するために、本開示の一態様に係る原子炉は、核燃料を含む炉心と、前記炉心の周りに配置され中性子を吸収する中性子吸収部を有して前記炉心に対する前記中性子吸収部の位置を調整可能に設けられた複数の制御部と、前記炉心において中性子エネルギーが高い燃料領域に配置される中性子増殖部と、を含む。
【発明の効果】
【0007】
本開示は、装荷した燃料に応じて運転期間を延ばすことができる。
【図面の簡単な説明】
【0008】
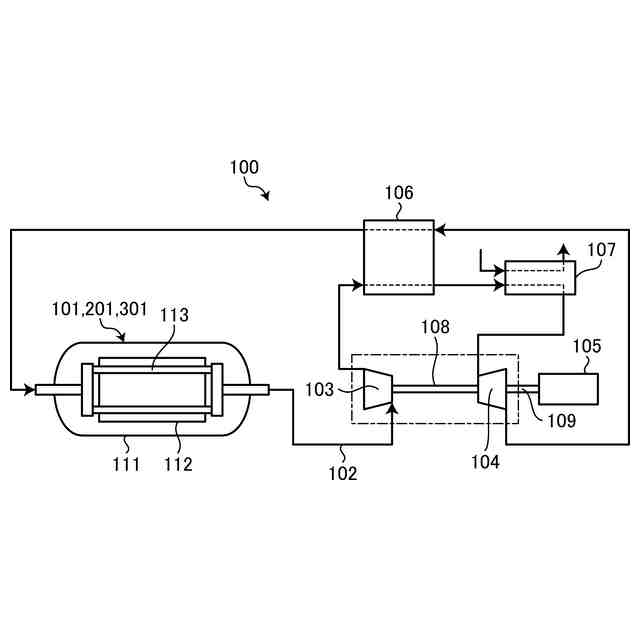
図1は、実施形態に係る原子炉を用いた原子力発電システムの模式図である。
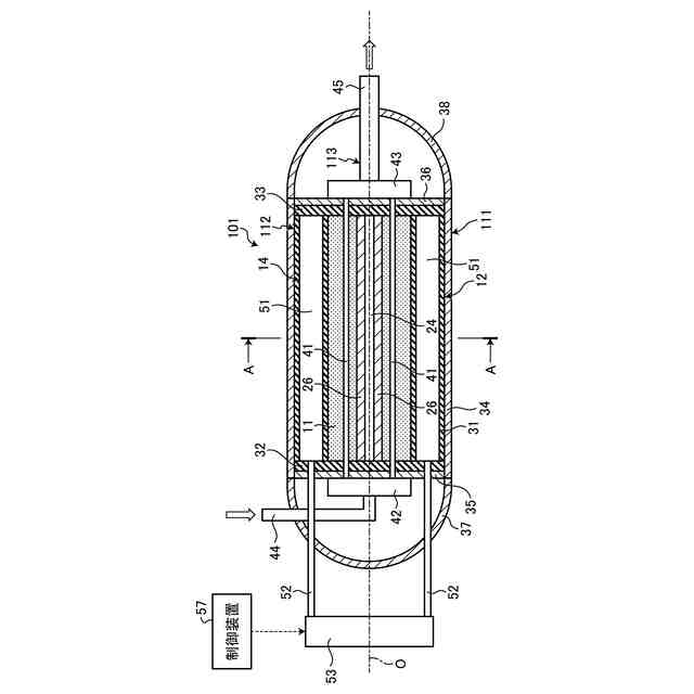
図2は、実施形態に係る原子炉の縦断面図である。
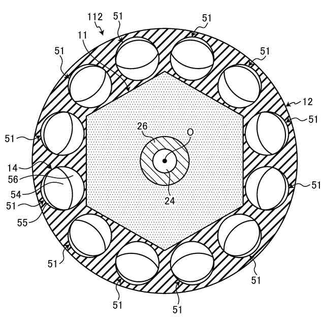
図3は、実施形態に係る原子炉の平断面図である。
図4は、実施形態に係る原子炉の動作を示す平断面図である。
図5は、実施形態に係る原子炉の他の構成例の平断面図である。
図6は、実施形態に係る原子炉の他の構成例の部分拡大斜視図である。
【発明を実施するための形態】
【0009】
以下に、本開示に係る実施形態を図面に基づいて詳細に説明する。なお、この実施形態によりこの発明が限定されるものではない。また、下記実施形態における構成要素には、当業者が置換可能かつ容易なもの、あるいは実質的に同一のものが含まれる。
【0010】
図1は、実施形態に係る原子炉を用いた原子力発電システムの模式図である。
(【0011】以降は省略されています)
この特許をJ-PlatPat(特許庁公式サイト)で参照する
関連特許
三菱重工業株式会社
炭化炉
1日前
三菱重工業株式会社
原子炉
22日前
三菱重工業株式会社
原子炉
今日
三菱重工業株式会社
施工方法
28日前
三菱重工業株式会社
遠心圧縮機
6日前
三菱重工業株式会社
原子力システム
7日前
三菱重工業株式会社
石膏脱水システム
28日前
三菱重工業株式会社
配管端部用閉止装置
1日前
三菱重工業株式会社
アンモニア除害システム
28日前
三菱重工業株式会社
シール装置及び回転機械
27日前
三菱重工業株式会社
原子炉炉心および原子炉
22日前
三菱重工業株式会社
評価装置および評価方法
7日前
三菱重工業株式会社
ドライアイス貯留部、及び船舶
1日前
三菱重工業株式会社
支持部材及び接着剤の監視方法
28日前
三菱重工業株式会社
水位制御方法および水位制御装置
7日前
三菱重工業株式会社
評価方法、評価装置及びプログラム
今日
三菱重工業株式会社
排ガス処理触媒及び排ガス処理方法
6日前
三菱重工業株式会社
制御装置、制御方法、及びプログラム
6日前
三菱重工業株式会社
圧縮機の静翼セグメント、及び圧縮機
28日前
三菱重工業株式会社
油圧防振装置および構造物の支持構造
8日前
三菱重工業株式会社
検査システム、検査方法及びプログラム
14日前
三菱重工業株式会社
超音波探傷装置、および超音波探傷方法
27日前
三菱重工業株式会社
ダスト除去システムおよびダスト除去方法
6日前
三菱重工業株式会社
排ガス処理触媒ユニット及び排ガス処理方法
6日前
三菱重工業株式会社
対象成分回収システム及び対象成分回収方法
7日前
三菱重工業株式会社
静翼セグメント、及びこれを備える蒸気タービン
20日前
三菱重工業株式会社
排気車室の分解組立方法、及び軸受台下半の支持装置
6日前
三菱重工業株式会社
放射性物質取扱設備施工方法および放射性物質取扱設備
14日前
三菱重工業株式会社
経路設定方法、移動体、管理システム、及びプログラム
6日前
三菱重工業株式会社
回転機械の分解組立方法、及び位置決めピンの挿抜治具
6日前
三菱重工業株式会社
脱硝触媒、及び燃焼排ガスから窒素酸化物を除去する方法
14日前
三菱重工業株式会社
燃焼装置の運転方法、燃料の選定方法及び運転制御システム
1日前
三菱重工業株式会社
ガスタービンシステム、及び、ガスタービンシステム制御方法
14日前
三菱重工業株式会社
温度制御装置、温度制御システム、温度制御方法、およびプログラム
14日前
三菱重工業株式会社
廃棄物処理システム
6日前
三菱重工業株式会社
レーザ照射装置、レーザ照射システム、レーザ照射方法、およびプログラム
27日前
続きを見る
他の特許を見る