TOP
|
特許
|
意匠
|
商標
特許ウォッチ
Twitter
他の特許を見る
公開番号
2025171366
公報種別
公開特許公報(A)
公開日
2025-11-20
出願番号
2024076621
出願日
2024-05-09
発明の名称
放射性物質取扱設備施工方法および放射性物質取扱設備
出願人
三菱重工業株式会社
代理人
弁理士法人酒井国際特許事務所
主分類
G21F
3/00 20060101AFI20251113BHJP(核物理;核工学)
要約
【課題】耐震強度を向上しつつ隙間に対して放射線の遮へい性能を確保すること。
【解決手段】放射性物質取扱設備施工方法は、コンクリート壁21で囲われたコンクリートセル20と、金属壁31で囲われた鉄遮へい体30と、有し、金属壁31の開口端32aをコンクリート壁21に突き合わせてコンクリートセル20と鉄遮へい体30とを連結してなる放射性物質取扱設備の施工方法であって、鉄遮へい体30を設置する前に金属壁31の開口端32aの全周とコンクリート壁21との間の隙間Sとなる位置にシール材50を配置する工程と、コンクリート壁21の一部を含む金属壁31の開口端32aの外部全周を囲むように型枠80を配置する工程と、型枠80の内部にグラウト材60を充てんする工程と、グラウト材60の乾燥後に型枠80を撤去しコンクリート壁21および金属壁31に対して相互間を介在するブラケット(70)を固定する工程と、を含む。
【選択図】図7
特許請求の範囲
【請求項1】
コンクリート壁で囲われたコンクリートセルと、金属壁で囲われた鉄遮へい体と、有し、前記金属壁の開口端を前記コンクリート壁に突き合わせて前記コンクリートセルと前記鉄遮へい体とを連結してなる放射性物質取扱設備の施工方法であって、
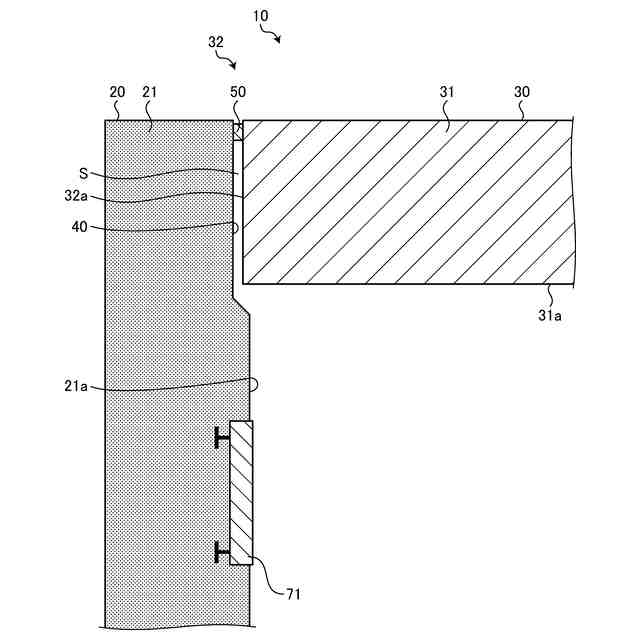
前記鉄遮へい体を設置する前に前記金属壁の前記開口端の全周と前記コンクリート壁との間の隙間となる位置にシール材を配置する工程と、
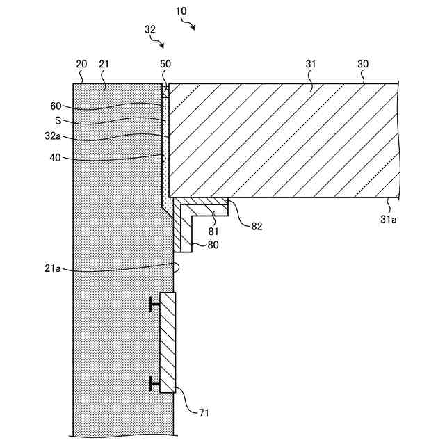
前記コンクリート壁の一部を含む前記金属壁の前記開口端の外部全周を囲むように型枠を配置する工程と、
前記型枠の内部にグラウト材を充てんする工程と、
前記グラウト材の乾燥後に前記型枠を撤去し前記コンクリート壁および前記金属壁に対して相互間を介在するブラケットを固定する工程と、
を含む、放射性物質取扱設備施工方法。
続きを表示(約 490 文字)
【請求項2】
前記金属壁の前記開口端の全周が突き合わされる前記コンクリート壁の壁面に、前記グラウト材が充てんされる窪みを形成する、
請求項1に記載の放射性物質取扱設備施工方法。
【請求項3】
コンクリート壁で囲われたコンクリートセルと、金属壁で囲われた鉄遮へい体と、有し、前記金属壁の開口端を前記コンクリート壁に突き合わせて前記コンクリートセルと前記鉄遮へい体とを連結してなる放射性物質取扱設備であって、
前記金属壁の前記開口端の全周と前記コンクリート壁との間の隙間に配置されるシール材と、
前記隙間の内部および前記コンクリート壁の一部を含む前記金属壁の前記開口端の外部全周に沿って固着されるグラウト材と、
前記コンクリート壁および前記金属壁に固定されて相互間に介在するブラケットと、
を含む、放射性物質取扱設備。
【請求項4】
前記金属壁の前記開口端の全周が突き合わされる前記コンクリート壁の壁面に形成され前記グラウト材が充てんされる窪みをさらに含む、
請求項3に記載の放射性物質取扱設備。
発明の詳細な説明
【技術分野】
【0001】
本開示は、放射性物質取扱設備施工方法および放射性物質取扱設備に関する。
続きを表示(約 1,900 文字)
【背景技術】
【0002】
例えば、特許文献1には、建築物の大きな層間変位の発生時にも中程度の遮蔽性能を得るための放射線遮へい仕切壁が示されている。この放射線遮へい仕切壁は、平行な上下端で支持される仕切壁において、上下端の一方を仕切壁の厚さ方向への傾斜を許しつつ固定し、上下端の他方を仕切壁の厚さ方向への傾斜を許しつつ仕切壁の面方向へ摺動自在に係止してなる。
【先行技術文献】
【特許文献】
【0003】
特開平11-131655号公報
【発明の概要】
【発明が解決しようとする課題】
【0004】
特許文献1に示される仕切壁は、上下端の他方を仕切壁の厚さ方向への傾斜を許しつつ仕切壁の面方向へ摺動自在に係止するため、上下端の他方との間に隙間が生じる。従って、この隙間から漏洩し得る放射線を遮へいする必要がある。
【0005】
ここで、例えば、隙間から漏洩し得る放射線を遮へいするには、図8に示すように、隙間Sが抜ける方向を遮るように金属製の補助遮へい体160を設けることが考えられる。しかし、補助遮へい体160は、隙間Sの寸法に対して放射線を十分に遮るための大きさが必要である。また、仕切壁を耐震補強するため、補助遮へい体160を設ける部分(コンクリート壁21)と、仕切壁(金属壁31)とを連結するブラケット170を設ける場合がある。ブラケット170を設ける場合、上記のごとく補助遮へい体160の大きさにより、ブラケット170が補助遮へい体160を避けるために形状が複雑であると共に大型化してしまい、ブラケット170の強度、即ち耐震強度を向上することが難しくなる。
【0006】
本開示は、上述した課題を解決するものであり、耐震強度を向上しつつ隙間に対して放射線の遮へい性能を確保することのできる放射性物質取扱設備施工方法および放射性物質取扱設備を提供することを目的とする。
【課題を解決するための手段】
【0007】
上述の目的を達成するために、本開示の一態様に係る放射性物質取扱設備施工方法は、コンクリート壁で囲われたコンクリートセルと、金属壁で囲われた鉄遮へい体と、有し、前記金属壁の開口端を前記コンクリート壁に突き合わせて前記コンクリートセルと前記鉄遮へい体とを連結してなる放射性物質取扱設備の施工方法であって、前記鉄遮へい体を設置する前に前記金属壁の前記開口端の全周と前記コンクリート壁との間の隙間となる位置にシール材を配置する工程と、前記コンクリート壁の一部を含む前記金属壁の前記開口端の外部全周を囲むように型枠を配置する工程と、前記型枠の内部にグラウト材を充てんする工程と、前記グラウト材の乾燥後に前記型枠を撤去し前記コンクリート壁および前記金属壁に対して相互間を介在するブラケットを固定する工程と、を含む。
【0008】
上述の目的を達成するために、本開示の一態様に係る放射性物質取扱設備は、コンクリート壁で囲われたコンクリートセルと、金属壁で囲われた鉄遮へい体と、有し、前記金属壁の開口端を前記コンクリート壁に突き合わせて前記コンクリートセルと前記鉄遮へい体とを連結してなる放射性物質取扱設備であって、前記金属壁の前記開口端の全周と前記コンクリート壁との間の隙間に配置されるシール材と、前記隙間の内部および前記コンクリート壁の一部を含む前記金属壁の前記開口端の外部全周に沿って固着されるグラウト材と、前記コンクリート壁および前記金属壁に固定されて相互間に介在するブラケットと、を含む。
【発明の効果】
【0009】
本開示は、耐震強度を向上しつつ隙間に対して放射線の遮へい性能を確保することができる。
【図面の簡単な説明】
【0010】
図1は、実施形態の放射性物質取扱設備の概略構成図である。
図2は、実施形態の放射性物質取扱設備の要部の構成図である。
図3は、実施形態の放射性物質取扱設備施工方法のフローチャートである。
図4は、実施形態の放射性物質取扱設備施工方法の工程図である。
図5は、実施形態の放射性物質取扱設備施工方法の工程図である。
図6は、実施形態の放射性物質取扱設備施工方法の工程図である。
図7は、実施形態の放射性物質取扱設備施工方法の工程図である。
図8は、従来の一例の放射性物質取扱設備の構成図である。
【発明を実施するための形態】
(【0011】以降は省略されています)
この特許をJ-PlatPat(特許庁公式サイト)で参照する
関連特許
個人
原子力プラント
1か月前
個人
常温核融合装置
3日前
個人
超音波振動子の利用
1か月前
個人
元素変換用固体核融合工程
5か月前
個人
廃炉方法及び固化材
1か月前
個人
安山岩を利用した放射線消去装置
4か月前
個人
安山岩を利用した放射線消去装置
6か月前
合同会社日本レプトン
電子発生部材
9日前
パテントフレア株式会社
核融合反応促進法
6か月前
個人
はんれい岩を利用した放射線消去装置
4か月前
中国電力株式会社
燃料集合体移動装置
1日前
合同会社日本レプトン
電子発生ペースト
1か月前
株式会社エー・アンド・デイ
X線検査装置
6か月前
株式会社エー・アンド・デイ
X線検査装置
6か月前
個人
核変換システム、加工装置、除去装置、切除装置
6か月前
栗田工業株式会社
放射性廃液の処理方法
1か月前
合同会社日本レプトン
電子発生部材の製造方法
9日前
PDRファーマ株式会社
遮蔽容器
6か月前
国立大学法人大阪大学
原子力発電装置
6か月前
個人
加速器屋が考えたTEMモード同軸共鳴器型核融合炉
22日前
住友重機械工業株式会社
搬送システム
4か月前
合同会社日本レプトン
電子発生器具及びその製造方法
1か月前
三菱重工業株式会社
原子炉
9日前
合同会社日本レプトン
電子発生素材及び電子発生部材
9日前
合同会社日本レプトン
電子発生器具及びその製造方法
1か月前
個人
共振励起型固体核融合装置と元素変換用固体核融合工程
4か月前
個人
過剰熱起電力発生方法
5か月前
三菱重工業株式会社
加圧容器
2か月前
株式会社イトーキ
放射線遮蔽扉
4か月前
株式会社大林組
埋め戻し材、埋め戻し材の製造方法
3か月前
三菱重工業株式会社
容器解体装置
1か月前
株式会社エム・ディ・インスツルメンツ
X線管の焦点寸法測定方法
4か月前
清水建設株式会社
放射線遮蔽構造
6か月前
アンカーハウジング株式会社
核シェルター
4か月前
株式会社安藤・間
レーザー除染装置による除染方法
6か月前
個人
ブランケット・炉心2領域増殖原子炉及びプルトニウム金属生産炉
4か月前
続きを見る
他の特許を見る