TOP
|
特許
|
意匠
|
商標
特許ウォッチ
Twitter
他の特許を見る
公開番号
2025169176
公報種別
公開特許公報(A)
公開日
2025-11-12
出願番号
2025063764
出願日
2025-04-08
発明の名称
電子発生部材
出願人
合同会社日本レプトン
代理人
個人
主分類
G21H
5/00 20060101AFI20251105BHJP(核物理;核工学)
要約
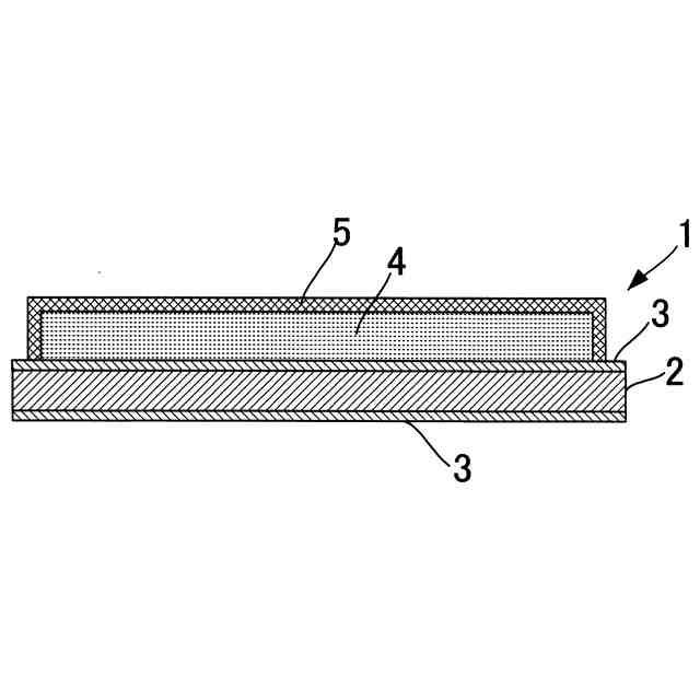
【課題】摩擦係数を低減させることができる電子発生部材を提供する。
【解決手段】放射性物質を含有する天然鉱物の粉体、及び、前記天然鉱物から放出されアルファ線により電子を発生させる電子発生物質の粉体を備える電子発生素材からなる電子発生部と、前記電子発生部に積層して配設される磁石体とを備える摩擦係数を低減させることができる電子発生部材。
【選択図】図1
特許請求の範囲
【請求項1】
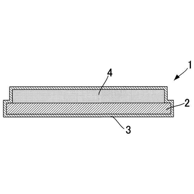
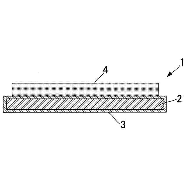
放射性物質を含有する天然鉱物の粉体、及び、前記天然鉱物から放出されアルファ線により電子を発生させる電子発生物質の粉体を備える電子発生素材からなる電子発生部と、
前記電子発生部に積層して配設される磁石体とを備える摩擦係数を低減させることができる電子発生部材。
続きを表示(約 610 文字)
【請求項2】
前記磁石体は、N極側の面が、前記電子発生部側を向くようにして配置されていることを特徴とする請求項1に記載の電子発生部材。
【請求項3】
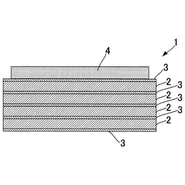
放射性物質を含有する天然鉱物の粉体、及び、前記天然鉱物から放出されアルファ線により電子を発生させる電子発生物質の粉体を備える電子発生素材と、
一方端がN極、他方端がS極である筒状の磁石体とを備えており、
前記筒状の磁石体の内部に前記電子発生素材が充填されて構成される摩擦係数を低減させることができる電子発生部材。
【請求項4】
前記電子発生物質の粉体は、二酸化チタンの粉体と、
六ホウ化ランタン、ブラックシリカ、金属マグネシウム、タングステン、金属シリコン、二硫化モリブデン、及び金属ゲルマニウムから選択される少なくとも1種の粉体とを含む請求項1又は3に記載の電子発生部材。
【請求項5】
前記筒状の磁石体のN極側である前記一方端に電極部が接続している請求項3に記載の電子発生部材。
【請求項6】
前記電極部は、前記磁石体の前記一方端の端面全域が接続する板状電極である請求項5に記載の電子発生部材。
【請求項7】
前記板状電極は、前記磁石体の一方端の外周輪郭線により囲まれる面積よりも大きい面積を有するように形成されている請求項6に記載の電子発生部材。
発明の詳細な説明
【技術分野】
【0001】
本発明は、電子発生部材に関する。
続きを表示(約 1,100 文字)
【背景技術】
【0002】
従来から様々な機械分野等で、燃費向上や騒音防止、作業性向上等の目的で摩擦抵抗を低減させる試みがなされている。例えば、潤滑油を用いたり、ベアリングを用いたりすることにより回転部材等における摩擦抵抗を低減させ、燃費の向上や静音性の向上が図られている。
【発明の概要】
【発明が解決しようとする課題】
【0003】
従来から知られている摩擦抵抗低減手段は、一定の優れた効果を発揮するものではあるが、更なる摩擦抵抗低減効果を発揮させるには、従来から知られている手段では限界があると考えられ、新規な摩擦抵抗低減手段の開発が望まれている。
【0004】
本発明は、このような問題を解決するためになされたものであって、摩擦係数を低減させることができる電子発生部材を提供することを目的とする。
【課題を解決するための手段】
【0005】
本発明の前記目的は、放射性物質を含有する天然鉱物の粉体、及び、前記天然鉱物から放出されアルファ線により電子を発生させる電子発生物質の粉体を備える電子発生素材からなる電子発生部と、前記電子発生部に積層して配設される磁石体とを備える摩擦係数を低減させることができる電子発生部材により達成される。
【0006】
この電子発生部材において、前記磁石体は、N極側の面が、前記電子発生部側を向くようにして配置されていることが好ましい。
【0007】
また、本発明の前記目的は、放射性物質を含有する天然鉱物の粉体、及び、前記天然鉱物から放出されアルファ線により電子を発生させる電子発生物質の粉体を備える電子発生素材と、一方端がN極、他方端がS極である筒状の磁石体とを備えており、前記筒状の磁石体の内部に前記電子発生素材が充填されて構成される摩擦係数を低減させることができる電子発生部材により達成される。
【0008】
また、記電子発生物質の粉体は、二酸化チタンの粉体と、六ホウ化ランタン、ブラックシリカ、金属マグネシウム、タングステン、金属シリコン、二硫化モリブデン、及び金属ゲルマニウムから選択される少なくとも1種の粉体とを含むことが好ましい。
【0009】
また、前記筒状の磁石体のN極側である前記一方端に電極部が接続していることが好ましい。
【0010】
また、前記電極部は、前記磁石体の前記一方端の端面全域が接続する板状電極であることが好ましい。
(【0011】以降は省略されています)
この特許をJ-PlatPat(特許庁公式サイト)で参照する
関連特許
個人
常温核融合装置
19日前
個人
原子力プラント
1か月前
個人
超音波振動子の利用
1か月前
個人
廃炉方法及び固化材
2か月前
個人
元素変換用固体核融合工程
5か月前
個人
安山岩を利用した放射線消去装置
5か月前
個人
安山岩を利用した放射線消去装置
6か月前
個人
はんれい岩を利用した放射線消去装置
5か月前
合同会社日本レプトン
電子発生部材
25日前
中国電力株式会社
燃料集合体移動装置
17日前
合同会社日本レプトン
電子発生ペースト
2か月前
PDRファーマ株式会社
遮蔽容器
6か月前
合同会社日本レプトン
電子発生部材の製造方法
25日前
栗田工業株式会社
放射性廃液の処理方法
2か月前
個人
加速器屋が考えたTEMモード同軸共鳴器型核融合炉
1か月前
国立大学法人大阪大学
原子力発電装置
6か月前
住友重機械工業株式会社
搬送システム
5か月前
三菱重工業株式会社
原子炉
3日前
合同会社日本レプトン
電子発生器具及びその製造方法
2か月前
合同会社日本レプトン
電子発生器具及びその製造方法
2か月前
三菱重工業株式会社
原子炉
25日前
合同会社日本レプトン
電子発生素材及び電子発生部材
25日前
個人
共振励起型固体核融合装置と元素変換用固体核融合工程
5か月前
個人
過剰熱起電力発生方法
6か月前
三菱重工業株式会社
加圧容器
3か月前
株式会社大林組
埋め戻し材、埋め戻し材の製造方法
4か月前
株式会社イトーキ
放射線遮蔽扉
5か月前
株式会社エム・ディ・インスツルメンツ
X線管の焦点寸法測定方法
5か月前
三菱重工業株式会社
容器解体装置
2か月前
アンカーハウジング株式会社
核シェルター
5か月前
三菱重工業株式会社
原子力システム
10日前
個人
ブランケット・炉心2領域増殖原子炉及びプルトニウム金属生産炉
4か月前
三菱重工業株式会社
支持金物除去方法
2日前
株式会社安藤・間
レーザー除染装置による除染方法
6か月前
三菱重工業株式会社
プラントの電力設備
5か月前
個人
プラズマ発生装置およびプラズマ発生方法
5か月前
続きを見る
他の特許を見る