TOP
|
特許
|
意匠
|
商標
特許ウォッチ
Twitter
他の特許を見る
公開番号
2025065575
公報種別
公開特許公報(A)
公開日
2025-04-21
出願番号
2024117239
出願日
2024-07-04
発明の名称
常温核融合装置
出願人
個人
代理人
主分類
G21B
3/00 20060101AFI20250414BHJP(核物理;核工学)
要約
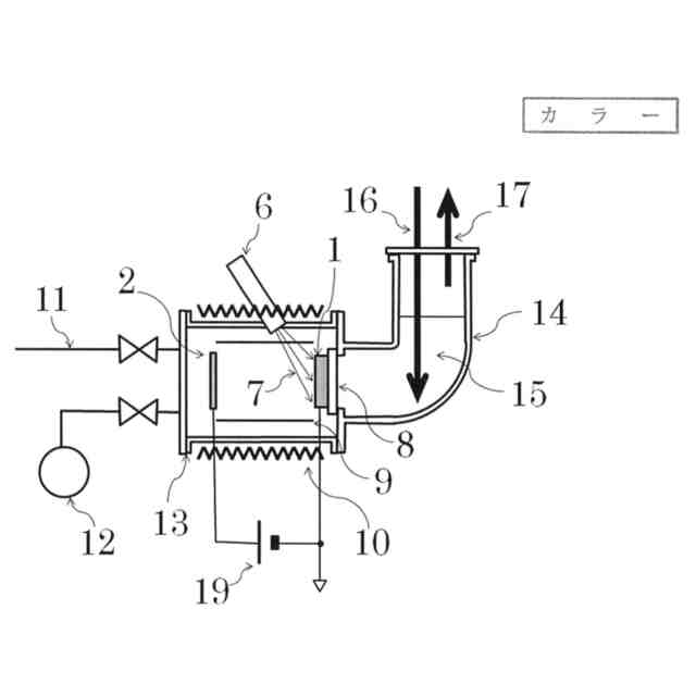
【課題】実用レベルの出力を有する常温核融合装置を提供する。
【解決手段】常温核融合対象の水素含有金属に対して0.78MeV以上のエネルギーを持つβ線またはγ線を照射させて核融合を促進させる。
【選択図】図1
特許請求の範囲
【請求項1】
重水を含む水素含有金属に対して0.78MeV以上のエネルギーを有するβ線またはγ線を照射することを特徴とする核融合装置。
続きを表示(約 430 文字)
【請求項2】
請求項1において該γ線がコバルト60、ラジウム226およびそれらの核変換物から放出されることを特徴とする核融合装置。
【請求項3】
請求項1において該β線がセシウム134、セシウム137、ルテニウム106およびそれらの核変換物から放出されることを特徴とする核融合装置。
【請求項4】
請求項1において該水素含有金属を負極として水素雰囲気でガス放電することを特徴とする核融合装置。
【請求項5】
請求項1において該水素含有金属で生成される亜鉛を該水素含有金属の表面温度を亜鉛の沸点以上にして蒸発させることを特徴とする核融合装置。
【請求項6】
請求項1~5のいずれかに記載の核融合装置を搭載したボイラー装置。
【請求項7】
請求項6において該水素含有金属の発生熱を該水素含有金属裏面のバッキングプレートからの熱伝導でボイラーの水を加熱することを特徴とするボイラー装置。
発明の詳細な説明
【技術分野】
【0001】
本発明は、0.78MeV以上のβ線またはγ線により核融合反応を促進させる常温核融合装置に関する。
続きを表示(約 2,200 文字)
【背景技術】
【0002】
1989年にフライシュマン教授,ポンズ教授によって常温核融合が報告された。非特許文献1によれば、Pdカソードを用いた重水の電気分解において通常の電気分解では得られない余剰熱が発生し、場合によってはPdカソードが融解した上(Pd融点1555℃)、γ線も検出し核融合反応を示唆するものであった。しかし、再現性の悪さから否定的な意見も出て評価が難しい現象だった。その後、数多の研究者の研究の結果、常温核融合の存在は認知されたものの、その原理に対して明確になったとは言えず試行錯誤で研究されている状況である。
【0003】
非特許文献2のNASAのグレン研究センターの研究者たちは電子加速器と水素と金属を用いて核融合を実現した。具体的には、加速器で加速させた電子をタングステンに照射してγ線を発生させる。重水素を吸蔵させたTiまたはErに当該γ線を照射して核融合に成功した。彼らは当該γ線によって重水が陽子と中性子に分解されて、ヘリウム生成や金属元素の変換が起こっていると説明している。この現象は常温核融合ではなく高温核融合(hot fusion)であり、新しい核融合の方法であると彼らは主張している。
【先行技術文献】
【特許文献】
【0004】
特許第6548102号公報
【非特許文献】
【0005】
J.Electroanal.Chem.,261巻,301項(1989).
IEEE Spectrum, 2020年8月5日掲載のMichael Koziolの記事
化学と教育,49巻,688項(2001).
【非文献特許4】
【】
日本原子力研究所,JAERI-M,89-132
【発明の概要】
【発明が解決しようとする課題】
【0006】
最初に解明すべきなのは常温核融合の原理である。多くの人が想像するクーロン遮蔽効果によって原子核とプロトン(重陽子も含む)の衝突確率が飛躍的に増大するという説は1990年代初期に否定されてボイドや不純物の関与が疑われていたりするが、非弾性散乱衝突断面積を考えれば中性子の関与の可能性が高く、それを指摘する研究者もいるが主流になっていないようである。
【0007】
本発明者は中性子の関与を支持しており、まず宇宙線のような外来のエネルギーによって原子核が励起される。実験事実として常温核融合ではγ線が出にくいことから、固体内の励起原子の励起エネルギーは内部転換して熱や近傍水素原子核と電子の融合による中性子生成に使われる。また、直接γ線が照射された水素原子核と電子の融合による中性子生成もあり得る。中性子も検出されにくいという実験事実から生成した中性子も他の原子核と高確率で融合して励起状態の原子核となり連鎖的に核融合、内部転換による発熱・中性子生成が進行する。中性子1個による生成エネルギーは化学反応の1万倍と言っても極めて微量であり、上記のような連鎖反応が進行して漸く発熱現象として観測可能となるのである。そして、中性子源である水素が無くなったりすると常温核融合反応並びに発熱が停止となる。
【0008】
以上のように考えれば、非特許文献2のNASAのグレン研究センターの手法は常温核融合の原理を用いた方法と言える。
【0009】
また、非特許文献1の常温核融合発見の論文にも中性子の関与を示す証拠がある。まず、測定されたγ線に2.2MeVのピークがあり、これは陽子と中性子が結合して重陽子になるとき発生するエネルギーに相当し、重水素の核分裂が進み多量の中性子と陽子の存在を示している。非特許文献3によれば、非特許文献1の実験日は、ユタ大学とブリガムヤング大学でネイチャー誌に常温核融合の論文を3月24日付で同時投稿すると約束した1989年3月6日から投稿日3月11日の間であると本発明者は推定しているが、この時期は常温核融合にとって歴史上最良条件であった。すなわち、3月6日太陽でX15.0の巨大フレア発生、3月9日太陽でコロナ質量放出が発生した結果、3月13日に地球で深刻な磁気嵐が発生し、カナダのケベック州大停電を起こす程太陽が活発であった。このような地球に多量の放射線が降り注がれた状況下でPdカソードが融解する程の常温核融合反応が起きたと本発明者は考えている。
【0010】
フライシュマン教授、ポンズ教授の実験時期が本発明者の予想通りならば、以降の追試における再現性の悪さも当然である。他者による追試実験はしばらく時間経過してから行われたため、前述のような多量の放射線が太陽から注がられる訳もなく異常な出力の常温核融合は得られず、その結果フライシュマン教授らは詐欺師呼ばわりされる状況になってしまったと考えられる。この発見は歴史的にも奇跡的なタイミングで行わられ、この機会を失っていれば、常温核融合現象が注目されるようになるのがいつになったかが全く分からないことから、彼らの発見は奇跡的偉業と讃えられるべきと本発明者は考えている。またここで、宇宙線、特に太陽由来の宇宙線が常温核融合に重要な因子であったことも強調したい。
(【0011】以降は省略されています)
この特許をJ-PlatPat(特許庁公式サイト)で参照する
関連特許
個人
常温核融合装置
7か月前
個人
常温核融合装置
7か月前
個人
常温核融合装置
7か月前
個人
原子力プラント
1か月前
個人
常温核融合装置
20日前
個人
超音波振動子の利用
1か月前
個人
トリチウムの除去装置
8か月前
個人
廃炉方法及び固化材
2か月前
個人
元素変換用固体核融合工程
5か月前
個人
安山岩を利用した放射線消去装置
5か月前
個人
安山岩を利用した放射線消去装置
6か月前
合同会社日本レプトン
電子発生部材
26日前
パテントフレア株式会社
核融合反応促進法
7か月前
個人
金属製軽水炉使用済核燃料増殖原子炉
8か月前
パテントフレア株式会社
核融合反応促進法
7か月前
個人
はんれい岩を利用した放射線消去装置
5か月前
個人
装置、加速器、減速器、核変換システム
7か月前
中国電力株式会社
燃料集合体移動装置
18日前
合同会社日本レプトン
電子発生ペースト
2か月前
株式会社エー・アンド・デイ
X線検査装置
7か月前
株式会社エー・アンド・デイ
X線検査装置
7か月前
個人
ホウ素を用いるミューオン触媒核融合システム
8か月前
個人
核変換システム、加工装置、除去装置、切除装置
7か月前
栗田工業株式会社
放射性廃液の処理方法
2か月前
合同会社日本レプトン
電子発生部材の製造方法
26日前
PDRファーマ株式会社
遮蔽容器
6か月前
個人
過剰熱発生方法
8か月前
個人
加速器屋が考えたTEMモード同軸共鳴器型核融合炉
1か月前
国立大学法人大阪大学
原子力発電装置
6か月前
住友重機械工業株式会社
搬送システム
5か月前
浜松ホトニクス株式会社
電子線照射装置
7か月前
合同会社日本レプトン
電子発生素材及び電子発生部材
26日前
三菱重工業株式会社
原子炉
26日前
三菱重工業株式会社
原子炉
4日前
合同会社日本レプトン
電子発生器具及びその製造方法
2か月前
個人
共振励起型固体核融合装置と元素変換用固体核融合工程
5か月前
続きを見る
他の特許を見る