TOP
|
特許
|
意匠
|
商標
特許ウォッチ
Twitter
他の特許を見る
10個以上の画像は省略されています。
公開番号
2025066428
公報種別
公開特許公報(A)
公開日
2025-04-23
出願番号
2023176032
出願日
2023-10-11
発明の名称
電子線照射装置
出願人
浜松ホトニクス株式会社
代理人
個人
,
個人
,
個人
主分類
G21K
5/00 20060101AFI20250416BHJP(核物理;核工学)
要約
【課題】電子線の照射時に二次的に発生するX線を確実に遮蔽することができる電子線照射装置を提供する。
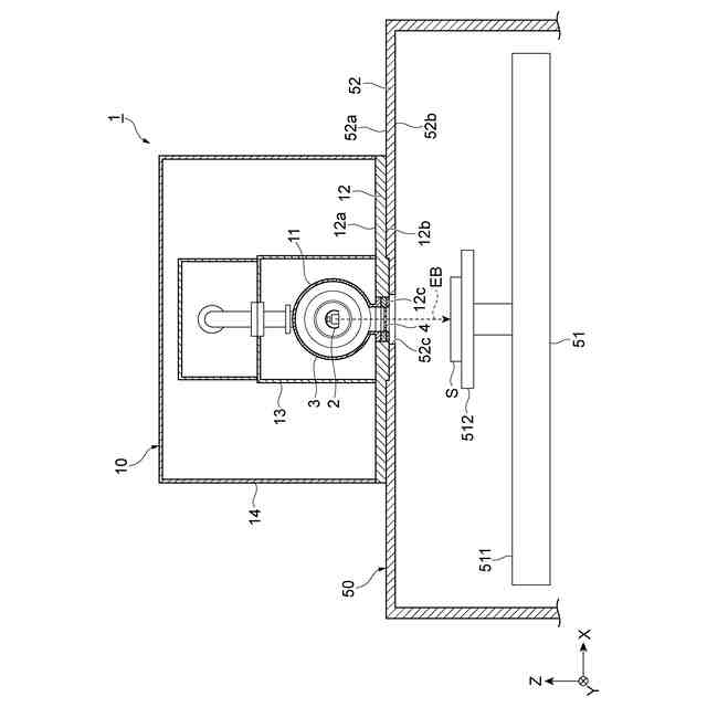
【解決手段】電子線照射装置1は、電子線EBを発生する電子線発生部2、電子線発生部2を収容している筐体3、及び、筐体3に設けられており、電子線EBを出射する窓部4を有する電子線源11と、X線を減衰させる材料によって形成されており、空間を介して筐体3を包囲している第1遮蔽体13と、X線を減衰させる材料によって形成されており、空間を介して第1遮蔽体13を包囲している第2遮蔽体14と、を備える。
【選択図】図1
特許請求の範囲
【請求項1】
電子線を発生する電子線発生部、前記電子線発生部を収容している筐体、及び、前記筐体に設けられており、前記電子線を出射する窓部を有する電子線源と、
X線を減衰させる材料によって形成されており、空間を介して前記筐体を包囲している第1遮蔽体と、
X線を減衰させる材料によって形成されており、空間を介して前記第1遮蔽体を包囲している第2遮蔽体と、を備える、電子線照射装置。
続きを表示(約 900 文字)
【請求項2】
前記電子線源を支持しており、前記窓部の少なくとも一部を収容している開口が形成された壁部を更に備え、
前記第1遮蔽体は、前記壁部上において前記筐体を包囲しており、
前記第2遮蔽体は、前記壁部上において前記第1遮蔽体を包囲している、請求項1に記載の電子線照射装置。
【請求項3】
前記電子線源から外部に延在している配管及び配線を更に備え、
前記第1遮蔽体には、前記配管及び前記配線の少なくとも一つが通っている第1通過口が形成されており、
前記第2遮蔽体には、前記配管及び前記配線の少なくとも一つが通っている第2通過口が形成されており、
前記第1通過口及び前記第2通過口は、互いに見通せない位置関係を有する、請求項1又は2に記載の電子線照射装置。
【請求項4】
前記第2通過口を外側から覆うように前記第2遮蔽体に取り付けられたカバー構造体を更に備え、
前記カバー構造体は、前記配管及び前記配線の少なくとも一つが通っている通過路を有し、
前記通過路は、前記第2通過口から外部に蛇行状に延在している、請求項3に記載の電子線照射装置。
【請求項5】
前記配管のうち前記第1遮蔽体と前記第2遮蔽体との間の領域に位置している部分には、排気ユニットが設けられており、
前記第2遮蔽体のうち前記排気ユニットと向かい合っている部分は、開閉可能である、請求項3に記載の電子線照射装置。
【請求項6】
前記電子線源の一部は、前記第1遮蔽体と前記第2遮蔽体との間の領域に位置しており、
前記第2遮蔽体のうち前記電子線源の前記一部と向かい合っている部分は、開閉可能である、請求項1又は2に記載の電子線照射装置。
【請求項7】
前記電子線源の前記一部は、前記筐体が有する開閉部である、請求項6に記載の電子線照射装置。
【請求項8】
前記電子線源の前記一部は、前記電子線発生部に電力を供給する給電部である、請求項6に記載の電子線照射装置。
発明の詳細な説明
【技術分野】
【0001】
本発明は、電子線照射装置に関する。
続きを表示(約 1,900 文字)
【背景技術】
【0002】
電子線照射装置は、対象物に電子線を照射する装置であり、対象物におけるインクの乾燥、対象物の滅菌、対象物の改質等の用途に利用される。特許文献1には、ウェブ(フィルム状の対象物)を送る送り機構と、送り機構によって送られるウェブに対して電子線を出射する電子線源と、電子線源を収容する遮蔽室と、を備える電子線照射装置が記載されている。
【先行技術文献】
【特許文献】
【0003】
特表2021-520319号公報
【発明の概要】
【発明が解決しようとする課題】
【0004】
電子線照射装置においては、真空引き用の配管、冷媒流通用の配管、電源用の配線等が電子線源から外部に延在していることが一般的である。そのため、特許文献1に記載の電子線照射装置において、電子線の照射時に二次的に発生するX線を確実に遮蔽しようとすると、遮蔽室を大型化せざるを得ない。なお、このようなX線は、電子線源の窓部を構成する各部材、窓部の外側に存在するガス、対象物等と電子線が相互作用することによって発生する。
【0005】
本発明は、電子線の照射時に二次的に発生するX線を確実に遮蔽することができる電子線照射装置を提供することを目的とする。
【課題を解決するための手段】
【0006】
本発明の電子線照射装置は、[1]「電子線を発生する電子線発生部、前記電子線発生部を収容している筐体、及び、前記筐体に設けられており、前記電子線を出射する窓部を有する電子線源と、X線を減衰させる材料によって形成されており、空間を介して前記筐体を包囲している第1遮蔽体と、X線を減衰させる材料によって形成されており、空間を介して前記第1遮蔽体を包囲している第2遮蔽体と、を備える、電子線照射装置」である。
【0007】
上記[1]に記載の電子線照射装置では、電子線源の筐体が第1遮蔽体によって包囲されており、第1遮蔽体が第2遮蔽体によって包囲されている。これにより、電子線源の窓部近傍のX線発生領域に近い位置において第1遮蔽体によってX線を減衰させつつ、配管及び配線等の存在に起因して第1遮蔽体のみによっては減衰させることが困難なX線を第2遮蔽体によって減衰させることができる。よって、上記[1]に記載の電子線照射装置によれば、電子線の照射時に二次的に発生するX線を確実に遮蔽することができる。
【0008】
本発明の電子線照射装置は、[2]「前記電子線源を支持しており、前記窓部の少なくとも一部を収容している開口が形成された壁部を更に備え、前記第1遮蔽体は、前記壁部上において前記筐体を包囲しており、前記第2遮蔽体は、前記壁部上において前記第1遮蔽体を包囲している、上記[1]に記載の電子線照射装置」であってもよい。当該[2]に記載の電子線照射装置によれば、電子線源の窓部の外側の領域において発生したX線を、第1遮蔽体及び第2遮蔽体によって減衰させる前に、壁部によっても減衰させることができるため、電子線の照射時に二次的に発生するX線をより確実に遮蔽することができる。
【0009】
本発明の電子線照射装置は、[3]「前記電子線源から外部に延在している配管及び配線を更に備え、前記第1遮蔽体には、前記配管及び前記配線の少なくとも一つが通っている第1通過口が形成されており、前記第2遮蔽体には、前記配管及び前記配線の少なくとも一つが通っている第2通過口が形成されており、前記第1通過口及び前記第2通過口は、互いに見通せない位置関係を有する、上記[1]又は[2]に記載の電子線照射装置」であってもよい。当該[3]に記載の電子線照射装置によれば、第1遮蔽体の第1通過口を通過したX線が第2遮蔽体の第2通過口に到達しにくくなるため、電子線の照射時におけるX線の遮蔽性を維持しつつ、電子線源から外部に配管及び配線を引き出すことができる。
【0010】
本発明の電子線照射装置は、[4]「前記第2通過口を外側から覆うように前記第2遮蔽体に取り付けられたカバー構造体を更に備え、前記カバー構造体は、前記配管及び前記配線の少なくとも一つが通っている通過路を有し、前記通過路は、前記第2通過口から外部に蛇行状に延在している、上記[3]に記載の電子線照射装置」であってもよい。当該[4]に記載の電子線照射装置によれば、第2遮蔽体の第2通過口に到達したX線が通過路から外部に漏洩しにくくなるため、電子線の照射時におけるX線の遮蔽性を向上させることができる。
(【0011】以降は省略されています)
この特許をJ-PlatPat(特許庁公式サイト)で参照する
関連特許
浜松ホトニクス株式会社
検査装置及び検査方法
3日前
浜松ホトニクス株式会社
光情報取得装置及び光情報取得方法
3日前
浜松ホトニクス株式会社
荷電粒子検出器及び走査型電子顕微鏡
3日前
浜松ホトニクス株式会社
線維状タンパク質又は線維状ペプチドの構造多形を識別する方法及び装置
3日前
浜松ホトニクス株式会社
学習方法、推論モデル、ノイズ低減方法、ノイズ低減システム及びノイズ低減プログラム
3日前
個人
常温核融合装置
7か月前
個人
常温核融合装置
7か月前
個人
常温核融合装置
20日前
個人
原子力プラント
1か月前
個人
常温核融合装置
7か月前
個人
超音波振動子の利用
1か月前
個人
トリチウムの除去装置
8か月前
個人
廃炉方法及び固化材
2か月前
個人
元素変換用固体核融合工程
5か月前
個人
安山岩を利用した放射線消去装置
6か月前
個人
安山岩を利用した放射線消去装置
5か月前
パテントフレア株式会社
核融合反応促進法
7か月前
個人
コンクリート船に乗せた、原子力発電
9か月前
個人
金属製軽水炉使用済核燃料増殖原子炉
8か月前
個人
はんれい岩を利用した放射線消去装置
5か月前
合同会社日本レプトン
電子発生部材
26日前
パテントフレア株式会社
核融合反応促進法
7か月前
個人
装置、加速器、減速器、核変換システム
7か月前
中国電力株式会社
燃料集合体移動装置
18日前
合同会社日本レプトン
電子発生ペースト
2か月前
株式会社エー・アンド・デイ
X線検査装置
7か月前
株式会社エー・アンド・デイ
X線検査装置
7か月前
中部電力株式会社
立ち入り管理装置
10か月前
個人
ホウ素を用いるミューオン触媒核融合システム
8か月前
栗田工業株式会社
放射性廃液の処理方法
2か月前
合同会社日本レプトン
電子発生部材の製造方法
26日前
個人
核変換システム、加工装置、除去装置、切除装置
7か月前
PDRファーマ株式会社
遮蔽容器
6か月前
個人
過剰熱発生方法
8か月前
個人
加速器屋が考えたTEMモード同軸共鳴器型核融合炉
1か月前
国立大学法人大阪大学
原子力発電装置
6か月前
続きを見る
他の特許を見る