TOP
|
特許
|
意匠
|
商標
特許ウォッチ
Twitter
他の特許を見る
公開番号
2025048677
公報種別
公開特許公報(A)
公開日
2025-04-03
出願番号
2023175581
出願日
2023-09-21
発明の名称
トリチウムの除去装置
出願人
個人
代理人
主分類
G21F
9/06 20060101AFI20250326BHJP(核物理;核工学)
要約
【課題】 東京電力福島第一原発で処理水の海洋放出が始まった。トリチウムは多核種除去装置(ALPS)でも除去できない。海水で薄めて海洋放出で漁業が反対している。
【解決の手段】 多核種除去装置から出た水をタンクに入れる。これに有機質を入れて、下からバッキする。10日間継続してバッキする。5日休み、こうすることでトリチウムが糞とともに下に、トリチウムを含む微生物の死がいも,下にたまる。この操作を3回行う。この水槽に石灰凝集剤を投入して、撹拌する。上水と汚泥が分離する。上水は海域に放流する。汚泥は石灰とセメントで固化する。
長い間保管して、肥料に利用する。
特許請求の範囲
【請求項1】
多核種除去(ALPS)で浄化しても、処理水にはトリチウムは除去できない。これを微生物の力で除去する工法である。多核種除去装置から出た水をタンクに入れる。これに有機質をいれて下からバッキする。10日間継続して バッキする。5日間休み、こうすることでトリチウムが糞と共に下に、トリチウムを含む死がいも下にたまる。この操作を3回行う。この水槽に石灰凝集剤を投入して撹拌する。上水と汚泥が分離する。上水は海域に放流する。汚泥は石灰とセメントで固化する。長い間保管して肥料に利用する。
発明の詳細な説明
【技術分野】
【】
トリチウムの除去装置はないといわれている。
【背景技術】
【0001】
東京電力福島第一原発や、その他の原発でもトリチウムは除去しないので、そのまま海域に放出している。
続きを表示(約 750 文字)
【0002】
【発名の開示】
【0003】
微生物によってトリチウムと水を分離する。
【0004】
【課題を解決するための手段】
【0005】
多核種除去装置より放出される水をタンクに入れる。そのタンクに有機質の餌を入れて、下から10日連続してバッキする。それを5日休む、トリチウムを含んだ糞が下に、微生物の死がいも下に溜まる。この操作を三回繰り返すことで。トリチウムと水が分離する。この水槽に石灰凝集剤を入れて撹拌する。上水は海域に放流する。汚泥は石灰とセメントで固化する。長い間保管して、肥料に利用する。80%のトリチウムが除去できると思う。また、空気中に分散するトリチウムもある。
【発名の効果】
【0006】
トリチウムを海域に放出する量を少なくする事ができる。これから原発は今の倍以上増やして、地球温暖化を防止する必要がある。
現在、稼働中の原発でもトリチウムを海域にそのまま放出しているこの技術でトリチウムを少なくして、海域に放流することができ費用も少なくできる。漁業者の風評被害もなくなる。
【 実施例】
【0007】
【図面の簡単な説明】
【0008】
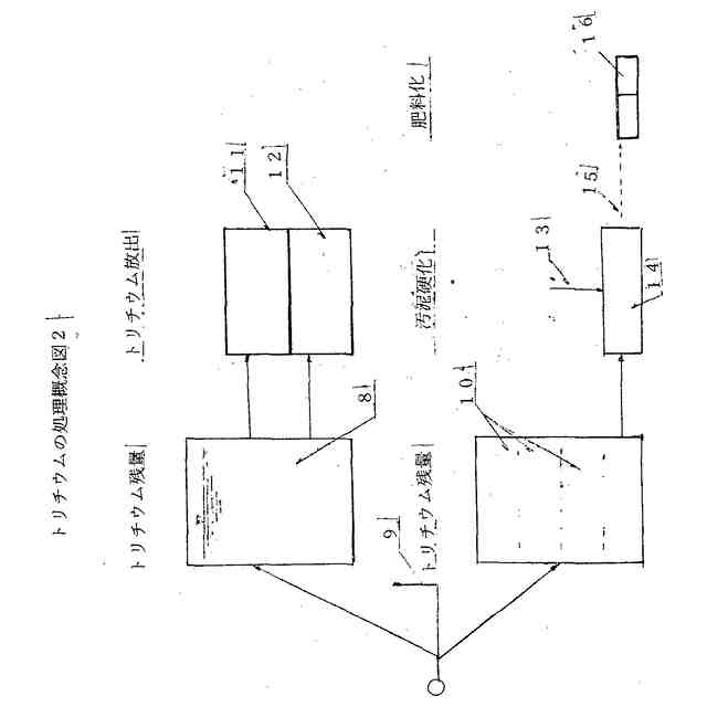
トリチウムの処理概念図1
トリチウムの処理概念図2
【符号の説明】
【】
1タンク 2トリチウム100% 3有機質 4バッキ 5汚泥 6凝集剤 7撹拌機 8トリチウム10%含有 9空気中トリチウム10%含有 10トリチウム80%含有 11海域放出 12炉心冷却水に再利用 13石灰、セメント 14硬化 15 36年保管 16有機質肥料
この特許をJ-PlatPat(特許庁公式サイト)で参照する
関連特許
個人
常温核融合装置
7か月前
個人
常温核融合装置
7か月前
個人
常温核融合装置
7か月前
個人
原子力プラント
1か月前
個人
超音波振動子の利用
1か月前
個人
トリチウムの除去装置
7か月前
個人
廃炉方法及び固化材
1か月前
個人
元素変換用固体核融合工程
5か月前
個人
安山岩を利用した放射線消去装置
4か月前
個人
安山岩を利用した放射線消去装置
5か月前
パテントフレア株式会社
核融合反応促進法
7か月前
パテントフレア株式会社
核融合反応促進法
6か月前
合同会社日本レプトン
電子発生部材
5日前
個人
はんれい岩を利用した放射線消去装置
4か月前
個人
装置、加速器、減速器、核変換システム
7か月前
合同会社日本レプトン
電子発生ペースト
1か月前
株式会社エー・アンド・デイ
X線検査装置
6か月前
株式会社エー・アンド・デイ
X線検査装置
6か月前
個人
ホウ素を用いるミューオン触媒核融合システム
7か月前
栗田工業株式会社
放射性廃液の処理方法
1か月前
PDRファーマ株式会社
遮蔽容器
6か月前
個人
核変換システム、加工装置、除去装置、切除装置
6か月前
合同会社日本レプトン
電子発生部材の製造方法
5日前
個人
加速器屋が考えたTEMモード同軸共鳴器型核融合炉
18日前
国立大学法人大阪大学
原子力発電装置
6か月前
住友重機械工業株式会社
搬送システム
4か月前
個人
共振励起型固体核融合装置と元素変換用固体核融合工程
4か月前
合同会社日本レプトン
電子発生器具及びその製造方法
1か月前
合同会社日本レプトン
電子発生素材及び電子発生部材
5日前
合同会社日本レプトン
電子発生器具及びその製造方法
1か月前
浜松ホトニクス株式会社
電子線照射装置
6か月前
浜松ホトニクス株式会社
電子線照射装置
6か月前
三菱重工業株式会社
原子炉
5日前
個人
過剰熱起電力発生方法
5か月前
日揮株式会社
放射性廃棄物の固化処理方法
7か月前
三菱重工業株式会社
加圧容器
2か月前
続きを見る
他の特許を見る