TOP
|
特許
|
意匠
|
商標
特許ウォッチ
Twitter
他の特許を見る
10個以上の画像は省略されています。
公開番号
2025070435
公報種別
公開特許公報(A)
公開日
2025-05-02
出願番号
2023180739
出願日
2023-10-20
発明の名称
X線検査装置
出願人
株式会社エー・アンド・デイ
代理人
個人
主分類
G21K
5/00 20060101AFI20250424BHJP(核物理;核工学)
要約
【課題】メンテナンス性を下げずにベルトコンベヤの片持ちを解消するX線検査装置を提供する。
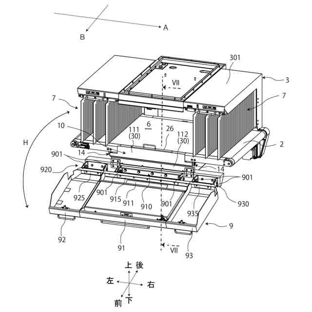
【解決手段】X線検査装置(1)は、検査室(6)を備える装置本体(3)と、検査対象物を搬送方向(A)に搬送するベルトコンベヤ(2)と、前記搬送方向と直交する方向(B)側に設けられた、前記検査室を開閉する開閉扉(9)とを備え、前記開閉扉と前記ベルトコンベヤの間には、前記開閉扉の開閉方向(H)と同方向に、前記開閉扉とは独立して回動する回動部材(10)が設けられ、前記回動部材は、前記ベルトコンベヤを支持する支持部(14)を備えている。これにより、開閉扉9の開閉状態に関係なく、回動部材(10)の開閉によって、ベルトコンベヤ(2)の片持ち/両持ちを行うことができる。
【選択図】図2
特許請求の範囲
【請求項1】
検査室を備える装置本体と、
前記検査室を通過し検査対象物を搬送方向に搬送するベルトコンベヤと、
前記搬送方向と直交する方向側に設けられた、前記検査室を開閉する開閉扉と、を備えたX線検査装置であって、
前記開閉扉と前記ベルトコンベヤの間には、前記開閉扉の開閉方向と同方向に、前記開閉扉とは独立して回動する回動部材が設けられ、
前記回動部材は、前記ベルトコンベヤを支持する支持部を備える
ことを特徴とするX線検査装置。
続きを表示(約 450 文字)
【請求項2】
前記回動部材は前記搬送方向に長尺であり、前記回動部材の前記搬送方向の両端部が前記支持部であることを特徴とする請求項1に記載のX線検査装置。
【請求項3】
前記支持部はベアリングを備え、前記ベルトコンベヤの下面には、前記ベアリングの外輪と接触する水平部が設けられていることを特徴とする請求項2に記載のX線検査装置。
【請求項4】
前記開閉扉および前記回動部材は、それぞれ下部を軸にして、前記ベルトコンベヤより下方にある前記装置本体の底部に固定されていることを特徴とする請求項2に記載のX線検査装置。
【請求項5】
前記回動部材の、前記支持部の間は、前記装置本体の前記底部と前記ベルトコンベヤの間に延在するX線遮蔽板であることを特徴とする請求項4に記載のX線検査装置。
【請求項6】
前記X線遮蔽板は、前記ベルトコンベヤの上面を押さえる押さえ部および取手を備えることを特徴とする請求項5に記載のX線検査装置。
発明の詳細な説明
【技術分野】
【0001】
本発明は、X線検査装置に関する。
続きを表示(約 1,400 文字)
【背景技術】
【0002】
X線検査装置は、検査対象物に対してX線を照射し、検査対象物を透過したX線の検出結果(X線透過画像)に基づいて、異物等を検査する。X線を照射する検査室を構成する装置本体はトンネル形状を備えており、検査対象物はベルトコンベヤによって検査室に運ばれる。装置本体の前面は開閉扉を備えており、開閉扉を開けて検査室を開放し、検査室内のベルトコンベヤのメンテナンス(清掃やベルト交換等)が行えるようになっている。このメンテナンスを行いやすいように、ベルトコンベヤは、開閉扉を備えない装置本体の後面において、片持ちで支持されている。これに対し、特許文献1では、開閉扉の裏面にベルトコンベヤを下支えする支持部を設け、扉を閉めることでベルトコンベヤの片持ちを解消する技術を開示している。
【先行技術文献】
【特許文献】
【0003】
実用新案登録第3112418号公報
【発明の概要】
【発明が解決しようとする課題】
【0004】
しかしながら、特許文献1の技術では、扉を閉めた状態でなければベルトコンベヤを両持ちすることができない。メンテナンスでは、扉を開けて検査室を開放した状態で、ベルトコンベヤのテスト駆動をすることがある。この場合、ベルトコンベヤは片持ちで駆動することとなり、ベルトコンベヤへの負荷が懸念される。
【0005】
本発明はこのような事情に鑑みてなされたものであり、ベルトコンベヤの片持ちを解消し、扉を開けた状態でもベルトコンベヤの両持ちが維持できるX線検査装置を提供することを目的とする。
【課題を解決するための手段】
【0006】
上記課題を解決するために、本発明の第1の態様のX線検査装置は、検査室を備える装置本体と、前記検査室を通過し検査対象物を搬送方向に搬送するベルトコンベヤと、前記搬送方向と直交する方向側に設けられた、前記検査室を開閉する開閉扉と、を備えたX線検査装置であって、前記開閉扉と前記ベルトコンベヤの間には、前記開閉扉の開閉方向と同方向に、前記開閉扉とは独立して回動する回動部材が設けられ、前記回動部材は、前記ベルトコンベヤを支持する支持部を備えることを特徴とする。
【0007】
第2の態様のX線検査装置では、第1の態様において、前記回動部材は前記搬送方向に長尺であり、前記回動部材の前記搬送方向の両端部が前記支持部であるのも好ましい。
【0008】
第3の態様のX線検査装置では、第2の態様において、前記支持部はベアリングを備え、前記ベルトコンベヤの下面には、前記ベアリングの外輪と接触する水平部が設けられているのも好ましい。
【0009】
第4の態様のX線検査装置では、第1~第3のいずれかの態様において、前記開閉扉および前記回動部材は、それぞれ下部を軸にして、前記ベルトコンベヤより下方にある前記装置本体の底部に固定されているのも好ましい。
【0010】
第5の態様のX線検査装置では、第1~第4のいずれかの態様において、前記回動部材の、前記支持部の間は、前記装置本体の前記底部と前記ベルトコンベヤの間に延在するX線遮蔽板であるのも好ましい。
(【0011】以降は省略されています)
この特許をJ-PlatPat(特許庁公式サイト)で参照する
関連特許
個人
常温核融合装置
6か月前
個人
原子力プラント
21日前
個人
常温核融合装置
6か月前
個人
常温核融合装置
6か月前
個人
超音波振動子の利用
21日前
個人
トリチウムの除去装置
7か月前
個人
廃炉方法及び固化材
1か月前
個人
元素変換用固体核融合工程
4か月前
個人
安山岩を利用した放射線消去装置
4か月前
個人
安山岩を利用した放射線消去装置
5か月前
個人
はんれい岩を利用した放射線消去装置
4か月前
パテントフレア株式会社
核融合反応促進法
6か月前
パテントフレア株式会社
核融合反応促進法
6か月前
個人
金属製軽水炉使用済核燃料増殖原子炉
7か月前
個人
装置、加速器、減速器、核変換システム
6か月前
合同会社日本レプトン
電子発生ペースト
1か月前
株式会社エー・アンド・デイ
X線検査装置
6か月前
株式会社エー・アンド・デイ
X線検査装置
6か月前
個人
ホウ素を用いるミューオン触媒核融合システム
7か月前
栗田工業株式会社
放射性廃液の処理方法
1か月前
個人
核変換システム、加工装置、除去装置、切除装置
5か月前
PDRファーマ株式会社
遮蔽容器
5か月前
個人
過剰熱発生方法
7か月前
住友重機械工業株式会社
搬送システム
3か月前
個人
加速器屋が考えたTEMモード同軸共鳴器型核融合炉
5日前
国立大学法人大阪大学
原子力発電装置
5か月前
浜松ホトニクス株式会社
電子線照射装置
6か月前
合同会社日本レプトン
電子発生器具及びその製造方法
1か月前
合同会社日本レプトン
電子発生器具及びその製造方法
1か月前
浜松ホトニクス株式会社
電子線照射装置
6か月前
個人
共振励起型固体核融合装置と元素変換用固体核融合工程
4か月前
三菱重工業株式会社
加圧容器
2か月前
日揮株式会社
放射性廃棄物の固化処理方法
7か月前
個人
過剰熱起電力発生方法
5か月前
株式会社アキュサイト
放射性物質の処理装置および方法
6か月前
株式会社大林組
埋め戻し材、埋め戻し材の製造方法
3か月前
続きを見る
他の特許を見る