TOP
|
特許
|
意匠
|
商標
特許ウォッチ
Twitter
他の特許を見る
公開番号
2025140039
公報種別
公開特許公報(A)
公開日
2025-09-29
出願番号
2024039185
出願日
2024-03-13
発明の名称
廃炉方法及び固化材
出願人
個人
代理人
個人
主分類
G21F
9/30 20060101AFI20250919BHJP(核物理;核工学)
要約
【課題】デブリの処理を迅速化する廃炉方法を提供する。
【解決手段】廃炉方法は以下の工程を含む。
(1)ジェットコンクリートと放射線吸収剤とを混合させた第1の固化剤JC1によって漏水孔を封止する封止工程
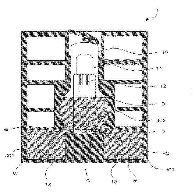
(2)ジェットコンクリートと放射線吸収剤とを混合させた第2の固化剤JC2及び粉砕装置Eの原子炉格納容器10への投入を行う固化剤投入工程
(3)
粉砕
装置Eによって、デブリDの粉砕と、粉砕されたデブリDと第2の固化材JC2との混合を行う粉砕混合工程
【選択図】図1
特許請求の範囲
【請求項1】
以下の工程を含む廃炉方法。
(1)ジェットコンクリートと放射線吸収剤とを混合させ、固化時間が、調製直後から封止箇所への投入完了までにかかる時間T1よりも長く、廃棄水に混ざり合うまでの時間T2より短い時間TS1に設定される第1の固化剤によって漏水孔を封止する封止工程
(2)前記ジェットコンクリートと前記放射線吸収剤とを混合させ、固化時間が、デブリを粉砕する粉砕装置との原子炉格納容器への投入完了までの時間T3と、時間T3の経過後から粉砕混合工程の完了までの時間T4と、を加算した時間T5よりも長く、粉砕されたデブリが下方に沈降するまでにかかる時間T6よりも短い時間TS2に設定される第2の固化剤及び前記粉砕装置の原子炉格納容器への投入を行う固化剤投入工程
(3)前記粉剤装置によって、前記デブリの粉砕と、粉砕された前記デブリと前記第2の固化材との混合を行う粉砕混合工程
(4)前記第2の固化材の固化までの静置を行う静置工程
続きを表示(約 62 文字)
【請求項2】
請求項1に記載の第1の固化剤。
【請求項3】
請求項1に記載の第2の固化剤。
発明の詳細な説明
【技術分野】
【0001】
本発明は、廃炉方法に関する。
続きを表示(約 2,000 文字)
【背景技術】
【0002】
原子力発電所等に事故が起きた場合、核燃料が溶融して落下し、さらに冷えて固化したデブリが生じることがある。従来は、このデブリの除去に多大な時間と費用と労力が費やされてきた(例えば、非特許文献1。)。加えて、デブリの除去作業にはオペレータの被爆の危険がある。
【先行技術文献】
【特許文献】
【0003】
「燃料デブリ取り出しの状況」、https://www.tepco.co.jp/decommission/progress/retrieval/
【発明の概要】
【発明が解決しようとする課題】
【0004】
本発明が解決しようとする課題は、デブリの処理を迅速化する廃炉方法を提供することである。
【0005】
なお、上記の「背景技術」、および「発明が解決しようとする課題」に記載した内容は、本発明をするに至った契機(きっかけ)を示すものであり、本発明の技術的範囲を限定するものではなく、また、本発明の技術的範囲の限定解釈を許容するものでもない(平成17年(行ケ)第10042号、及び出願日における特許庁審査基準第II部第2章 第2節3.2.1参照。)。
【課題を解決するための手段】
【0006】
本発明は、以下の工程を含む廃炉方法:
(1)ジェットコンクリートと放射線吸収剤とを混合させ、固化時間が、第1の固化材JC1の調製直後から封止箇所への投入完了までにかかる時間T1よりも長く、第1の固化剤JC1が廃棄水DWに混ざり合うまでの時間T2より短い時間TS1に設定される第1の固化剤JC1によって漏水孔を封止する封止工程
(2)ジェットコンクリートと放射線吸収剤とを混合させ、固化時間が、第2の固化剤JC2及び粉砕装置Eの原子炉格納容器10への投入完了までの時間T3と、時間T3の経過後から粉砕混合工程の完了までの時間T4と、を加算した時間T5よりも長く、粉砕されたデブリDが下方に沈降するまでにかかる時間T6よりも短い時間TS2に設定される第2の固化剤JC2及び粉砕装置Eの原子炉格納容器10への投入を行う固化剤投入工程
(3)粉剤装置Eによって、デブリDの粉砕と粉砕されたデブリD第2の固化材JC2との混合を行う粉砕混合工程
(4)第2の固化材JC2の固化までの静置を行う静置工程
を提供する。
【発明の効果】
【0007】
本発明によれば、デブリの処理を迅速化する廃炉方法を提供することができる。
【図面の簡単な説明】
【0008】
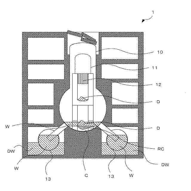
核燃料の溶融事故が起きた原子炉1を模式的に示した断面図である。
封止工程を示す図である。
固化剤投入工程を示す図である。
粉砕混合工程を示す図である。
【発明を実施するための形態】
【0009】
以下、本発明の一実施形態に係る廃炉方法を、図面を参照しながら詳細に説明する。
(基本的な考え方)
従来、デブリを原子炉から取り出し、処理して廃棄することが行われてきた。加えて、核燃料が溶融するような事故が起きた原子炉は再利用ができず、解体処理して廃棄されていた。また、このデブリ取り出し作業の間には大量の廃棄水が生じ、この核物質を含む廃棄水の処理もまた問題となってきた。
上述のように、事故が起きた原子炉は全体が廃棄され、再利用される物はほとんどない。そうすると、わざわざ分離処理し、それぞれを廃棄しても、結局管理施設に搬入されて放射線量が低下するまで放置されるのであるから、デブリやその他の部材を分離する必要はあまりないと言える。
本発明においては、事故が合起きた原子炉をデブリごと固化し、そのまま放射線量が低下するまで静置する方法を提供する。
【0010】
(廃炉方法)
(原子炉とデブリの構造)
図1は、核燃料の溶融事故が起きた原子炉1を模式的に示した断面図である。図1に示すように、原子炉1は、原子炉格納容器10と、原子炉格納容器10の内部に収容され、核燃料12を内部に有する圧力容器11と、原子炉格納容器10の内部と連通する圧力抑制室13と、を備える。
核燃料溶融事故が起きた場合、核燃料12の冷却が阻害され、高温になった核燃料12は核燃料の容器等とともに溶融して自重により落下し、冷えてデブリDが生成される。デブリDは、原子炉格納容器10の底部にも溶け落ちて固化することもある。
この場合、原子炉格納容器10の一部も溶融され、穴が開いて圧力抑制室13の外部にまで冷却水Wが漏れ出て廃棄水DWを生じさせる。また、圧力容器11を支える底部の材質Cを劣化させ、劣化材質RCが生成させる。
(【0011】以降は省略されています)
この特許をJ-PlatPat(特許庁公式サイト)で参照する
関連特許
個人
常温核融合装置
6か月前
個人
常温核融合装置
6か月前
個人
常温核融合装置
6か月前
個人
原子力プラント
13日前
個人
超音波振動子の利用
13日前
個人
トリチウムの除去装置
6か月前
個人
元素変換用固体核融合工程
4か月前
個人
廃炉方法及び固化材
28日前
個人
安山岩を利用した放射線消去装置
5か月前
個人
安山岩を利用した放射線消去装置
4か月前
パテントフレア株式会社
核融合反応促進法
5か月前
パテントフレア株式会社
核融合反応促進法
6か月前
個人
はんれい岩を利用した放射線消去装置
4か月前
個人
金属製軽水炉使用済核燃料増殖原子炉
7か月前
個人
装置、加速器、減速器、核変換システム
6か月前
合同会社日本レプトン
電子発生ペースト
1か月前
株式会社エー・アンド・デイ
X線検査装置
5か月前
株式会社エー・アンド・デイ
X線検査装置
5か月前
個人
ホウ素を用いるミューオン触媒核融合システム
7か月前
個人
核変換システム、加工装置、除去装置、切除装置
5か月前
PDRファーマ株式会社
遮蔽容器
5か月前
栗田工業株式会社
放射性廃液の処理方法
28日前
国立大学法人大阪大学
原子力発電装置
5か月前
住友重機械工業株式会社
搬送システム
3か月前
合同会社日本レプトン
電子発生器具及びその製造方法
1か月前
合同会社日本レプトン
電子発生器具及びその製造方法
1か月前
浜松ホトニクス株式会社
電子線照射装置
6か月前
浜松ホトニクス株式会社
電子線照射装置
6か月前
個人
共振励起型固体核融合装置と元素変換用固体核融合工程
4か月前
個人
過剰熱起電力発生方法
4か月前
三菱重工業株式会社
加圧容器
1か月前
株式会社アキュサイト
放射性物質の処理装置および方法
6か月前
日揮株式会社
放射性廃棄物の固化処理方法
6か月前
清水建設株式会社
放射線遮蔽壁
6か月前
合同会社日本レプトン
物質活性化素材及び物質活性化部材
6か月前
株式会社イトーキ
放射線遮蔽扉
3か月前
続きを見る
他の特許を見る