TOP
|
特許
|
意匠
|
商標
特許ウォッチ
Twitter
他の特許を見る
10個以上の画像は省略されています。
公開番号
2025138576
公報種別
公開特許公報(A)
公開日
2025-09-25
出願番号
2025019666
出願日
2025-02-09
発明の名称
電子発生器具及びその製造方法
出願人
合同会社日本レプトン
代理人
個人
主分類
G21H
5/00 20060101AFI20250917BHJP(核物理;核工学)
要約
【課題】効率よく電子を放出し、より一層大きな活性化効果を発揮させることができる電子発生器具及びその製造方法を提供する。
【解決手段】長尺状の電子供給対象物に設置される電子発生器具であって、カバー体と、前記カバー体の内部に配置され、円筒状に形成される電子発生部材とを備えており、前記円筒状の電子発生部材の内部に前記電子供給対象物を挿通可能に構成されることを特徴とする電子発生器具
【選択図】図1
特許請求の範囲
【請求項1】
長尺状の電子供給対象物に設置される電子発生器具であって、
カバー体と、
前記カバー体の内部に配置され、円筒状に形成される電子発生部材とを備えており、
前記円筒状の電子発生部材の内部に前記電子供給対象物を挿通可能に構成されることを特徴とする電子発生器具。
続きを表示(約 990 文字)
【請求項2】
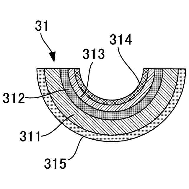
電子発生部材は、円筒状の基台部と、前記基台部の内周面側に配置される電子発生層と、前記電子発生層上に配置される電極層とを備えており、
前記電子発生層は、放射性物質を含有する天然鉱物の粉体と、前記天然鉱物から放出されるアルファ線により電子を発生させる電子発生物質の粉体とを備えており、
前記電子発生物質の粉体は、二酸化チタンの粉体を少なくとも含むことを特徴とする請求項1に記載の電子発生器具。
【請求項3】
前記電子発生層と前記電極層との間に、金属マグネシウム層を更に備えることを特徴とする請求項2に記載の電子発生器具。
【請求項4】
前記基台部は、フェライトから形成されていることを特徴とする請求項2に記載の電子発生器具。
【請求項5】
前記基台部の外周面は、絶縁材料によって被覆されていることを特徴とする請求項2に記載の電子発生器具。
【請求項6】
前記電子発生層と前記電極層とは、導電性接着剤を介して互いに張着されていることを特徴とする請求項2に記載の電子発生器具。
【請求項7】
前記電子発生層、前記金属マグネシウム層、及び、前記電極層は、導電性接着剤を介して互いに張着されていることを特徴とする請求項3に記載の電子発生器具。
【請求項8】
前記電子発生層は、金属バインダーを更に含むことを特徴とする請求項2に記載の電子発生器具。
【請求項9】
前記金属バインダーは、亜鉛であることを特徴とする請求項8に記載の電子発生器具。
【請求項10】
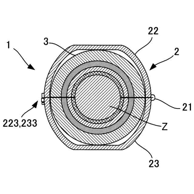
前記カバー体は、ヒンジを介して互いに開閉自在に支持された一対のケース片を有し、長尺状の前記電子供給対象物を導出する導出孔が両端部に設けられており、
前記電子発生部材は、前記各ケース片に収容される一対の半円筒状の電子発生半部材を備えており、前記一対の半円筒状の電子発生部材を組み合わせることにより円筒状に形成され、その内側に前記電子供給対象物を収容可能に構成されており、
長尺状の電子供給対象物の長手方向に直交する方向を挟持方向として挟持可能に構成されることを特徴とする請求項1から9のいずれかに記載の電子発生器具。
(【請求項11】以降は省略されています)
発明の詳細な説明
【技術分野】
【0001】
本発明は、電子発生器具及びその製造方法に関する。
続きを表示(約 1,300 文字)
【背景技術】
【0002】
近年、電子を利用して様々な活性化効果を得ようとする試みがなされている。例えば、自動車等の車両が走行すると、空気が車両に摩擦接触することで車両に静電気が発生して、電荷(一般的には正の電荷)が車体等に帯電することになり、エンジンの燃焼効率の低下やピストンの稼働の阻害を引き起こすが、この車両に負の電荷を有する電子を付与することにより、エンジン性能が活性化され、エンジンの燃焼効率が向上し、ピストン稼働の阻害が防止される。
【0003】
また、冷蔵庫やエアコンの冷却性能を向上させるためには、エバポレータにおける冷媒の熱交換効率を向上させる必要があるが、冷却装置に用いる冷媒の通路であるエバポレータ、又はその内部を冷媒が流れる管路を介して電子を供給することにより、電子が冷媒に作用し、冷媒の活性化を促進させることが可能となり、これにより、エバポレータや管路の金属内壁面に、活性化した冷媒の膜が密着するので、エバポレータや管路の金属内壁面と冷媒との間の熱交換効率を向上させることができる。
【発明の概要】
【発明が解決しようとする課題】
【0004】
上述のように、電子を様々な物体や物質に供給することで、その物体自体を活性化し、又は、物質を備える装置等を活性化させることが可能となるが、効率よく電子を放出し、より一層大きな活性化効果を発揮させることができる電子発生器具の開発が望まれている。
本発明は、このような問題を解決するためになされたものであって、効率よく電子を放出し、より一層大きな活性化効果を発揮させることができる電子発生器具及びその製造方法を提供することを目的とする。
【課題を解決するための手段】
【0005】
本発明の前記目的は、長尺状の電子供給対象物に設置される電子発生器具であって、カバー体と、前記カバー体の内部に配置され、円筒状に形成される電子発生部材とを備えており、前記円筒状の電子発生部材の内部に前記電子供給対象物を挿通可能に構成されることを特徴とする電子発生器具により達成される。
【0006】
また、上記電子発生器具に関し、電子発生部材は、円筒状の基台部と、前記基台部の内周面側に配置される電子発生層と、前記電子発生層上に配置される電極層とを備えており、前記電子発生層は、放射性物質を含有する天然鉱物の粉体と、前記天然鉱物から放出されるアルファ線により電子を発生させる電子発生物質の粉体とを備えており、前記電子発生物質の粉体は、二酸化チタンの粉体を少なくとも含むことが好ましい。
【0007】
また、前記電子発生層と前記電極層との間に、金属マグネシウム層を更に備えることが好ましい。
【0008】
また、前記基台部は、フェライトから形成されていることが好ましい。
【0009】
また、前記基台部の外周面は、絶縁材料によって被覆されていることが好ましい。
【0010】
また、前記電子発生層と前記電極層とは、導電性接着剤を介して互いに張着されていることが好ましい。
(【0011】以降は省略されています)
この特許をJ-PlatPat(特許庁公式サイト)で参照する
関連特許
合同会社日本レプトン
電子発生ペースト
1か月前
個人
常温核融合装置
6か月前
個人
原子力プラント
24日前
個人
常温核融合装置
6か月前
個人
常温核融合装置
6か月前
個人
超音波振動子の利用
24日前
個人
トリチウムの除去装置
7か月前
個人
廃炉方法及び固化材
1か月前
個人
元素変換用固体核融合工程
4か月前
個人
安山岩を利用した放射線消去装置
4か月前
個人
安山岩を利用した放射線消去装置
5か月前
パテントフレア株式会社
核融合反応促進法
6か月前
パテントフレア株式会社
核融合反応促進法
6か月前
個人
コンクリート船に乗せた、原子力発電
8か月前
個人
はんれい岩を利用した放射線消去装置
4か月前
個人
金属製軽水炉使用済核燃料増殖原子炉
7か月前
個人
装置、加速器、減速器、核変換システム
6か月前
合同会社日本レプトン
電子発生ペースト
1か月前
株式会社エー・アンド・デイ
X線検査装置
6か月前
株式会社エー・アンド・デイ
X線検査装置
6か月前
個人
ホウ素を用いるミューオン触媒核融合システム
7か月前
PDRファーマ株式会社
遮蔽容器
5か月前
個人
核変換システム、加工装置、除去装置、切除装置
6か月前
栗田工業株式会社
放射性廃液の処理方法
1か月前
個人
過剰熱発生方法
7か月前
住友重機械工業株式会社
搬送システム
4か月前
株式会社シェルタージャパン
放射線遮蔽構造
8か月前
個人
加速器屋が考えたTEMモード同軸共鳴器型核融合炉
8日前
国立大学法人大阪大学
原子力発電装置
5か月前
合同会社日本レプトン
電子発生器具及びその製造方法
1か月前
浜松ホトニクス株式会社
電子線照射装置
6か月前
合同会社日本レプトン
電子発生器具及びその製造方法
1か月前
個人
共振励起型固体核融合装置と元素変換用固体核融合工程
4か月前
浜松ホトニクス株式会社
電子線照射装置
6か月前
日揮株式会社
放射性廃棄物の固化処理方法
7か月前
株式会社アキュサイト
放射性物質の処理装置および方法
6か月前
続きを見る
他の特許を見る