TOP
|
特許
|
意匠
|
商標
特許ウォッチ
Twitter
他の特許を見る
公開番号
2025077607
公報種別
公開特許公報(A)
公開日
2025-05-19
出願番号
2023189926
出願日
2023-11-07
発明の名称
レーザー除染装置による除染方法
出願人
株式会社安藤・間
代理人
個人
,
個人
,
個人
主分類
G21F
9/28 20060101AFI20250512BHJP(核物理;核工学)
要約
【課題】 構造物の入隅等のコーナー部での除染作業を、除染装置の光学系と動作の簡易設定で実現する。
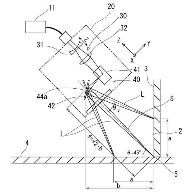
【解決手段】 レーザー除染装置のレーザーヘッド20から出射されたレーザー光Lを、照射対象部材の直交する壁部3と床部4と入隅部の接合点5に向けて照射角度45°で表面に照射して除染を行う除染方法である。この除染方法において、レーザー光Lを偏向走査させた際に変化する照射角度θvに応じて、レーザー光Lのレーザーヘッド20の光学系30内での焦点距離を調整して、レーザー光Lを壁部3,床部4の表面で合焦させてレーザー光Lを照射して部材表面を切削して除染を行う。
【選択図】 図3
特許請求の範囲
【請求項1】
レーザー除染装置のレーザーヘッドから出射されたレーザー光を、直交する2面が内向きに面した角部に向けて所定の照射角度で除染対象表面に照射して除染を行う除染方法において、
前記レーザー光を偏向走査させた際に変化する前記照射角度に応じて、前記レーザー光の光学系内での焦点距離を調整して、前記レーザー光を前記除染対象表面で合焦させて前記除染対象表面の除染を行うことを特徴とするレーザー除染装置による除染方法。
続きを表示(約 410 文字)
【請求項2】
前記光学系を含む前記レーザーヘッドを固定した状態で、前記レーザー光の偏向走査により前記角部の近傍の除染対象範囲を薄層に切削する請求項1に記載のレーザー除染装置による除染方法。
【請求項3】
前記レーザー光は、初期の照射角度が前記直交する面と45°をなし、前記除染対象表面の範囲にわたる前記照射角度の変化に応じて前記光学系の焦点距離が調整される請求項1または請求項2に記載のレーザー除染装置による除染方法。
【請求項4】
前記光学系内での焦点距離の調整は、ガルバノスキャナーによる前記レーザー光の偏向走査を含む請求項1に記載のレーザー除染装置による除染方法。
【請求項5】
前記角部の近傍の除染対象範囲は、請求項2に記載された切削が完了した毎に、前記レーザーヘッドを前記角部の延長方向に沿って移動させることで帯状に切削されるレーザー除染装置による除染方法。
発明の詳細な説明
【技術分野】
【0001】
本発明はレーザー除染装置による除染方法に係り、構造物の入隅等のコーナー部での除染作業を、除染装置の光学系と動作の簡易設定で実現するレーザー除染装置による除染方法に関する。
続きを表示(約 1,500 文字)
【背景技術】
【0002】
原子力施設や放射線利用施設の廃止措置に沿う原子炉、再処理工場、加速器などの施設の解体において、放射性同位元素(以下、RIと略記する。)に汚染された構造物自体、解体によって発生した部材、部品などを確実かつ効率的に除染する装置として、レーザー光を利用した除染装置が提案されている。
【0003】
特許文献1に開示されたレーザー除染装置では、加工レーザー光の光路に沿って照射される測定用レーザー光を用いた距離計を有する表面形状測定装置が備えられている。この表面形状測定装置によって得られた表面形状データをもとに部材表面位置までの合焦距離が焦点位置制御部にフィードバックされ、XY軸に関して制御可能なミラーを備えたガルバノスキャナーで加工レーザー光の走査が行われるようになっている。
【0004】
特許文献1に開示された装置では、特許文献1中の図1、図2に示されたような凹凸がある表面形状に沿った加工レーザー光の走査が可能であるが、装置の機器構成、システム構成が複雑であり、装置が高額となり、また現状の技術レベルでは現実性に欠けるという問題点がある。
【0005】
そこで、出願人は除染対象となる構造物や部材の形状特性を考慮し、平面形状が多いコンクリート構造物や、鋼構造物の鋼板や鋼材の部材表面を効率的に除染することができるレーザー除染技術を提案している(非特許文献1)。
【先行技術文献】
【特許文献】
【0006】
特開2013-108977号公報
【非特許文献】
【0007】
田中聖一朗、他3名、“遠隔操作式レーザー除染技術の開発”、[online]、令和4年2月28日、安藤ハザマ研究年報Vol.9 2021、[令和5年9月20日検索]、インターネット<https://www.ad-hzm.co.jp/trr/2021/jp/papers.html>
【発明の概要】
【発明が解決しようとする課題】
【0008】
非特許文献1に開示された除染技術によれば、部材の平板状の部位を複数の除染エリアに分割し、台車に搭載された除染装置によって個々の除染エリアを効率よく順次除染できることが確認された。しかし、実構造物においては壁面の立ち上がり部や入隅部、部材同士の直交接合部等が存在する。これらの部位に付着、浸透したRIの除染を行うためには、各部位の除染を行うのに併せて除染装置のレーザーヘッドの向きを変更する工程が必要となり、除染効率が低下する。
【0009】
そこで、本発明の目的は上述した従来の技術が有する問題点を解消し、入隅部等の2部材の面がほぼ直角をなしてできる角部(以下、コーナー部と総称する。)近傍を効率よくレーザー除染できるようにしたレーザー除染装置による除染方法を提供することにある。
【課題を解決するための手段】
【0010】
本発明のレーザー除染装置による除染方法は、レーザー除染装置のレーザーヘッドから出射されたレーザー光を、直交する2面が内向きに面した角部に向けて所定の照射角度で除染対象表面に照射して除染を行う除染方法において、前記レーザー光を偏向走査させた際に変化する前記照射角度に応じて、前記レーザー光の光学系内での焦点距離を調整して、前記レーザー光を前記除染対象表面で合焦させて前記除染対象表面の除染を行うことを特徴とする。
(【0011】以降は省略されています)
この特許をJ-PlatPat(特許庁公式サイト)で参照する
関連特許
株式会社安藤・間
アルカリ金属イオンの抽出方法
4日前
株式会社安藤・間
混和材料、セメント組成物、セメント硬化体およびセメント硬化体の製造方法
21日前
株式会社安藤・間
セメント硬化体形成用組成物及びその製造方法、並びに、セメント硬化体及びその製造方法
10日前
株式会社安藤・間
セメント組成物への添加用の混和材、セメント組成物、セメント硬化体およびセメント硬化体からの有害元素の溶出抑制方法
1か月前
個人
常温核融合装置
6か月前
個人
常温核融合装置
6か月前
個人
常温核融合装置
6か月前
個人
原子力プラント
6日前
個人
超音波振動子の利用
6日前
個人
トリチウムの除去装置
6か月前
個人
廃炉方法及び固化材
21日前
個人
元素変換用固体核融合工程
4か月前
個人
安山岩を利用した放射線消去装置
3か月前
個人
安山岩を利用した放射線消去装置
5か月前
パテントフレア株式会社
核融合反応促進法
5か月前
個人
金属製軽水炉使用済核燃料増殖原子炉
6か月前
パテントフレア株式会社
核融合反応促進法
6か月前
個人
コンクリート船に乗せた、原子力発電
7か月前
個人
はんれい岩を利用した放射線消去装置
3か月前
個人
装置、加速器、減速器、核変換システム
6か月前
合同会社日本レプトン
電子発生ペースト
25日前
株式会社エー・アンド・デイ
X線検査装置
5か月前
株式会社エー・アンド・デイ
X線検査装置
5か月前
個人
ホウ素を用いるミューオン触媒核融合システム
6か月前
栗田工業株式会社
放射性廃液の処理方法
21日前
個人
核変換システム、加工装置、除去装置、切除装置
5か月前
PDRファーマ株式会社
遮蔽容器
5か月前
個人
過剰熱発生方法
7か月前
国立大学法人大阪大学
原子力発電装置
5か月前
株式会社シェルタージャパン
放射線遮蔽構造
7か月前
住友重機械工業株式会社
搬送システム
3か月前
個人
共振励起型固体核融合装置と元素変換用固体核融合工程
3か月前
合同会社日本レプトン
電子発生器具及びその製造方法
25日前
合同会社日本レプトン
電子発生器具及びその製造方法
25日前
浜松ホトニクス株式会社
電子線照射装置
6か月前
浜松ホトニクス株式会社
電子線照射装置
6か月前
続きを見る
他の特許を見る