TOP
|
特許
|
意匠
|
商標
特許ウォッチ
Twitter
他の特許を見る
公開番号
2025172533
公報種別
公開特許公報(A)
公開日
2025-11-26
出願番号
2024078087
出願日
2024-05-13
発明の名称
油圧防振装置および構造物の支持構造
出願人
三菱重工業株式会社
,
三和テッキ株式会社
代理人
弁理士法人酒井国際特許事務所
主分類
F16F
9/32 20060101AFI20251118BHJP(機械要素または単位;機械または装置の効果的機能を生じ維持するための一般的手段)
要約
【課題】油圧防振装置および構造物の支持構造において、装置の小型化を図る。
【解決手段】中空形状をなして内部に油が充填されるシリンダと、シリンダの内部で移動が自在であって2つの油圧室を区画するピストンと、一端部がピストンに連結されて他端部がシリンダの外部に突出するロッドと、2つの油圧室を連通する連通路と、ロッドの先端部が構造物に接触して押圧する方向にピストンを付勢する付勢部材と、を備える。
【選択図】図3
特許請求の範囲
【請求項1】
中空形状をなして内部に油が充填されるシリンダと、
前記シリンダの内部で移動が自在であって2つの油圧室を区画するピストンと、
一端部が前記ピストンに連結されて他端部が前記シリンダの外部に突出するロッドと、
前記2つの油圧室を連通する連通路と、
前記ロッドの先端部が構造物に接触して押圧する方向に前記ピストンを付勢する付勢部材と、
を備える油圧防振装置。
続きを表示(約 320 文字)
【請求項2】
前記ピストンは凹部が設けられ、前記凹部に前記付勢部材としての圧縮コイルばねが配置される、
請求項1に記載の油圧防振装置。
【請求項3】
前記連通路は、過流防止弁が配置される、
請求項1に記載の油圧防振装置。
【請求項4】
前記ロッドは、前記他端部に球面座が連結される、
請求項1から請求項3のいずれか一項に記載の油圧防振装置。
【請求項5】
壁部に隣接して配置される構造物の支持構造であって、
請求項1に記載の油圧防振装置は、前記シリンダが前記壁部に連結され、前記ロッドの他端部が前記構造物を押圧する、
構造物の支持構造。
発明の詳細な説明
【技術分野】
【0001】
本開示は、油圧防振装置および構造物の支持構造に関するものである。
続きを表示(約 1,300 文字)
【背景技術】
【0002】
原子力発電プラントにて、原子炉格納容器の内部に原子炉や蒸気発生器が格納される。蒸気発生器等の機器は、鉛直方向における複数の位置で部屋の壁部に支持装置により支持される。これらの支持構造にあっては、油圧防振器(スナッバーともいう)等が使用されており、熱膨張変位などの低速変位に対しては追従して拘束せず、地震変位などの高速変位に対しては追従せず拘束する。従来の油圧防振器としては、下記特許文献1に記載されたものがある。
【先行技術文献】
【特許文献】
【0003】
特開平10-246207号公報
【発明の概要】
【発明が解決しようとする課題】
【0004】
従来の油圧防振器は、長手方向の一端部が部屋の壁部に連結され、他端部が構造物としての蒸気発生器等の機器に連結される。蒸気発生器等の機器は、所定の大きさの部屋に配置され、壁部との間に空間が確保されている。支持装置は、部屋の壁部と蒸気発生器との間に設けられる狭い空間部に配置される。そのため、合理性の観点から、支持装置の小型化が望まれている。
【0005】
本開示は、上述した課題を解決するものであり、装置の小型化を図る油圧防振装置および構造物の支持構造を提供することを目的とする。
【課題を解決するための手段】
【0006】
上記の目的を達成するための本開示の油圧防振装置は、中空形状をなして内部に油が充填されるシリンダと、前記シリンダの内部で移動が自在であって2つの油圧室を区画するピストンと、一端部が前記ピストンに連結されて他端部が前記シリンダの外部に突出するロッドと、前記2つの油圧室を連通する連通路と、前記ロッドの先端部が構造物に接触して押圧する方向に前記ピストンを付勢する付勢部材と、を備える。
【0007】
また、本開示の構造物の支持構造は、壁部に隣接して配置される構造物の支持構造であって、前記油圧防振装置は、前記シリンダが前記壁部に連結され、前記ロッドの他端部が前記構造物を押圧する。
【発明の効果】
【0008】
本開示の油圧防振装置および構造物の支持構造によれば、装置の小型化を図ることができる。
【図面の簡単な説明】
【0009】
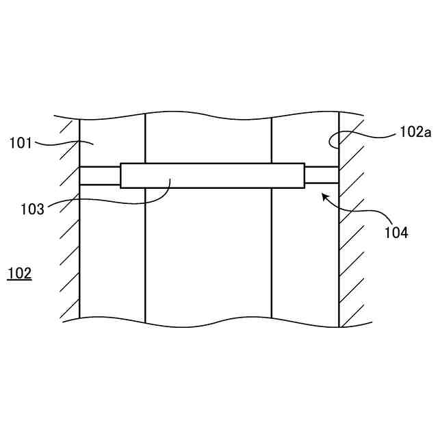
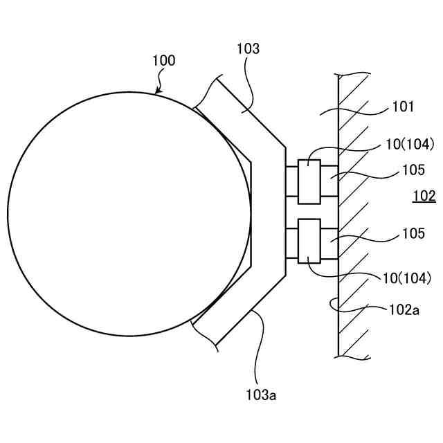
図1は、本実施形態の油圧防振装置による構造物の支持構造を表す概略正面図である。
図2は、油圧防振装置による構造物の支持構造を表す概略平面図である。
図3は、本実施形態の油圧防振装置を表す断面図である。
図4は、本実施形態の油圧防振装置の変形例を表す要部断面図である。
【発明を実施するための形態】
【0010】
以下に図面を参照して、本開示の好適な実施形態を詳細に説明する。なお、この実施形態により本開示が限定されるものではなく、また、実施形態が複数ある場合には、各実施形態を組み合わせて構成するものも含むものである。また、実施形態における構成要素には、当業者が容易に想定できるもの、実質的に同一のもの、いわゆる均等の範囲のものが含まれる。
(【0011】以降は省略されています)
この特許をJ-PlatPat(特許庁公式サイト)で参照する
関連特許
個人
留め具
1か月前
個人
鍋虫ねじ
3か月前
個人
紛体用仕切弁
3か月前
個人
回転伝達機構
3か月前
個人
差動歯車用歯形
5か月前
個人
ジョイント
2か月前
個人
給排気装置
1か月前
個人
地震の揺れ回避装置
4か月前
株式会社不二工機
電磁弁
4か月前
株式会社不二工機
電磁弁
6か月前
個人
ナット
21日前
個人
ナット
2か月前
個人
ゲート弁バルブ
6日前
個人
吐出量監視装置
2か月前
カヤバ株式会社
緩衝器
1か月前
カヤバ株式会社
緩衝器
4か月前
カヤバ株式会社
緩衝器
4か月前
カヤバ株式会社
ダンパ
5か月前
カヤバ株式会社
ダンパ
5か月前
兼工業株式会社
バルブ
22日前
柿沼金属精機株式会社
分岐管
3か月前
個人
固着具と固着具の固定方法
6か月前
株式会社タカギ
水栓装置
3か月前
株式会社ニフコ
クリップ
6日前
株式会社三五
ドライブシャフト
1か月前
株式会社奥村組
制振機構
1か月前
株式会社不二工機
電磁弁
3か月前
株式会社奥村組
制振機構
1か月前
株式会社不二工機
電動弁
1か月前
個人
固着具と固着具の固定方法
6か月前
アズビル株式会社
回転弁
2か月前
株式会社ノーリツ
分配弁
1か月前
株式会社ニフコ
クリップ
1か月前
株式会社フジキン
ボールバルブ
5か月前
個人
固着具と固着具の固定方法
6か月前
株式会社有恒商会
伸縮継手
4か月前
続きを見る
他の特許を見る