TOP
|
特許
|
意匠
|
商標
特許ウォッチ
Twitter
他の特許を見る
公開番号
2025174210
公報種別
公開特許公報(A)
公開日
2025-11-28
出願番号
2024080350
出願日
2024-05-16
発明の名称
ダスト除去システムおよびダスト除去方法
出願人
三菱重工業株式会社
代理人
SSIP弁理士法人
主分類
F23J
3/00 20060101AFI20251120BHJP(燃焼装置;燃焼方法)
要約
【課題】燃焼器内にあるダストをより確実に除去できるダスト除去システムおよびダスト除去方法を提供する。
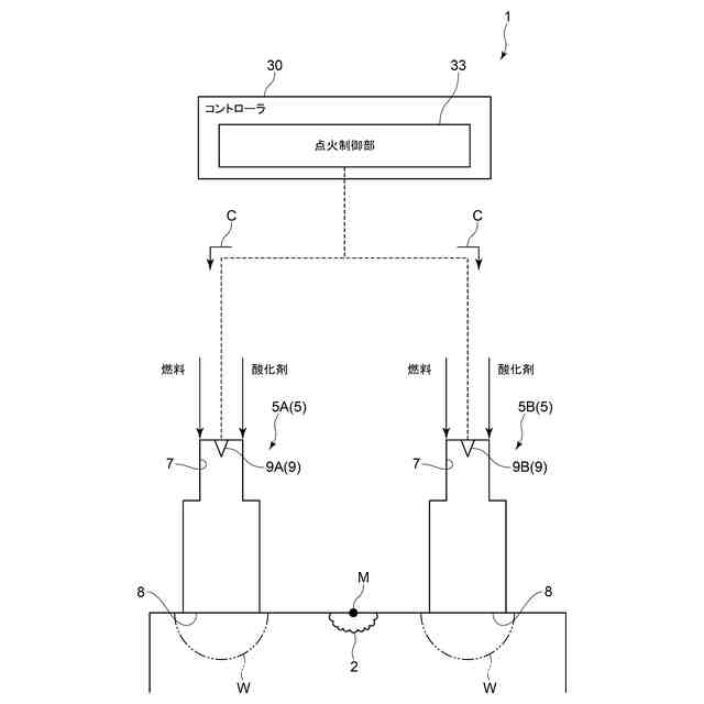
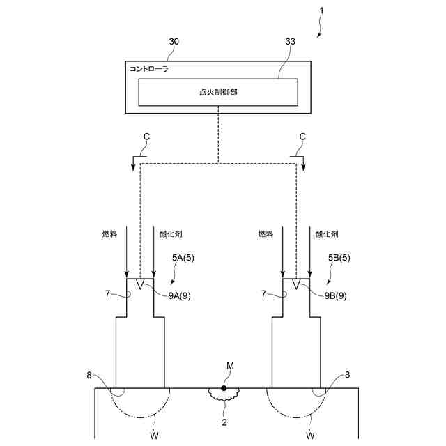
【解決手段】ダスト除去システムは、燃焼器内におけるダストを除去するための衝撃波を発生させるように各々が構成された2つの衝撃波発生装置を備えるダスト除去システムであって、2つの衝撃波発生装置の各々は、燃料と酸化剤を含む混合物が充満するように構成されたチャンバと、チャンバ内において混合物に点火をするための点火装置と、点火装置による点火によって生じた爆轟波を利用して燃焼器内に衝撃波を発射するための発射部とを含み、2つの衝撃波発生装置は、2つの発射部からそれぞれ発射される2つの衝撃波が干渉によって強め合うことができるように配置されており、ダスト除去システムは、2つの点火装置の各々に、点火を開始するための点火指令を送るように構成された点火制御部をさらに備える。
【選択図】図1
特許請求の範囲
【請求項1】
燃焼器内におけるダストを除去するための衝撃波を発生させるように各々が構成された2つの衝撃波発生装置を備えるダスト除去システムであって、
前記2つの衝撃波発生装置の各々は、
燃料と酸化剤を含む混合物が充満するように構成されたチャンバと、
前記チャンバ内において前記混合物に点火をするための点火装置と、
前記点火装置による点火によって生じた爆轟波を利用して前記燃焼器内に前記衝撃波を発射するための発射部と、
を含み、
前記2つの衝撃波発生装置は、2つの前記発射部からそれぞれ発射される2つの前記衝撃波が干渉によって強め合うことができるように配置されており、
前記ダスト除去システムは、2つの前記点火装置の各々に、点火を開始するための点火指令を送るように構成された点火制御部をさらに備える
ダスト除去システム。
続きを表示(約 1,600 文字)
【請求項2】
前記点火制御部は、前記2つの点火装置の一方に前記点火指令を発してから他方に前記点火指令を発するまでのタイムラグを調整可能なように構成される
請求項1に記載のダスト除去システム。
【請求項3】
前記燃焼器における温度分布を検知するための温度検知部をさらに備え、
前記点火制御部は、
前記温度検知部の検知結果に基づいて、前記燃焼器内における前記ダストの位置を推定するための推定部と、
前記推定部によって推定された前記ダストの推定位置で前記2つの衝撃波が前記干渉により強め合うための前記タイムラグである第1タイムラグを決定するための決定部と、
前記第1タイムラグが生じるように前記2つの点火装置の各々に前記点火指令を送る第1の点火制御を実行するための第1指令送信部と、
を含む
請求項2に記載のダスト除去システム。
【請求項4】
前記点火制御部は、
前記第1の点火制御の実行後、前記推定位置において前記ダストが除去されているかを前記温度検知部の検知結果に基づいて判定するための判定部と、
前記ダストが除去されていないと判定された場合、前記第1タイムラグとは異なる前記タイムラグである第2タイムラグが生じるように前記2つの点火装置の各々に前記点火指令を送る第2の点火制御を実行するための第2指令送信部と
をさらに含む
請求項3に記載のダスト除去システム。
【請求項5】
前記第1指令送信部は、前記第1の点火制御を周期的に実行するように構成され、
前記判定部は、前記第1の点火制御が実行されるたびに、前記ダストが除去されているかを判定するように構成され、
前記第2指令送信部は、前記ダストが除去されていないと判定された場合、次回の前記第1の点火制御の実行前に、前記第2の点火制御を実行するように構成される
請求項4に記載のダスト除去システム。
【請求項6】
前記温度検知部は、前記燃焼器内の温度分布を検知するように構成されたサーモグラフィカメラであり、
前記推定部は、前記サーモグラフィカメラの撮影画像において温度が第1規定温度を超える画像領域がある場合、当該画像領域に相当する前記燃焼器内の位置に前記ダストが存在すると推定するように構成される
請求項3乃至5の何れか1項に記載のダスト除去システム。
【請求項7】
前記温度検知部は、前記燃焼器の複数の伝熱管の各々のメタル温度を検知するように構成された温度センサであり、
前記推定部は、前記複数の伝熱管のうち、前記温度センサによって検知される前記メタル温度が第2規定温度を下回る前記伝熱管がある場合、当該伝熱管上において前記ダストが存在すると推定するように構成される
請求項3乃至5の何れか1項に記載のダスト除去システム。
【請求項8】
前記点火装置は、前記チャンバ内での放電によって火花を発生させるように構成されたスパークプラグである
請求項1乃至3の何れか1項に記載のダスト除去システム。
【請求項9】
燃焼器内におけるダストを、2つの衝撃波発生装置から発射される2つの衝撃波を利用して除去するダスト除去方法であって、
前記燃焼器内の温度分布を検知するための温度検知部の検知結果に基づいて、前記燃焼器内における前記ダストの位置を推定する推定ステップと、
推定された前記ダストの推定位置で、前記2つの衝撃波発生装置の内部で生じる爆轟波を利用して発射される前記2つの衝撃波が、干渉により強め合うためのタイムラグである第1タイムラグを決定するための決定ステップと、
前記第1タイムラグが生じるように前記2つの衝撃波発生装置の2つの点火装置の各々に、点火を開始するための点火指令を送る第1指令送信ステップと
を備えるダスト除去方法。
発明の詳細な説明
【技術分野】
【0001】
本開示は、燃焼器内におけるダストを衝撃波によって除去するダスト除去システムおよびダスト除去方法に関する。
続きを表示(約 1,600 文字)
【背景技術】
【0002】
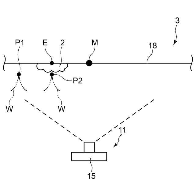
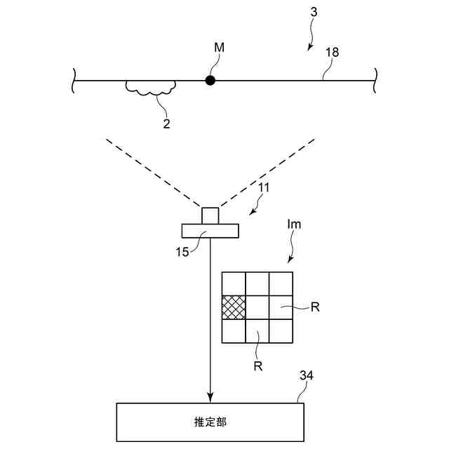
従来、燃焼器内におけるダストを衝撃波によって除去するダスト除去システムが知られている。ダストは、燃料の燃焼によって生じる炭素、塩素、硫黄、または貴金属の少なくとも1つを含む微粒子によって構成される。炭素を含む微粒子としてはススなどが挙げられる。
【0003】
特許文献1に開示されるダスト除去システムは燃焼器の一例としてのボイラに適用される。ダスト除去システムは2つの衝撃波発生装置を備え、2つの衝撃波発生装置から放たれる2つの衝撃波はボイラ内で干渉し強め合う。干渉により2つの衝撃波が強め合う位置では、ボイラ内で堆積したダストが除去される。
【先行技術文献】
【特許文献】
【0004】
特開2003-320331号公報
【発明の概要】
【発明が解決しようとする課題】
【0005】
上記の特許文献1における2つの衝撃波発生装置の各々は、火炎を爆轟に遷移させるためのシェルキンスパイラルを備える。シェルキンスパイラルの位置を調整すると、火炎が爆轟に遷移するタイミングが変化する。そのため、2つの衝撃波発生装置の各々が爆轟波を発生させるタイミングが調整される結果、ボイラ内での2つの衝撃波の干渉位置が調整される。
【0006】
しかし、シェルキンスパイラルの位置調整は機械的な構造の調整にあたるため容易ではなく、さらに当該位置調整が正確になされないと、衝撃波の干渉位置を精度よく調整できず、燃焼器内のターゲットとするダストを除去できない可能性がある。
【0007】
本開示の目的は、燃焼器内にあるダストをより確実に除去できるダスト除去システムおよびダスト除去方法を提供することである。
【課題を解決するための手段】
【0008】
本開示の少なくとも一実施形態に係るダスト除去システムは、
燃焼器内におけるダストを除去するための衝撃波を発生させるように各々が構成された2つの衝撃波発生装置を備えるダスト除去システムであって、
前記2つの衝撃波発生装置の各々は、
燃料と酸化剤を含む混合物が充満するように構成されたチャンバと、
前記チャンバ内において前記混合物に点火をするための点火装置と、
前記点火装置による点火によって生じた爆轟波を利用して前記燃焼器内に前記衝撃波を発射するための発射部と、
を含み、
前記2つの衝撃波発生装置は、2つの前記発射部からそれぞれ発射される2つの前記衝撃波が干渉によって強め合うことができるように配置されており、
前記ダスト除去システムは、2つの前記点火装置の各々に、点火を開始するための点火指令を送るように構成された点火制御部をさらに備える。
【0009】
本開示の一実施形態に係るダスト除去方法は、
燃焼器内におけるダストを、2つの衝撃波発生装置から発射される2つの衝撃波を利用して除去するダスト除去方法であって、
前記燃焼器内の温度分布を検知するための温度検知部の検知結果に基づいて、前記燃焼器内における前記ダストの位置を推定する推定ステップと、
推定された前記ダストの推定位置で、前記2つの衝撃波発生装置の内部で生じる爆轟波を利用して発射される前記2つの衝撃波が、干渉により強め合うためのタイムラグである第1タイムラグを決定するための決定ステップと、
前記第1タイムラグが生じるように前記2つの衝撃波発生装置の2つの点火装置の各々に、点火を開始するための点火指令を送る第1指令送信ステップと
を備える。
【発明の効果】
【0010】
本開示によれば、燃焼器内にあるダストをより確実に除去できるダスト除去システムおよびダスト除去方法を提供できる。
【図面の簡単な説明】
(【0011】以降は省略されています)
この特許をJ-PlatPat(特許庁公式サイト)で参照する
関連特許
三菱重工業株式会社
原子炉
17日前
三菱重工業株式会社
清掃装置
1か月前
三菱重工業株式会社
ボイラ壁
1か月前
三菱重工業株式会社
施工方法
23日前
三菱重工業株式会社
加熱装置
1か月前
三菱重工業株式会社
動力装置
1か月前
三菱重工業株式会社
遠心圧縮機
1日前
三菱重工業株式会社
風力発電装置
1か月前
三菱重工業株式会社
皮膜形成装置
1か月前
三菱重工業株式会社
フィルタ装置
1か月前
三菱重工業株式会社
原子力システム
2日前
三菱重工業株式会社
ポンプシステム
1か月前
三菱重工業株式会社
超音波探傷方法
1か月前
三菱重工業株式会社
洗浄水噴射ノズル
1か月前
三菱重工業株式会社
燃焼筒の取付方法
1か月前
三菱重工業株式会社
バッテリ交換装置
1か月前
三菱重工業株式会社
石膏脱水システム
23日前
三菱重工業株式会社
主蒸気管洗浄方法
1か月前
三菱重工業株式会社
メタン酸化触媒装置
1か月前
三菱重工業株式会社
軌道系交通システム
1か月前
三菱重工業株式会社
ガスタービン制御方法
1か月前
三菱重工業株式会社
ガスタービン起動方法
1か月前
三菱重工業株式会社
蒸気タービンシステム
1か月前
三菱重工業株式会社
燃焼設備および制御方法
1か月前
三菱重工業株式会社
アンモニア除害システム
23日前
三菱重工業株式会社
原子炉炉心および原子炉
17日前
三菱重工業株式会社
ガス処理装置および方法
1か月前
三菱重工業株式会社
シール装置及び回転機械
22日前
三菱重工業株式会社
電解セル、及び電解装置
1か月前
三菱重工業株式会社
評価装置および評価方法
2日前
三菱重工業株式会社
デジタル入力モジュール
1か月前
三菱重工業株式会社
炭化炉及びその制御方法
1か月前
三菱重工業株式会社
シール装置および回転機械
1か月前
三菱重工業株式会社
軸流圧縮機、及びその動翼
24日前
三菱重工業株式会社
計測システムおよび計測方法
1か月前
三菱重工業株式会社
水素吸蔵材料および原子力設備
1か月前
続きを見る
他の特許を見る