TOP
|
特許
|
意匠
|
商標
特許ウォッチ
Twitter
他の特許を見る
10個以上の画像は省略されています。
公開番号
2025166290
公報種別
公開特許公報(A)
公開日
2025-11-06
出願番号
2024070191
出願日
2024-04-24
発明の名称
圧縮機の静翼セグメント、及び圧縮機
出願人
三菱重工業株式会社
代理人
SSIP弁理士法人
主分類
F04D
29/54 20060101AFI20251029BHJP(液体用容積形機械;液体または圧縮性流体用ポンプ)
要約
【課題】圧縮機の静翼セグメントにおける静翼の振動を低減する。
【解決手段】本開示の少なくとも一実施形態に係る圧縮機の静翼セグメントは、周方向に配置された複数の静翼と、複数の静翼の内側シュラウドに取り付けられるホルダと、内側シュラウドのそれぞれとホルダとの間に配置されていて、周方向に延在し、内側シュラウドのそれぞれとホルダとを径方向に離間するように付勢力を与えるバネ部材と、を備える。複数の静翼のそれぞれは、内側シュラウドの内側シュラウド本体の径方向内側において、全周を内側シュラウド本体で囲まれた、径方向外側に向かって凹んだ凹部を有する。バネ部材は、内側シュラウド本体に対して凹部が設けられていない位置で当接して内側シュラウドを径方向外側に向かって付勢する。
【選択図】図1
特許請求の範囲
【請求項1】
圧縮機の静翼セグメントであって、
周方向に配置された複数の静翼と、
前記複数の静翼の内側シュラウドに取り付けられるホルダと、
前記内側シュラウドのそれぞれと前記ホルダとの間に配置されていて、前記周方向に延在し、前記内側シュラウドのそれぞれと前記ホルダとを径方向に離間するように付勢力を与えるバネ部材と、
を備え、
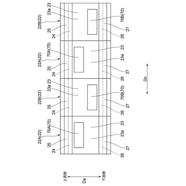
前記複数の静翼のそれぞれは、前記内側シュラウドの内側シュラウド本体の前記径方向内側において、全周を前記内側シュラウド本体で囲まれた、前記径方向外側に向かって凹んだ凹部を有し、
前記バネ部材は、前記内側シュラウド本体に対して前記凹部が設けられていない位置で当接して前記内側シュラウドを前記径方向外側に向かって付勢する、
圧縮機の静翼セグメント。
続きを表示(約 1,400 文字)
【請求項2】
前記内側シュラウドは、前記内側シュラウド本体の前記径方向内側から前記径方向内側に向かって突出する、軸方向の上流側と下流側とに離間してそれぞれ設けられた2つの突出部を有し、
前記凹部は、前記2つの突出部の間に位置する、
請求項1に記載の圧縮機の静翼セグメント。
【請求項3】
前記内側シュラウド本体における前記凹部の位置は、第1静翼と、前記第1静翼と前記周方向で隣り合う第2静翼とでは異なっている、
請求項1又は2に記載の圧縮機の静翼セグメント。
【請求項4】
前記内側シュラウド本体における前記凹部の軸方向の位置は、前記第1静翼と前記第2静翼とでは異なっている、
請求項3に記載の圧縮機の静翼セグメント。
【請求項5】
前記複数の静翼は、複数の前記第1静翼と、複数の前記第2静翼とを含み、
前記バネ部材は、
前記複数の前記第1静翼のそれぞれの前記内側シュラウドを前記径方向外側に向かって付勢する第1バネ部材と、
前記複数の前記第2静翼のそれぞれの前記内側シュラウドを前記径方向外側に向かって付勢する第2バネ部材と、
を含む、
請求項3に記載の圧縮機の静翼セグメント。
【請求項6】
前記複数の前記第1静翼のそれぞれと、前記複数の前記第2静翼のそれぞれとは、前記周方向に交互に配置されている、
請求項5に記載の圧縮機の静翼セグメント。
【請求項7】
前記第1バネ部材と前記第2バネ部材とは、前記軸方向の異なる位置に配置されている、
請求項5に記載の圧縮機の静翼セグメント。
【請求項8】
前記内側シュラウドは、前記内側シュラウド本体の前記径方向内側から前記径方向内側に向かって突出する、軸方向の上流側と下流側とに離間してそれぞれ設けられた2つの突出部を有し、
前記軸方向上流側の前記突出部よりも前記軸方向上流側、又は、前記軸方向下流側の前記突出部よりも前記軸方向下流側における前記内側シュラウド本体の前記径方向内側において、少なくとも前記周方向の一方側と他方側とを前記内側シュラウド本体で囲まれた、前記径方向外側に向かって凹んだ第1肉抜き部を有する、
請求項1又は2に記載の圧縮機の静翼セグメント。
【請求項9】
前記内側シュラウドは、
前記内側シュラウド本体の前記径方向内側から前記径方向内側に向かって突出する、軸方向の上流側と下流側とに離間してそれぞれ設けられた2つの突出部と、
前記軸方向上流側の前記突出部の先端から前記軸方向上流側に突出して前記ホルダと係合する上流側爪部と、
前記軸方向下流側の前記突出部の先端から前記軸方向下流側に突出して前記ホルダと係合する下流側爪部と、
を有し、
前記上流側爪部において少なくとも前記周方向の一方側と他方側とを前記上流側爪部で囲まれた第2肉抜き部、又は、前記下流側爪部において少なくとも前記周方向の一方側と他方側とを前記下流側爪部で囲まれた第3肉抜き部、の少なくともいずれか一方を有する、
請求項1又は2に記載の圧縮機の静翼セグメント。
【請求項10】
請求項1又は2に記載の静翼セグメントが前記周方向に複数配置された静翼環、
を備える圧縮機。
発明の詳細な説明
【技術分野】
【0001】
本開示は、圧縮機の静翼セグメント、及び圧縮機に関する。
続きを表示(約 1,400 文字)
【背景技術】
【0002】
ガスタービンは、外気を圧縮して圧縮空気を生成する圧縮機と、燃料を圧縮空気に混合して燃焼させて燃焼ガスを生成する燃焼器と、燃焼ガスにより駆動するタービンと、を備えている。
【0003】
圧縮機及びロータは、いずれも軸流流体機械で、回転軸線を中心として回転するロータと、このロータを覆うケーシングとを備えている。ロータは、回転軸線と平行な軸方向に延びるロータ本体と、このロータ本体の外周に固定され軸方向に並んでいる複数の動翼段と、を有している。ケーシングの内周側には、各動翼段の上流側の位置に静翼段が固定されている。1つの静翼段は、複数の静翼が周方向に並んで相互に連結された静翼環を形成している。この静翼環は、組立の都合上、周方向に分割されている。この周方向に分割された各部分が一般的に静翼セグメントと呼ばれている。この静翼セグメントは、複数の静翼が周方向に連結されて構成されている(例えば特許文献1参照)。
【先行技術文献】
【特許文献】
【0004】
国際公開第2013/146590号
【発明の概要】
【発明が解決しようとする課題】
【0005】
上述した静翼セグメントは、複数の外側シュラウド同士が外側連結部材で連結され、複数の内側シュラウド同士が内側連結部材で連結されている。静翼セグメントは、外周側の部分が圧縮機のケーシングに取り付けられていることから、内側シュラウド側が外側シュラウド側と比べて振動し易くなっている。
【0006】
そのため、周方向で隣り合う内側シュラウド同士が側面で擦られて摩耗が生じたり、振動応力が増加したりする等の不具合を招くおそれがある。
【0007】
本開示の少なくとも一実施形態は、上述の事情に鑑みて、圧縮機の静翼セグメントにおける静翼の振動を低減することを目的とする。
【課題を解決するための手段】
【0008】
(1)本開示の少なくとも一実施形態に係る圧縮機の静翼セグメントは、
圧縮機の静翼セグメントであって、
周方向に配置された複数の静翼と、
前記複数の静翼の内側シュラウドに取り付けられるホルダと、
前記内側シュラウドのそれぞれと前記ホルダとの間に配置されていて、前記周方向に延在し、前記内側シュラウドのそれぞれと前記ホルダとを径方向に離間するように付勢力を与えるバネ部材と、
を備え、
前記複数の静翼のそれぞれは、前記内側シュラウドの内側シュラウド本体の前記径方向内側において、全周を前記内側シュラウド本体で囲まれた、前記径方向外側に向かって凹んだ凹部を有し、
前記バネ部材は、前記内側シュラウド本体に対して前記凹部が設けられていない位置で当接して前記内側シュラウドを前記径方向外側に向かって付勢する。
【0009】
(2)本開示の少なくとも一実施形態に係る圧縮機は、
上記(1)の構成の静翼セグメントが前記周方向に複数配置された静翼環、
を備える。
【発明の効果】
【0010】
本開示の少なくとも一実施形態によれば、圧縮機の静翼セグメントにおける静翼の振動を低減できる。
【図面の簡単な説明】
(【0011】以降は省略されています)
この特許をJ-PlatPat(特許庁公式サイト)で参照する
関連特許
三菱重工業株式会社
原子炉
18日前
三菱重工業株式会社
施工方法
24日前
三菱重工業株式会社
遠心圧縮機
2日前
三菱重工業株式会社
原子力システム
3日前
三菱重工業株式会社
シール装置及び回転機械
23日前
三菱重工業株式会社
原子炉炉心および原子炉
18日前
三菱重工業株式会社
アンモニア除害システム
24日前
三菱重工業株式会社
評価装置および評価方法
3日前
三菱重工業株式会社
支持部材及び接着剤の監視方法
24日前
三菱重工業株式会社
水位制御方法および水位制御装置
3日前
三菱重工業株式会社
排ガス処理触媒及び排ガス処理方法
2日前
三菱重工業株式会社
制御装置、制御方法、及びプログラム
2日前
三菱重工業株式会社
圧縮機の静翼セグメント、及び圧縮機
24日前
三菱重工業株式会社
油圧防振装置および構造物の支持構造
4日前
三菱重工業株式会社
検査システム、検査方法及びプログラム
10日前
三菱重工業株式会社
超音波探傷装置、および超音波探傷方法
23日前
三菱重工業株式会社
ダスト除去システムおよびダスト除去方法
2日前
三菱重工業株式会社
対象成分回収システム及び対象成分回収方法
3日前
三菱重工業株式会社
排ガス処理触媒ユニット及び排ガス処理方法
2日前
三菱重工業株式会社
静翼セグメント、及びこれを備える蒸気タービン
16日前
三菱重工業株式会社
排気車室の分解組立方法、及び軸受台下半の支持装置
2日前
三菱重工業株式会社
回転機械の分解組立方法、及び位置決めピンの挿抜治具
2日前
三菱重工業株式会社
経路設定方法、移動体、管理システム、及びプログラム
2日前
三菱重工業株式会社
放射性物質取扱設備施工方法および放射性物質取扱設備
10日前
三菱重工業株式会社
脱硝触媒、及び燃焼排ガスから窒素酸化物を除去する方法
10日前
三菱重工業株式会社
ガスタービンシステム、及び、ガスタービンシステム制御方法
10日前
三菱重工業株式会社
温度制御装置、温度制御システム、温度制御方法、およびプログラム
10日前
三菱重工業株式会社
廃棄物処理システム
2日前
三菱重工業株式会社
レーザ照射装置、レーザ照射システム、レーザ照射方法、およびプログラム
23日前
三菱重工業株式会社
プラント制御支援装置、プラント制御支援方法、及び、プラント制御支援プログラム
24日前
三菱重工業株式会社
プラント制御支援装置、プラント制御支援方法、及び、プラント制御支援プログラム
24日前
個人
海流製造装置。
2か月前
株式会社スギノマシン
圧縮機
1か月前
株式会社ツインバード
送風装置
2か月前
株式会社ツインバード
送風装置
2か月前
カヤバ株式会社
電動ポンプ
3か月前
続きを見る
他の特許を見る