TOP
|
特許
|
意匠
|
商標
特許ウォッチ
Twitter
他の特許を見る
10個以上の画像は省略されています。
公開番号
2025174203
公報種別
公開特許公報(A)
公開日
2025-11-28
出願番号
2024080340
出願日
2024-05-16
発明の名称
排気車室の分解組立方法、及び軸受台下半の支持装置
出願人
三菱重工業株式会社
代理人
SSIP弁理士法人
主分類
F01D
25/30 20060101AFI20251120BHJP(機械または機関一般;機関設備一般;蒸気機関)
要約
【課題】排気車室の分解組立時における排気車室下半の不所望な変形を低減する。
【解決手段】本開示の少なくとも一実施形態に係る排気車室の分解組立方法は、軸受台下半に内側支持棒を接続するステップと、排気車室下半に外側支持棒を接続するステップと、内側支持棒と外側支持棒との間に中間支持部材を設置し、軸受台下半を排気車室下半に支持させるステップと、軸受台下半を排気車室下半に支持させるステップの実施に先立って、軸受台下半に接続された内側支持棒を内側支持治具によって内側支持棒の外周側から支持するか、又は、排気車室下半に接続された外側支持棒を外側支持治具によって外側支持棒の外周側から支持するか、の少なくとも何れか一方を実施するステップと、を備える。
【選択図】図3
特許請求の範囲
【請求項1】
ガスタービンの排気車室の分解組立方法であって、
軸受台下半に内側支持棒を接続するステップと、
排気車室下半に外側支持棒を接続するステップと、
前記内側支持棒と前記外側支持棒との間に中間支持部材を設置し、前記中間支持部材を介して前記内側支持棒を径方向内側へ押圧し、前記外側支持棒を径方向外側へ押圧して前記軸受台下半を前記排気車室下半に支持させるステップと、
前記軸受台下半を前記排気車室下半に支持させるステップの実施に先立って、前記軸受台下半に接続された前記内側支持棒を内側支持治具によって前記内側支持棒の外周側から支持するか、又は、前記排気車室下半に接続された前記外側支持棒を外側支持治具によって前記外側支持棒の外周側から支持するか、の少なくとも何れか一方を実施するステップと、
を備える、
排気車室の分解組立方法。
続きを表示(約 1,200 文字)
【請求項2】
前記軸受台下半に内側支持棒を接続するステップでは、前記ガスタービンのロータの中心軸線の延在方向から見たときに、前記中心軸線を通り鉛直方向に延在する仮想線を挟んで2つの前記内側支持棒が対称に配置され、
前記排気車室下半に前記外側支持棒を接続するステップでは、前記中心軸線の延在方向から見たときに、前記仮想線を挟んで2つの前記外側支持棒が対称に配置される、
請求項1に記載の排気車室の分解組立方法。
【請求項3】
前記少なくとも何れか一方を実施するステップでは、前記軸受台下半を前記排気車室下半に支持させるステップの実施に先立って、前記軸受台下半に接続された前記内側支持棒を前記内側支持治具によって前記内側支持棒の外周側から支持する、
請求項1又は2に記載の排気車室の分解組立方法。
【請求項4】
前記少なくとも何れか一方を実施するステップでは、前記軸受台下半を前記排気車室下半に支持させるステップの実施に先立って、前記排気車室下半に接続された前記外側支持棒を外側支持治具によって前記外側支持棒の外周側から支持する、
請求項1又は2に記載の排気車室の分解組立方法。
【請求項5】
前記軸受台下半に内側支持棒を接続するステップでは、前記軸受台下半に設けられた凹部に前記内側支持棒の端部を緩挿する、
請求項1又は2に記載の排気車室の分解組立方法。
【請求項6】
前記排気車室下半に前記外側支持棒を接続するステップでは、前記排気車室下半に設けられた凹部に前記外側支持棒の端部を緩挿する、
請求項1又は2に記載の排気車室の分解組立方法。
【請求項7】
前記排気車室の組立時には、前記軸受台下半に前記ガスタービンのロータを配置する前に、前記軸受台下半を前記排気車室下半に支持させるステップを実施する、
請求項1又は2に記載の排気車室の分解組立方法。
【請求項8】
前記排気車室の分解時には、前記排気車室下半から排気車室上半を取り外す前に、前記軸受台下半を前記排気車室下半に支持させるステップを実施する、
請求項1又は2に記載の排気車室の分解組立方法。
【請求項9】
ガスタービンの排気車室の分解組立に用いられる軸受台下半の支持装置であって、
前記軸受台下半に接続可能な内側支持棒と、
排気車室下半に接続可能な外側支持棒と、
前記内側支持棒と前記外側支持棒との間に設置可能であり、前記内側支持棒を径方向内側へ押圧可能であり、前記外側支持棒を径方向外側へ押圧可能である中間支持部材と、
を備え、
前記内側支持棒に対して設けられ、前記内側支持棒を支持するための内側支持治具、又は、前記外側支持棒に対して設けられ、前記外側支持棒を支持するための外側支持治具、の少なくともいずれか一方を備える、
軸受台下半の支持装置。
発明の詳細な説明
【技術分野】
【0001】
本開示は、排気車室の分解組立方法、及び軸受台下半の支持装置に関する。
続きを表示(約 2,500 文字)
【背景技術】
【0002】
ガスタービンは、圧縮空気および燃料を用いて高温高圧の燃焼ガスを発生させる燃焼器と、上記燃焼ガスにより回転駆動して回転動力を生み出すタービンと、タービンを回転駆動させた燃焼ガスが送られる排気車室と、を備えている。ガスタービンにおいて、排気車室側でロータを支持する軸受部を内部に収容する軸受台は、ストラットを介して排気車室上半及び排気車室下半に支持されている(例えば特許文献1参照)。
【先行技術文献】
【特許文献】
【0003】
特開2021-042721号公報
【発明の概要】
【発明が解決しようとする課題】
【0004】
排気車室の分解時や組立時に排気車室下半から排気車室上半が取り外されると、排気車室が半割れの状態となって剛性が低下するため、ロータの重量の影響を受けて排気車室下半が不所望に変形するおそれがある。そのため、排気車室の分解時や組立時に排気車室下半から排気車室上半が取り外されている状態で排気車室下半が不所望に変形しないようにすることが望まれている。
【0005】
本開示の少なくとも一実施形態は、上述の事情に鑑みて、排気車室の分解組立時における排気車室下半の不所望な変形を低減することを目的とする。
【課題を解決するための手段】
【0006】
(1)本開示の少なくとも一実施形態に係る排気車室の分解組立方法は、
ガスタービンの排気車室の分解組立方法であって、
軸受台下半に内側支持棒を接続するステップと、
排気車室下半に外側支持棒を接続するステップと、
前記内側支持棒と前記外側支持棒との間に中間支持部材を設置し、前記中間支持部材を介して前記内側支持棒を径方向内側へ押圧し、前記外側支持棒を径方向外側へ押圧して前記軸受台下半を前記排気車室下半に支持させるステップと、
前記軸受台下半を前記排気車室下半に支持させるステップの実施に先立って、前記軸受台下半に接続された前記内側支持棒を内側支持治具によって前記内側支持棒の外周側から支持するか、又は、前記排気車室下半に接続された前記外側支持棒を外側支持治具によって前記外側支持棒の外周側から支持するか、の少なくとも何れか一方を実施するステップと、
を備える。
【0007】
(2)本開示の少なくとも一実施形態に係る軸受台下半の支持装置は、
ガスタービンの排気車室の分解組立に用いられる軸受台下半の支持装置であって、
前記軸受台下半に接続可能な内側支持棒と、
排気車室下半に接続可能な外側支持棒と、
前記内側支持棒と前記外側支持棒との間に設置可能であり、前記内側支持棒を径方向内側へ押圧可能であり、前記外側支持棒を径方向外側へ押圧可能である中間支持部材と、
を備え、
前記内側支持棒に対して設けられ、前記内側支持棒を支持するための内側支持治具、又は、前記外側支持棒に対して設けられ、前記外側支持棒を支持するための外側支持治具、の少なくともいずれか一方を備える。
【発明の効果】
【0008】
本開示の少なくとも一実施形態によれば、排気車室の分解組立時における排気車室下半の不所望な変形を低減できる。
【図面の簡単な説明】
【0009】
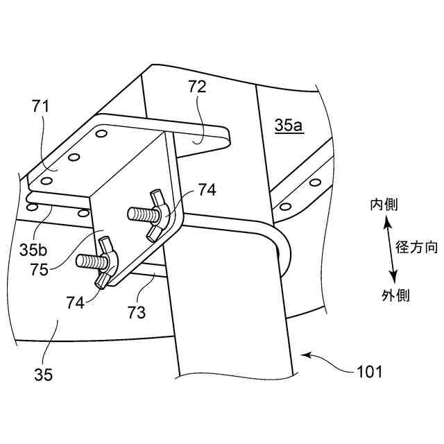
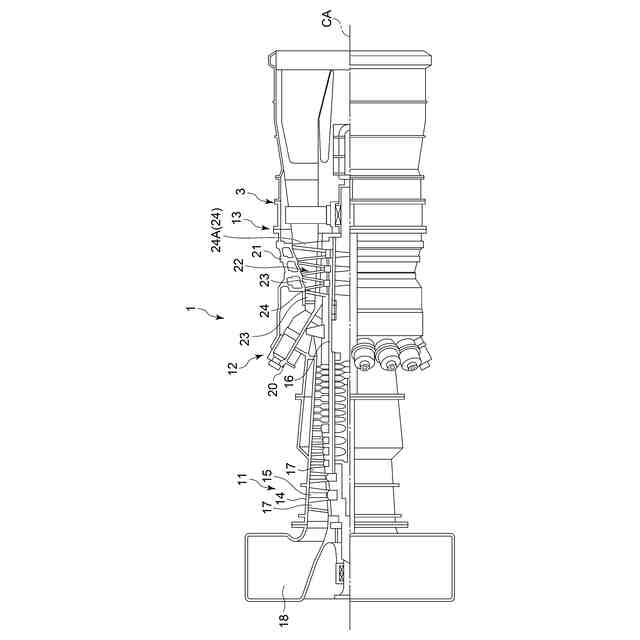
幾つかの実施形態に係る排気車室の分解組立方法を適用可能なガスタービンの概略構成図である。
幾つかの実施形態に係る排気車室を軸方向から視た状態を示す概略図である。
幾つかの実施形態に係る排気車室の分解組立方法において用いられる軸受台下半の支持装置の設置状況を説明するための模式的な図である。
図3の要部を拡大した図である。
内側支持治具の設置状況を示す斜視図である。
外側支持治具の設置状況を示す斜視図である。
排気車室の分解組立作業の実施に際しての支持装置の設置について説明するための模式的な図である。
排気車室の分解組立作業の実施に際しての支持装置の設置について説明するための模式的な図である。
排気車室の分解組立作業の実施に際しての支持装置の設置について説明するための模式的な図である。
排気車室の分解組立作業の処理の手順を示すフローチャートである。
中間支持部材の他の実施形態について説明するための模式的な図である。
【発明を実施するための形態】
【0010】
以下、添付図面を参照して本開示の幾つかの実施形態について説明する。ただし、実施形態として記載されている又は図面に示されている構成部品の寸法、材質、形状、その相対的配置等は、本開示の範囲をこれに限定する趣旨ではなく、単なる説明例にすぎない。
例えば、「ある方向に」、「ある方向に沿って」、「平行」、「直交」、「中心」、「同心」或いは「同軸」等の相対的或いは絶対的な配置を表す表現は、厳密にそのような配置を表すのみならず、公差、若しくは、同じ機能が得られる程度の角度や距離をもって相対的に変位している状態も表すものとする。
例えば、「同一」、「等しい」及び「均質」等の物事が等しい状態であることを表す表現は、厳密に等しい状態を表すのみならず、公差、若しくは、同じ機能が得られる程度の差が存在している状態も表すものとする。
例えば、四角形状や円筒形状等の形状を表す表現は、幾何学的に厳密な意味での四角形状や円筒形状等の形状を表すのみならず、同じ効果が得られる範囲で、凹凸部や面取り部等を含む形状も表すものとする。
一方、一の構成要素を「備える」、「具える」、「具備する」、「含む」、又は、「有する」という表現は、他の構成要素の存在を除外する排他的な表現ではない。
(【0011】以降は省略されています)
この特許をJ-PlatPat(特許庁公式サイト)で参照する
関連特許
スズキ株式会社
内燃機関の制御装置
今日
株式会社SUBARU
排気浄化装置
今日
トヨタ自動車株式会社
エンジン
9日前
トヨタ自動車株式会社
エンジン
今日
トヨタ自動車株式会社
エンジン
8日前
株式会社三五
ハイブリッド車の排気システム
9日前
株式会社SUBARU
エンジン制御装置
21日前
トヨタ自動車株式会社
異常診断装置
29日前
トヨタ自動車株式会社
排気浄化装置
9日前
トヨタ自動車株式会社
油量判定装置
22日前
トヨタ自動車株式会社
車両装置
今日
株式会社アイシン
冷却モジュール
21日前
トヨタ自動車株式会社
内燃機関の制御装置
1か月前
日産自動車株式会社
内燃機関
21日前
本田技研工業株式会社
冷却液タンク
今日
トヨタ自動車株式会社
オイルタンク
9日前
井関農機株式会社
エンジン
8日前
株式会社三五
排気浄化装置
8日前
いすゞ自動車株式会社
排気処理装置
8日前
トヨタ自動車株式会社
過給機冷却システム
8日前
株式会社豊田自動織機
内燃機関の制御装置
22日前
川崎重工業株式会社
多段ラジアルタービン
21日前
カナデビア株式会社
排ガス処理システム
1か月前
トヨタ自動車株式会社
車両の制御装置
8日前
スズキ株式会社
エンジンの排気浄化装置
16日前
トヨタ自動車株式会社
車両の制御装置
8日前
トヨタ自動車株式会社
車両の制御装置
8日前
三菱重工業株式会社
蒸気タービンシステム
1か月前
トヨタ自動車株式会社
ウォーターポンプ制御装置
1か月前
株式会社小松製作所
ファン駆動システム及びファン駆動方法
21日前
三菱重工業株式会社
排気車室の分解組立方法、及び軸受台下半の支持装置
今日
トヨタ自動車株式会社
フィルタ機能付き触媒の異常判定装置
8日前
三菱重工業株式会社
回転機械の分解組立方法、及び位置決めピンの挿抜治具
今日
三菱重工業株式会社
静翼セグメント、及びこれを備える蒸気タービン
14日前
イブラヒム ハンナ
内燃機関用の自給式4ストローク1サイクル燃焼シリンダ
22日前
ヤンマーパワーテクノロジー株式会社
エンジン装置
23日前
続きを見る
他の特許を見る