TOP
|
特許
|
意匠
|
商標
特許ウォッチ
Twitter
他の特許を見る
公開番号
2025171357
公報種別
公開特許公報(A)
公開日
2025-11-20
出願番号
2024076597
出願日
2024-05-09
発明の名称
排気処理装置
出願人
いすゞ自動車株式会社
代理人
弁理士法人創光国際特許事務所
主分類
F01N
3/08 20060101AFI20251113BHJP(機械または機関一般;機関設備一般;蒸気機関)
要約
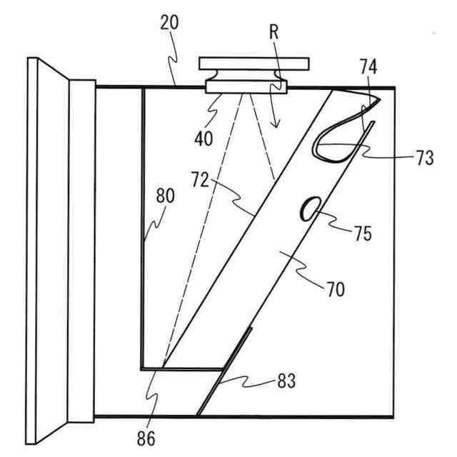
【課題】簡易な構成で、効率よく尿素水の蒸発分解を促進させる。
【解決手段】排気処理装置は、排気ガスが流れる排気通路20と、排気通路20内に尿素水を噴射する噴射部40と、排気通路20内において、噴射部40が尿素水を噴射する噴射方向と直交する仮想平面に対して傾斜している傾斜板70と、排気通路20で傾斜板70の下流側に傾斜板70に対向するように設けられ、尿素水が噴射される噴射空間を傾斜板70とで形成している対向板80を備える。傾斜板70は、噴射部40に対向する対向面に形成され、尿素水が噴射される凸部72と、対向面とは反対側の背面に形成され、排気ガスの流路を成している凹部73を有する。
【選択図】図2
特許請求の範囲
【請求項1】
排気ガスが流れる排気通路と、
前記排気通路内に尿素水を噴射する噴射部と、
前記排気通路内において、前記噴射部が前記尿素水を噴射する噴射方向と直交する仮想平面に対して傾斜している傾斜板と、
前記排気通路で前記傾斜板の下流側に前記傾斜板に対向するように設けられ、前記尿素水が噴射される噴射空間を前記傾斜板とで形成している対向板と、
を備え、
前記傾斜板は、
前記噴射部に対向する対向面に形成され、前記尿素水が噴射される凸部と、
前記対向面とは反対側の背面に形成され、前記排気ガスの流路を成している凹部と、を有する、
排気処理装置。
続きを表示(約 780 文字)
【請求項2】
前記凹部は、前記凸部の真裏に形成されている、
請求項1に記載の排気処理装置。
【請求項3】
前記凸部及び前記凹部は、前記傾斜板の下部から上部に亘って形成されている、
請求項1に記載の排気処理装置。
【請求項4】
前記凸部及び前記凹部は、平板を湾曲して形成されている、
請求項1に記載の排気処理装置。
【請求項5】
前記傾斜板の下部は、前記排気通路の内壁面から離間しており、
前記傾斜板の下部と連結しており、前記排気ガスが流れる空間を前記傾斜板とで形成している連結板を更に備える、
請求項1に記載の排気処理装置。
【請求項6】
前記傾斜板の上部には、前記噴射空間に前記排気ガスを流入させる流入孔部が設けられている、
請求項1に記載の排気処理装置。
【請求項7】
前記対向板の下部には、前記尿素水から生成されたアンモニアガスと前記排気ガスを前記噴射空間から流出させる流出孔部が設けられている、
請求項6に記載の排気処理装置。
【請求項8】
前記傾斜板の下部と前記対向板の下部とは、前記排気通路の内壁面から離間しており、
前記傾斜板の下部と前記対向板の下部とに連結しており、前記内壁面との間に隙間を形成している下板を更に備える、
請求項1に記載の排気処理装置。
【請求項9】
前記傾斜板の前記背面の下部と連結しており、前記排気ガスが流れる空間を前記下部とで形成している連結板を更に備え、
前記連結板の、前記下板よりも下方に位置し前記内壁面に連結している下部に、前記排気ガスが通過する通過孔部が形成されている、
請求項8に記載の排気処理装置。
発明の詳細な説明
【技術分野】
【0001】
本発明は、排気ガスを浄化する排気処理装置に関する。
続きを表示(約 1,100 文字)
【背景技術】
【0002】
下記の特許文献1には、排気通路内に、噴射部が噴射した尿素水が衝突する衝突面を有する衝突体を設けたエンジンが開示されている。このエンジンは、尿素水を蒸発分解してアンモニアを生成すべく、衝突面を温めるヒータを有する。
【先行技術文献】
【特許文献】
【0003】
特開2017-172332号公報
【発明の概要】
【発明が解決しようとする課題】
【0004】
しかし、上記の構成では、ヒータと衝突面の間を通電させる必要があり、構成が複雑である。また、上記の構成では、尿素水が衝突体に衝突する前に排気ガスと混合しやすいため、尿素水が衝突面に接触しにくい。
【0005】
そこで、本発明はこれらの点に鑑みてなされたものであり、簡易な構成で、効率よく尿素水の蒸発分解を促進させることを目的とする。
【課題を解決するための手段】
【0006】
本発明の一の態様においては、排気ガスが流れる排気通路と、前記排気通路内に尿素水を噴射する噴射部と、前記排気通路内において、前記噴射部が前記尿素水を噴射する噴射方向と直交する仮想平面に対して傾斜している傾斜板と、前記排気通路で前記傾斜板の下流側に前記傾斜板に対向するように設けられ、前記尿素水が噴射される噴射空間を前記傾斜板とで形成している対向板と、を備え、前記傾斜板は、前記噴射部に対向する対向面に形成され、前記尿素水が噴射される凸部と、前記対向面とは反対側の背面に形成され、前記排気ガスの流路を成している凹部と、を有する、排気処理装置を提供する。
【0007】
また、前記凹部は、前記凸部の真裏に形成されていることとしてもよい。
また、前記凸部及び前記凹部は、前記傾斜板の下部から上部に亘って形成されていることとしてもよい。
【0008】
また、前記凸部及び前記凹部は、平板を湾曲して形成されていることとしてもよい。
また、前記傾斜板の下部は、前記排気通路の内壁面から離間しており、前記傾斜板の下部と連結しており、前記排気ガスが流れる空間を前記傾斜板とで形成している連結板を更に備えることとしてもよい。
【0009】
また、前記傾斜板の上部には、前記噴射空間に前記排気ガスを流入させる流入孔部が設けられていることとしてもよい。
【0010】
また、前記対向板の下部には、前記尿素水から生成されたアンモニアガスと前記排気ガスを前記噴射空間から流出させる流出孔部が設けられていることとしてもよい。
(【0011】以降は省略されています)
この特許をJ-PlatPat(特許庁公式サイト)で参照する
関連特許
いすゞ自動車株式会社
車両用灯具
9日前
いすゞ自動車株式会社
排気処理装置
1日前
いすゞ自動車株式会社
姿勢補正装置
14日前
いすゞ自動車株式会社
ガス処理装置
29日前
いすゞ自動車株式会社
バッテリ取付構造
9日前
いすゞ自動車株式会社
バッテリー交換台車
9日前
いすゞ自動車株式会社
バッテリの組立構造
9日前
いすゞ自動車株式会社
バッテリの支持構造
9日前
いすゞ自動車株式会社
バッテリの支持構造
9日前
いすゞ自動車株式会社
バッテリの支持構造
9日前
いすゞ自動車株式会社
電動車両の制御システム
9日前
いすゞ自動車株式会社
電動車両の制御システム
9日前
いすゞ自動車株式会社
電動車両の制御システム
9日前
いすゞ自動車株式会社
バッテリ取付装置、及び車両
9日前
いすゞ自動車株式会社
バッテリ取付装置、及び車両
9日前
いすゞ自動車株式会社
電動車両のバッテリ交換システム
9日前
いすゞ自動車株式会社
バッテリコネクタの組付構造、バッテリユニット、および、バッテリユニットの支持構造
9日前
株式会社豊田自動織機
エンジン式産業車両
1か月前
トヨタ自動車株式会社
計測システム
1か月前
株式会社三五
ハイブリッド車の排気システム
2日前
本田技研工業株式会社
排気装置
1か月前
トヨタ自動車株式会社
エンジン
1日前
本田技研工業株式会社
排気装置
1か月前
本田技研工業株式会社
排気装置
1か月前
トヨタ自動車株式会社
エンジン
2日前
株式会社SUBARU
エンジン制御装置
14日前
トヨタ自動車株式会社
エンジンシステム
1か月前
株式会社クボタ
多目的車両
1か月前
株式会社クボタ
多目的車両
1か月前
トヨタ自動車株式会社
排気浄化装置
2日前
トヨタ自動車株式会社
水素エンジン
28日前
トヨタ自動車株式会社
異常診断装置
22日前
トヨタ自動車株式会社
油量判定装置
15日前
三浦工業株式会社
船舶用発電システム
1か月前
フタバ産業株式会社
消音器
1か月前
マレリ株式会社
消音器
1か月前
続きを見る
他の特許を見る