TOP
|
特許
|
意匠
|
商標
特許ウォッチ
Twitter
他の特許を見る
公開番号
2025179000
公報種別
公開特許公報(A)
公開日
2025-12-09
出願番号
2024226433
出願日
2024-12-23
発明の名称
ラジエータキャップ
出願人
巨鎧精密工業股ふん有限公司
代理人
個人
,
個人
,
個人
主分類
F01P
11/00 20060101AFI20251202BHJP(機械または機関一般;機関設備一般;蒸気機関)
要約
【課題】安定に稼動するラジエータキャップの提供。
【解決手段】トップカバーユニット1はカバーボディ11とステム12と複数の位置決め部材13とを有することでラジエータ開口を閉鎖する。ワッシャー16はステム12を取り囲む。中間シートユニット2は互いに接続されるコネクトチューブ21とコネクトシート22を有する。出力バルブユニット3はコネクトシート22に接続されるバルブシート31を有し、バルブシート31はコネクトシート22が有する各案内溝とそれぞれ係合する複数のフック部を有する。バルブディスク33はバルブシート31に接続され、バルブシート31とコネクトシート22の間に第1のバネ35が接続される。入力バルブユニット4は、ピンロッド41とピンロッド41をバルブディスク33に当接させてバルブ孔314が閉鎖されるようにする第2のバネ42とを有する。
【選択図】図3
特許請求の範囲
【請求項1】
中心軸線を有しラジエータ開口に適用できるラジエータキャップであって、
前記ラジエータキャップは、トップカバーユニットと、前記トップカバーユニットの下方にあって前記トップカバーユニットに接続される中間シートユニットと、前記中間シートユニットの下部に接続される出力バルブユニットと、前記中心軸線に沿って前記出力バルブユニットに対して移動可能に前記出力バルブユニットに接続される入力バルブユニットとを備え、
前記トップカバーユニットは、
前記ラジエータ開口を回転可能に遮蔽するのに適するカバーボディと、
前記カバーボディから前記中心軸線に沿って下方へ延伸するステムと、
前記中心軸線の反対する両側にそれぞれ位置するように、前記カバーボディの内周面から前記中心軸線側へ突起し、且つ、前記ラジエータ開口に固定されるのに適する2つの位置決め部材と、
前記ステムを包囲するように前記カバーボディ内に配置されるワッシャーと、を有し、
前記中間シートユニットは、
前記ステムに取り付けられて前記中心軸線に沿って延伸するコネクトチューブと、
前記コネクトチューブの下端に接続され、前記中心軸線を包囲し、且つ、前記中心軸線を中心として互いに同じ角度間隔をおくように形成される複数の案内溝が形成されるコネクトシートと、を有し、
前記出力バルブユニットは、前記中心軸線に沿って前記コネクトシートに対して移動可能に前記コネクトシートの下部に接続されるバルブシートを有し、前記バルブシート及び前記コネクトシートは共に内部空間を画成し、且つ、前記バルブシートは、
各前記案内溝に沿って移動可能で且つ各前記案内溝に係合する複数のフック部と、
前記内部空間に連通するように前記バルブシートの下部に形成されるバルブ孔と、
前記バルブシートの下方にあって前記バルブシートに接続されるバルブディスクと、
前記バルブシートに対して前記トップカバーユニットから離れさせるスプリング力を与え続けるように前記内部空間内に配置される第1のバネと、を有するように構成されており、
前記入力バルブユニットは、
前記バルブ孔を経由して可動的に前記内部空間内に延伸するピンロッドと、
前記バルブシートと前記ピンロッドの上端部との間に装着されると共に、前記ピンロッドに対して前記ピンロッドの下端部を前記バルブディスクに当接させるスプリング力を前記ピンロッドに与えつづけることで、前記バルブ孔が閉鎖されるようにする第2のバネと、を有する、ラジエータキャップ。
続きを表示(約 1,800 文字)
【請求項2】
前記トップカバーユニットの前記カバーボディと前記ステムと各前記位置決め部材とは、プラスチック材料により一体的に作成されており、
前記中間シートユニットの前記コネクトシートと前記コネクトチューブとは、プラスチック材料により一体的に作成されており、
前記出力バルブユニットの前記バルブシートはプラスチック材料により一体的に作成されており、
前記入力バルブユニットの前記ピンロッドはプラスチック材料により一体的に作成されている、請求項1に記載のラジエータキャップ。
【請求項3】
前記コネクトシートは、
前記コネクトチューブから外側へ延伸する上リング部と、
前記上リング部の下方に間を開けて配置される下リング部と、
前記中心軸線を取り囲むように前記上リング部と前記下リング部との間に接続される包囲壁部と、を更に有し、
各前記案内溝は、それぞれ前記包囲壁部の内面から凹陥し、前記上リング部を経由して上方に延伸し、且つ、前記包囲壁部を経由して外側へ延伸するように形成されており、
前記出力バルブユニットの前記バルブシートは、前記バルブ孔が形成されるボトム壁部と、前記中心軸線を取り囲むと共に、前記ボトム壁部から上方へ延伸し、且つ、前記コネクトシートの前記下リング部内に挿入する挿入壁部と、を更に有し、
各前記フック部は前記挿入壁部の外周面から外側へ突起する、請求項2に記載のラジエータキャップ。
【請求項4】
前記中間シートユニットは、前記コネクトチューブの外周面と前記上リング部の上表面との間に接続される複数の外補強部材を更に有し、
前記出力バルブユニットは、前記ボトム壁部の上表面と前記挿入壁部の内周面との間に接続される複数の内補強部材を更に有する、請求項3に記載のラジエータキャップ。
【請求項5】
前記トップカバーユニットの前記ステムは、
前記中心軸線を中心として互いに同じ角度間隔をおくように形成される複数の突起部と、
前記中心軸線を取り囲むように各前記突起部の外周面に凹陥して形成される包囲溝と、を有するように形成されており、
前記中間シートユニットの前記コネクトチューブは、前記中心軸線を取り囲み且つ回転可能に前記包囲溝と係合するフランジ部を有する、請求項1に記載のラジエータキャップ。
【請求項6】
前記トップカバーユニットの前記カバーボディは、遮蔽部分とカバー包囲部とパーティション部分と2つの通過孔とを有し、
前記ステムは前記遮蔽部分の下表面から延伸し、
前記カバー包囲部は前記遮蔽部分の外周面から下方に延伸して先端が前記位置決め部材に接続されており、
前記パーティション部分は前記ステムを取り囲むと共に、前記カバー包囲部により取り囲まれており、
2つの前記通過孔はそれぞれ前記遮蔽部分を通過して各前記位置決め部材の上方に配置される、請求項1に記載のラジエータキャップ。
【請求項7】
前記トップカバーユニットは、前記中心軸線を中心として互いに同じ角度間隔をおくように前記カバー包囲部から外側へ延伸する複数の耳金を更に有する、請求項6に記載のラジエータキャップ。
【請求項8】
複数の前記耳金における2つは、2つの前記位置決め部材にそれぞれ隣接するように配置されており、
前記トップカバーユニットは、2つの前記耳金内にそれぞれ複数配置される強化リブを更に有する、請求項7に記載のラジエータキャップ。
【請求項9】
前記カバーボディの前記カバー包囲部は、前記カバー包囲部の下端からそれぞれ突起して2つの前記位置決め部材に接続する2つの拡幅部分を有する、請求項8に記載のラジエータキャップ。
【請求項10】
前記ワッシャーは前記カバー包囲部と前記パーティション部分との間に配置されており、且つ、前記ワッシャーは前記中心軸線を取り囲むように上方へ突起する環状突起を有し、
前記環状突起は断面が三角形に形成されると共に、突起する先端が前記カバーボディの前記遮蔽部分に当接する、請求項6に記載のラジエータキャップ。
発明の詳細な説明
【技術分野】
【0001】
本発明は、キャップに関し、特に、自動車のラジエータ開口部に取り付けられるのに適するラジエータキャップに関する。
続きを表示(約 3,100 文字)
【背景技術】
【0002】
既存のラジエータキャップは、例えば特許文献1に記載されるものが挙げられる。このようなラジエータキャップは、自動車のメインラジエータに取り付けられるように適する。メインラジエータは、その上部に形成されたラジエータ開口部を有する。この既存のラジエータキャップは、アッパーカバー、バルブシート、第1のスプリング、ピンロッド、及び第2のスプリングを含む。アッパーカバーは、ラジエータ開口部に固定されている。バルブシートは、アッパーカバーの下に配置され、ラジエータ開口部を閉鎖する。第1のスプリングは、アッパーカバーとバルブシートの間に接続されている。ピンロッドはバルブシートを貫通するように延伸する。第2のスプリングは、バルブシートとピンロッドの間に接続されている。
【0003】
使用時、メインラジエータ内の温度が上昇すると、メインラジエータ内の液体が加圧されてバルブシートを押し動かしながら、補助ラジエータに流れる。この際、第1のスプリングはスプリング力が発生する。液体が減圧されると、第1のスプリングのスプリング力はバルブシートを復帰させる。メインラジエータ内に負圧が形成され、ピンロッドを引き戻すと、補助ラジエータ内の液体がメインラジエータへ流れ、そして第2のスプリングはスプリング力が発生する。ピンロッドにかかる引き戻す力が第2のスプリングのスプリング力より小さい限り、第2のスプリングのスプリング力はピンロッドを復帰させる。
【0004】
この既存のラジエータキャップは、バルブシートによるラジエータ開口部の閉鎖が不安定になると、液漏れや液こぼれが発生し、自動車の走行安全性に悪影響を及ぼすおそれがある。また、バルブシートとアッパーカバーとは、第1のスプリングによってのみ連結されているため、バルブシートがアッパーカバーに対して無制限に可動となることがある。よって、この構成を有する既存のラジエータキャップは、取り付け時や操作時に、バルブシートの姿勢が容易に傾くようになるので、ラジエータ開口部の閉鎖が不正確になり、十分に閉鎖することができなくなる。また、アッパーカバーが金属製であるため、アッパーカバーの表面処理を行う必要があり、環境汚染を引き起こしやすい。よって、既存のラジエータキャップには改善の余地がある。
【先行技術文献】
【特許文献】
【0005】
台湾実用新案登録第383697号明細書
【発明の概要】
【発明が解決しようとする課題】
【0006】
したがって、本発明の目的は、従来技術の欠点の少なくとも1つを緩和することができるラジエータキャップを提供することである。
【課題を解決するための手段】
【0007】
上記目的を達成すべく、本発明は中心軸線を有しラジエータ開口に適用できるラジエータキャップであって、
前記ラジエータキャップは、トップカバーユニットと前記トップカバーユニットの下方にあって前記トップカバーユニットに接続される中間シートユニットと、前記中間シートユニットの下部に接続される出力バルブユニットと前記中心軸線に沿って前記出力バルブユニットに対して移動可能に前記出力バルブユニットに接続される入力バルブユニットとを備え、
前記トップカバーユニットは、
前記ラジエータ開口を回転可能に遮蔽するのに適するカバーボディと、
前記カバーボディから前記中心軸線に沿って下方へ延伸するステムと、
前記中心軸線の反対する両側にそれぞれ位置するように、前記カバーボディの内周面から前記中心軸線側へ突起し、且つ、前記ラジエータ開口に固定されるのに適する2つの位置決め部材と、
前記ステムを包囲するように前記カバーボディ内に配置されるワッシャーと、を有し、
前記中間シートユニットは、
前記ステムに取り付けられて前記中心軸線に沿って延伸するコネクトチューブと、
前記コネクトチューブの下端に接続され、前記中心軸線を包囲し、且つ、前記中心軸線を中心として互いに同じ角度間隔をおくように形成される複数の案内溝が形成されるコネクトシートと、を有し、
前記出力バルブユニットは、前記中心軸線に沿って前記コネクトシートに対して移動可能に前記コネクトシートの下部に接続されるバルブシートを有し、前記バルブシート及び前記コネクトシートは共に内部空間を画成し、且つ、前記バルブシートは
各前記案内溝に沿って移動可能で且つ各前記案内溝に係合する複数のフック部と、
前記内部空間に連通するように前記バルブシートの下部に形成されるバルブ孔と、
前記バルブシートの下方にあって前記バルブシートに接続されるバルブディスクと、
前記バルブシートに対して前記トップカバーユニットから離れさせるスプリング力を与え続けるように前記内部空間内に配置される第1のバネと、を有するように構成されており、
前記入力バルブユニットは、
前記バルブ孔を経由して可動的に前記内部空間内に延伸するピンロッドと、
前記バルブシートと前記ピンロッドの上端部との間に装着されると共に、前記ピンロッドに対して前記ピンロッドの下端部を前記バルブディスクに当接させるスプリング力を前記ピンロッドに与えつづけることで、前記バルブ孔が閉鎖されるようにする第2のバネと、を有する、ラジエータキャップ。
【発明の効果】
【0008】
本発明のラジエータキャップは、バルブシートが有する各フック部が中間シートユニットのコネクトシートに形成される各案内溝にそれぞれ可動的に係合する構成により、中間シートユニットのコネクトシートに対するバルブシートの相対移動が安定的にサポートされるようになるので、本発明のラジエータキャップは自動車のラジエータが有するラジエータ開口部を安定して閉鎖することが確保され、液漏れや液こぼれが防がれ、自動車の走行安全性を向上させることができる。
【図面の簡単な説明】
【0009】
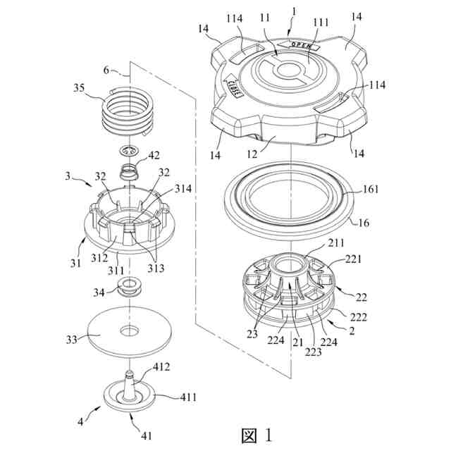
本発明のラジエータキャップの実施例の構成が示される上面分解斜視図である。
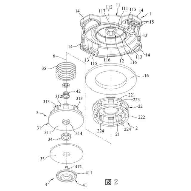
同実施例の構成が示される底面分解斜視図である。
同実施例の構成が示される断面説明図である。
図3に類似し、バルブシートが上方から押圧される時の様子が示される断面説明図である。
図3に類似し、ピンロッドが下方へ引き抜かれる時の様子が示される断面説明図である。
【発明を実施するための形態】
【0010】
本発明の実施形態の目的、技術手段、及び利点をより明確に説明するために、以下、本発明の実施形態の添付図面を組み合わせて、本発明の実施形態における技術手段に対して明確且つ詳細に説明する。説明する実施形態は、本発明の一部の実施形態であり、すべての実施形態ではないことが明らかであろう。通常、添付図面に描きまた示す本発明の実施形態の部品は各種異なる配置で布置及び設計することができる。したがって、以下、添付図面中に提供した本発明の実施形態の詳細説明は、本発明の保護範囲に対していかなる制限も構成せず、単に本発明の選択された実施形態を示すのみである。
(【0011】以降は省略されています)
この特許をJ-PlatPat(特許庁公式サイト)で参照する
関連特許
他の特許を見る