TOP
|
特許
|
意匠
|
商標
特許ウォッチ
Twitter
他の特許を見る
公開番号
2025180049
公報種別
公開特許公報(A)
公開日
2025-12-11
出願番号
2024087119
出願日
2024-05-29
発明の名称
触媒コンバータ
出願人
トヨタ自動車株式会社
代理人
弁理士法人平木国際特許事務所
主分類
F01N
3/28 20060101AFI20251204BHJP(機械または機関一般;機関設備一般;蒸気機関)
要約
【課題】触媒に使用される貴金属の量を有効に利用し、エミッション低減の効果を向上できる触媒コンバータを提供する。
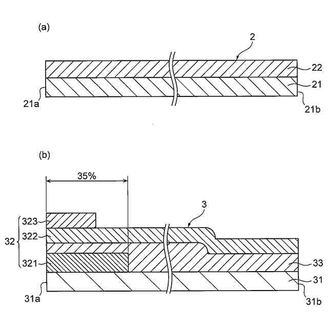
【解決手段】触媒コンバータ1は、排ガスの流れ方向に沿って上流側に配置された電気加熱式触媒2と、電気加熱式触媒2よりも下流側に配置された非電気加熱式触媒3とを備える。電気加熱式触媒2は、触媒コート層として、上流側基材21に形成されたRh触媒コート層22のみを有する。非電気加熱式触媒3は、触媒コート層として、下流側基材31の全長にわたって形成された第2のPd触媒コート層322及びRh触媒コート層33と、排ガスの流れ方向に沿って非電気加熱式触媒3の上流側端面31aから35%以内の範囲に配置された第1及び第3のPd触媒コート層321,323を有する。第2のPd触媒コート層322のPd触媒の含有量は、第1及び第3のPd触媒コート層321,323のものより少ない。
【選択図】図4
特許請求の範囲
【請求項1】
排ガスの流れ方向に沿って上流側に配置された電気加熱式触媒と、前記電気加熱式触媒よりも下流側に配置された非電気加熱式触媒とを備える触媒コンバータであって、
前記電気加熱式触媒は、上流側基材に形成された触媒コート層として、Rh触媒コート層のみを有し、
前記非電気加熱式触媒は、下流側基材に形成された触媒コート層として、前記排ガスの流れ方向の全長にわたって積層された全体Pd触媒コート層及び全体Rh触媒コート層と、前記排ガスの流れ方向に沿って前記非電気加熱式触媒の上流側端面から35%以内の範囲に配置された部分Pd触媒コート層と、を有し、
前記全体Pd触媒コート層の前記非電気加熱式触媒単位体積あたりのPd触媒の含有量は、前記部分Pd触媒コート層の前記非電気加熱式触媒単位体積あたりのPd触媒の含有量よりも少ないことを特徴とする触媒コンバータ。
続きを表示(約 270 文字)
【請求項2】
前記部分Pd触媒コート層は、層厚方向において、前記下流側基材から最も離れた層を含む請求項1に記載の触媒コンバータ。
【請求項3】
前記部分Pd触媒コート層は、複数であり、
複数の前記部分Pd触媒コート層のうち、前記下流側基材から最も離れた前記部分Pd触媒コート層は、前記非電気加熱式触媒単位体積あたりのPd触媒の含有量が最も多い請求項2に記載の触媒コンバータ。
【請求項4】
前記電気加熱式触媒及び前記非電気加熱式触媒は、同一ケースに収容されている請求項1に記載の触媒コンバータ。
発明の詳細な説明
【技術分野】
【0001】
本発明は、触媒コンバータに関し、特に電気加熱式触媒を備えた触媒コンバータに関する。
続きを表示(約 2,200 文字)
【背景技術】
【0002】
従来、このような技術分野として、例えば特許文献1に記載されるものがある。特許文献1に記載の電気加熱式触媒は、排ガスの流れ方向の上流側に配置された排ガス浄化触媒と、排ガス浄化触媒を加熱するためのマイクロ波発生装置とを備えている。そして、排ガス浄化触媒は、触媒金属としてPd(パラジウム)、Rh(ロジウム)などの貴金属を含む触媒コート層を有する。また、排ガスの流れ方向において、排ガス浄化触媒よりも下流側には、排ガス浄化触媒とは異なる下流側触媒が配置されている。
【先行技術文献】
【特許文献】
【0003】
特開2022-073203号公報
【発明の概要】
【発明が解決しようとする課題】
【0004】
しかし、Pd触媒コート層とRh触媒コート層とを有する電気加熱式触媒では、Pd触媒の性能を十分に生かせておらず、エミッション低減に寄与できていないPd触媒が存在する。従って、触媒に使用される貴金属の量を有効に利用できず、エミッション低減の効果を向上し難い問題があった。
【0005】
本発明は、このような点に鑑みてなされたものであり、触媒に使用される貴金属の量を有効に利用し、エミッション低減の効果を向上できる触媒コンバータを提供することを目的とする。
【課題を解決するための手段】
【0006】
本発明に係る触媒コンバータは、排ガスの流れ方向に沿って上流側に配置された電気加熱式触媒と、前記電気加熱式触媒よりも下流側に配置された非電気加熱式触媒とを備える触媒コンバータであって、前記電気加熱式触媒は、上流側基材に形成された触媒コート層として、Rh触媒コート層のみを有し、前記非電気加熱式触媒は、下流側基材に形成された触媒コート層として、前記排ガスの流れ方向の全長にわたって積層された全体Pd触媒コート層及び全体Rh触媒コート層と、前記排ガスの流れ方向に沿って前記非電気加熱式触媒の上流側端面から35%以内の範囲に配置された部分Pd触媒コート層と、を有し、前記全体Pd触媒コート層の前記非電気加熱式触媒単位体積あたりのPd触媒の含有量は、前記部分Pd触媒コート層の前記非電気加熱式触媒単位体積あたりのPd触媒の含有量よりも少ないことを特徴とする。
【0007】
本発明に係る触媒コンバータでは、上流側に配置された電気加熱式触媒は、上流側基材に形成された触媒コート層として、Rh触媒コート層のみを有するため、Pd触媒よりも活性温度が高いRh触媒を有したとしても、エンジン始動時等に、通電加熱によってRh触媒を早期に活性化させることができる。これによって、排ガスを浄化し、Rh触媒コート層のみでも一定レベルの浄化性能を維持することができる。しかも、従来の電気加熱式触媒に必要されたPd触媒を省くことで、従来のようにPd触媒の性能を十分に生かせない問題を回避することができる。更に、従来の電気加熱式触媒に必要されたPd触媒を省くことで、省いたPd触媒の分を下流側の非電気加熱式触媒におけるPd触媒の量を増やすことが可能になる。従って、触媒コンバータの貴金属の量を増加させることなく、エミッション低減の効果を高めることができる。
【0008】
また、下流側に配置された非電気加熱式触媒は、下流側基材に形成された触媒コート層として、Pd触媒コート層(全体Pd触媒コート層及び部分Pd触媒コート層)及びRh触媒コート層(全体Rh触媒コート層)とを有するので、電気加熱式触媒通過後の高温ガスの熱を利用し、Pd触媒及びRh触媒がそれぞれの活性温度に暖気される。また、全体Pd触媒コート層の非電気加熱式触媒単位体積あたりのPd触媒の含有量を、部分Pd触媒コート層の非電気加熱式触媒単位体積あたりのPd触媒の含有量よりも少なくすることで、非電気加熱式触媒の下流におけるPd触媒とRh触媒の合金化を抑え、それぞれの層の金属触媒の浄化性能を発揮することにより、エミッション低減の効果を向上できる。更に、非電気加熱式触媒では、部分Pd触媒コート層を排ガスの流れ方向に沿って非電気加熱式触媒の上流側端面から35%以内の範囲に配置することで、活性温度が低いPd触媒で排ガスを浄化しつつ昇温し、昇温した排ガスを、活性温度が高いRh触媒で浄化することができる。その結果、触媒に使用される貴金属の量を有効に利用できるとともに、暖気時間を短縮し、浄化性能を高め、エミッション低減の効果を向上することができる。
【発明の効果】
【0009】
本発明によれば、触媒に使用される貴金属の量を有効に利用し、エミッション低減の効果を向上することができる。
【図面の簡単な説明】
【0010】
実施形態に係る触媒コンバータを示す模式断面図である。
電気加熱式触媒を示す模式斜視図である。
非電気加熱式触媒を示す模式斜視図である。
(a)は電気加熱式触媒を示す模式断面図であり、(b)は非電気加熱式触媒を示す模式断面図である。
(a)は比較例1に係る電気加熱式触媒を示す模式断面図であり、(b)は実施例1、2及び比較例1~3に係る非電気加熱式触媒を示す模式断面図である。
【発明を実施するための形態】
(【0011】以降は省略されています)
この特許をJ-PlatPat(特許庁公式サイト)で参照する
関連特許
トヨタ自動車株式会社
方法
1日前
トヨタ自動車株式会社
車両
2日前
トヨタ自動車株式会社
冷凍回路
1日前
トヨタ自動車株式会社
駆動装置
1日前
トヨタ自動車株式会社
蓄電装置
2日前
トヨタ自動車株式会社
蓄電装置
2日前
トヨタ自動車株式会社
エンジン
1日前
トヨタ自動車株式会社
受電装置
1日前
トヨタ自動車株式会社
蓄電装置
3日前
トヨタ自動車株式会社
接合構造
1日前
トヨタ自動車株式会社
車載装置
2日前
トヨタ自動車株式会社
制御装置
1日前
トヨタ自動車株式会社
予測モデル
3日前
トヨタ自動車株式会社
電気自動車
3日前
トヨタ自動車株式会社
電気自動車
3日前
トヨタ自動車株式会社
電気自動車
3日前
トヨタ自動車株式会社
電池パック
2日前
トヨタ自動車株式会社
正極活物質
1日前
トヨタ自動車株式会社
電気自動車
3日前
トヨタ自動車株式会社
電池パック
2日前
トヨタ自動車株式会社
電気自動車
3日前
トヨタ自動車株式会社
車両制御装置
2日前
トヨタ自動車株式会社
本人認証方法
2日前
トヨタ自動車株式会社
情報処理装置
2日前
トヨタ自動車株式会社
回転トランス
3日前
トヨタ自動車株式会社
情報処理装置
1日前
トヨタ自動車株式会社
充電制御装置
3日前
トヨタ自動車株式会社
情報処理装置
1日前
トヨタ自動車株式会社
動力伝達装置
1日前
トヨタ自動車株式会社
車両前部構造
2日前
トヨタ自動車株式会社
触媒コンバータ
1日前
トヨタ自動車株式会社
車両用駆動装置
1日前
トヨタ自動車株式会社
触媒コンバータ
1日前
トヨタ自動車株式会社
車両用駆動装置
1日前
トヨタ自動車株式会社
車両用蓄電装置
1日前
トヨタ自動車株式会社
車両の配管構造
3日前
続きを見る
他の特許を見る