TOP
|
特許
|
意匠
|
商標
特許ウォッチ
Twitter
他の特許を見る
公開番号
2025180648
公報種別
公開特許公報(A)
公開日
2025-12-11
出願番号
2024088128
出願日
2024-05-30
発明の名称
接合構造
出願人
トヨタ自動車株式会社
代理人
弁理士法人酒井国際特許事務所
主分類
H02K
3/04 20060101AFI20251204BHJP(電力の発電,変換,配電)
要約
【課題】簡易な構成により、モータごとの体格差を吸収しつつ、動力線バスバとステータコイルとを接合することができる動力線バスバとステータコイルの接合構造を提供する。
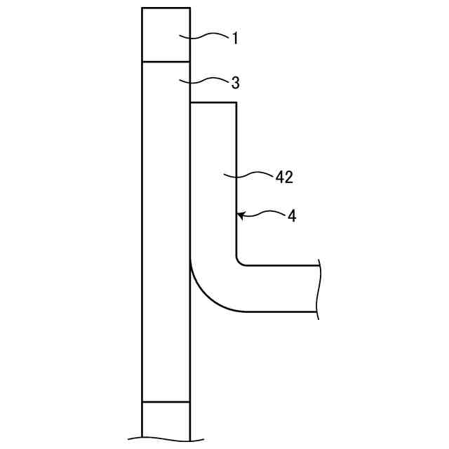
【解決手段】接合構造は、動力線バスバ2とステータコイルのステータ引き出し線4の接合構造であって、動力線バスバ2は、他端側に平編銅線が形成されてなる平編銅線部3を有し、ステータ引き出し線4は、平編銅線部3に引っ掛け可能な複数の突起形状部41が形成されてなる接合端部42と、を有する。
【選択図】図5
特許請求の範囲
【請求項1】
一端側がインバータに接合されてなる動力線バスバとステータコイルのステータ引き出し線の接合構造であって、
前記動力線バスバは、
他端側に平編銅線が形成されてなる平編銅線部を有し、
前記ステータ引き出し線は、
前記平編銅線部に引っ掛け可能な複数の突起形状部が形成されてなる接合端部と、
を有する。
接合構造。
発明の詳細な説明
【技術分野】
【0001】
本開示は、接合構造に関する。
続きを表示(約 1,400 文字)
【背景技術】
【0002】
インバータとモータのステータコイルとを接合する動力線バスバは、モータの種類毎に専用形状となっており、モータ間で共用するためには、各モータ間の体格差を吸収できるように構成する必要がある。
【0003】
例えば特許文献1には、可撓性を有する本体部と、この本体部の両端間を結ぶ方向に延在する芯材とを備える動力線バスバが開示されている。
【先行技術文献】
【特許文献】
【0004】
特開2021-009781号公報
【発明の概要】
【発明が解決しようとする課題】
【0005】
しかしながら、上述した特許文献1では、バスバとモータのステータコイルの引き出し線の接合を溶接で行う場合、モータ毎の体格差を吸収できるほどの位置調整が困難である。このため、簡易な構成により、モータごとの体格差を吸収しつつ、動力線バスバとステータコイルとを接合することができる技術が望まれている。
【0006】
本開示は、上記に鑑みてなされたものであって、簡易な構成により、モータごとの体格差を吸収しつつ、動力線バスバとステータコイルとを接合することができる動力線バスバとステータコイルの接合構造を提供することを目的とする。
【課題を解決するための手段】
【0007】
上記した課題を解決し、目的を達成するために、本開示に係る接合構造は、一端側がインバータに接合されてなる動力線バスバとステータコイルのステータ引き出し線の接合構造であって、前記動力線バスバは、他端側に平編銅線が形成されてなる平編銅線部を有し、前記ステータ引き出し線は、前記平編銅線部に引っ掛け可能な複数の突起形状部が形成されてなる接合端部と、を有する。
【発明の効果】
【0008】
本開示によれば、モータ毎の体格差を吸収しつつ、動力線バスバとステータコイルとを接合することができるうえ、平編銅線部と引き出し線の接触面積を拡大することができるので、通電量の制約を回避することができる。
【図面の簡単な説明】
【0009】
図1は、本開示の一実施の形態に係る動力線バスバとステータコイルの接合構造を示す概略図である。
図2は、本開示の一実施の形態に係る平編銅線部の一部を拡大した拡大図である。
図3は、本開示の一実施の形態に係る平編銅線部とステータコイルの引き出し線との具体的な接合構造を示す平面図である。
図4は、本開示の一実施の形態に係る平編銅線部とステータコイルの引き出し線との具体的な接合構造を示す側面図である。
図5は、本開示の一実施の形態に係る平編銅線部に対してステータコイルの引き出し線が接合される接合面の一部を拡大した側面図である。
【発明を実施するための形態】
【0010】
以下、本開示の実施の形態に係るステータ引き出し線と動力線バスバの接合構造について、図面を参照しながら説明する。なお、下記の実施の形態における構成要素は、当業者が置換可能かつ容易なもの、あるいは実質的に同一のものが含まれる。また、以下の説明において参照する各図は、本開示の内容を理解でき得る程度に形状、大きさ、および位置関係を概略的に示してあるに過ぎない。即ち、本開示は、各図で例示された形状、大きさおよび位置関係のみに限定されるものではない。
(【0011】以降は省略されています)
この特許をJ-PlatPat(特許庁公式サイト)で参照する
関連特許
トヨタ自動車株式会社
車両
1か月前
トヨタ自動車株式会社
車両
1か月前
トヨタ自動車株式会社
電池
1か月前
トヨタ自動車株式会社
電池
1か月前
トヨタ自動車株式会社
方法
1か月前
トヨタ自動車株式会社
車体
1か月前
トヨタ自動車株式会社
方法
1か月前
トヨタ自動車株式会社
方法
1か月前
トヨタ自動車株式会社
車体
1か月前
トヨタ自動車株式会社
車両
1日前
トヨタ自動車株式会社
車両
1か月前
トヨタ自動車株式会社
電池
13日前
トヨタ自動車株式会社
方法
今日
トヨタ自動車株式会社
方法
1か月前
トヨタ自動車株式会社
電池
13日前
トヨタ自動車株式会社
方法
1か月前
トヨタ自動車株式会社
車両
1か月前
トヨタ自動車株式会社
車両
21日前
トヨタ自動車株式会社
車両
7日前
トヨタ自動車株式会社
電池
21日前
トヨタ自動車株式会社
車両
1か月前
トヨタ自動車株式会社
車両
22日前
トヨタ自動車株式会社
配管
22日前
トヨタ自動車株式会社
治具
1か月前
トヨタ自動車株式会社
電池
27日前
トヨタ自動車株式会社
車両
1か月前
トヨタ自動車株式会社
電池
1か月前
トヨタ自動車株式会社
方法
6日前
トヨタ自動車株式会社
車両
1か月前
トヨタ自動車株式会社
車両
1か月前
トヨタ自動車株式会社
車両
1か月前
トヨタ自動車株式会社
車両
1か月前
トヨタ自動車株式会社
車両
1か月前
トヨタ自動車株式会社
蓄電池
1か月前
トヨタ自動車株式会社
電動車
21日前
トヨタ自動車株式会社
サーバ
1か月前
続きを見る
他の特許を見る