TOP
|
特許
|
意匠
|
商標
特許ウォッチ
Twitter
他の特許を見る
公開番号
2025180793
公報種別
公開特許公報(A)
公開日
2025-12-11
出願番号
2024088362
出願日
2024-05-30
発明の名称
情報処理装置
出願人
トヨタ自動車株式会社
代理人
弁理士法人秀和特許事務所
主分類
G01C
21/20 20060101AFI20251204BHJP(測定;試験)
要約
【課題】自動着岸支援システムを用いた着岸時において、登録値に基づく登録着岸線の位置を補正し、着岸制御を可能にする技術を提供する。
【解決手段】情報処理装置は、制御部及び表示部を備える。制御部は、船舶が着岸予定の接岸施設の着岸位置及び着岸方向に関する登録値を取得すること、船舶の周囲の地図画像を取得すること、船舶が接岸施設に接近したとき、接岸施設の着岸位置及び着岸方向に関する目標着岸線を地図画像内で検出すること、登録値の表す登録着岸線及び目標着岸線を地図画像に重畳して表示部に表示すること、登録着岸線に対する補正入力を受け付けること、並びに補正入力に応じて、表示部上で、登録着岸線の位置及び方向の少なくとも一方を補正すること、を実行するように構成される。
【選択図】図4
特許請求の範囲
【請求項1】
制御部及び表示部を備える情報処理装置であって、
前記制御部は、
船舶が着岸予定の接岸施設の着岸位置及び着岸方向に関する登録値を取得すること、
前記船舶の周囲の地図画像を取得すること、
前記船舶が前記接岸施設に接近したとき、前記接岸施設の着岸位置及び着岸方向に関する目標着岸線を前記地図画像内で検出すること、
前記登録値に基づく登録着岸線及び前記目標着岸線を前記地図画像に重畳して前記表示部に表示すること、
前記登録着岸線に対する補正入力を受け付けること、並びに
前記補正入力に応じて、前記表示部上で、前記登録着岸線の位置及び方向の少なくとも一方を補正すること、
を実行するように構成される、
情報処理装置。
続きを表示(約 430 文字)
【請求項2】
前記目標着岸線を検出することは、前記接岸施設から所定の距離を有する検出地点において実行される、
請求項1に記載の情報処理装置。
【請求項3】
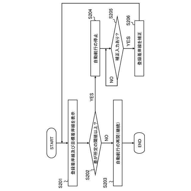
前記制御部は、前記船舶が前記登録着岸線に接近するように自動航行をしている場合において、前記表示部に表示した前記登録着岸線及び前記目標着岸線の位置又は方向の差が所定の閾値より大きいとき、前記船舶の自動航行を停止することを更に実行する、
請求項1に記載の情報処理装置。
【請求項4】
前記制御部は、前記船舶の自動航行を停止した後、ユーザの操作により前記表示部上での前記登録着岸線及び前記目標着岸線の位置及び方向の差が所定の量より小さくなったとき、前記船舶の自動航行を再開する、
請求項3に記載の情報処理装置。
【請求項5】
前記補正入力は、入力装置を介してオペレータにより入力される、
請求項1に記載の情報処理装置。
発明の詳細な説明
【技術分野】
【0001】
本開示は、情報処理装置に関する。
続きを表示(約 2,200 文字)
【背景技術】
【0002】
特許文献1には、船舶の入出港離着桟支援方法及びシステムが提案されている。提案されている入出港離着桟支援方法及びシステムは、複数のGPS衛星の送信する位置情報及び時間情報と静止衛星が送信する補正情報とに基づいて求めた船舶の位置を、予め求めてある離着桟する港湾の画像に重ねて表示するとともに、前記船舶が離着桟する岸壁または桟橋と前記船舶との距離、及び検出した前記船舶の対地速度、船首方位を表示する。
【先行技術文献】
【特許文献】
【0003】
特開2006-137309号公報
【発明の概要】
【発明が解決しようとする課題】
【0004】
本開示の目的の一つは、自動着岸支援システムを用いた着岸時において、登録値に基づく登録着岸線の位置を補正し、着岸制御を可能にする技術を提供することである。
【課題を解決するための手段】
【0005】
本開示の第一態様に係る情報処理装置は、制御部及び表示部を備える。前記制御部は、船舶が着岸予定の接岸施設の着岸位置及び着岸方向に関する登録値を取得すること、前記船舶の周囲の地図画像を取得すること、前記船舶が前記接岸施設に接近したとき、前記接岸施設の着岸位置及び着岸方向に関する目標着岸線を前記地図画像内で検出すること、前記登録値の表す登録着岸線及び前記目標着岸線を前記地図画像に重畳して前記表示部に表示すること、前記登録着岸線に対する補正入力を受け付けること、並びに前記補正入力に応じて、前記表示部上で、前記登録着岸線の位置及び方向の少なくとも一方を補正すること、を実行するように構成される。
【発明の効果】
【0006】
本開示によれば、自動着岸支援システムを用いた着岸時において、登録値に基づく登録着桟線の位置を補正し、着岸制御を可能にすることができる。
【図面の簡単な説明】
【0007】
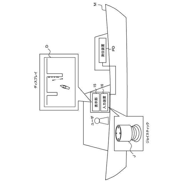
図1は、本開示が適用される場面の一例を模式的に示す。
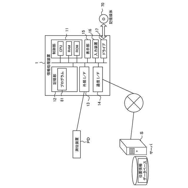
図2は、本実施形態に係る情報処理装置のハードウェア構成の一例を模式的に示す。
図3は、ディスプレイに表示されている地図画像上に登録着岸線及び目標着岸線を重畳表示したときの一例を模式的に示す。
図4は、本実施形態に係る情報処理装置による登録着岸線及び目標着岸線の表示並びに登録着岸線の補正に関する処理手順の一例を示す。
図5は、本実施形態に係る船舶が登録着岸線に接近するように自動航行している場合において、情報処理装置が、登録着岸線及び目標着岸線の位置又は方向の差に応じて自動航行を制御する場面の処理手順の一例を示す。
【発明を実施するための形態】
【0008】
例えば、特許文献1等の従来のシステムは、離着桟の際に、GPS衛星が送信する情報
に加えて静止衛星が送信する補正情報も受信することで、当該船舶に関する位置情報の測位の精度を高めている。しかしながら、本件発明者は、従来のシステムには次のような問題点があることを見出した。すなわち、従来のシステムでは、静止衛星が送信する補正情報は場合によっては、誤差が生じたり、電波が遮られたりする等で、GPS衛星が送信する位置情報の誤差修正に用いることができない。例えば、電離圏にプラズマバブルが生じ、電離圏において電波の伝搬速度が変化することで、測距誤差が生じる場合が該当する。従来のシステムでは、このような場合に離着桟する場面において、当該船舶の位置情報の誤差が生じたままになるため、安全な離着桟制御を支援することが困難となる。
【0009】
これに対して、本開示の第1態様に係る情報処理装置は、制御部及び表示部を備える。制御部は、船舶が着岸予定の接岸施設の着岸位置及び着岸方向に関する登録値を取得すること、船舶の周囲の地図画像を取得すること、船舶が接岸施設に接近したとき、接岸施設の着岸位置及び着岸方向に関する目標着岸線を地図画像内で検出すること、登録値の表す登録着岸線及び目標着岸線を地図画像に重畳して表示部に表示すること、登録着岸線に対する補正入力を受け付けること、並びに補正入力に応じて、表示部上で、登録着岸線の位置及び方向の少なくとも一方を補正すること、を実行するように構成される。当該構成によれば、制御部が認識する登録値に誤差があった場合でも、検出された正確な目標着岸線をもとに登録着岸線の位置及び方向を補正する機構をもつ。従って、自動着岸システム等の着岸支援システムを用いた船舶の着岸時において、安全な着岸制御を支援することが可能となる。
【0010】
上記態様に係る情報処理装置の別の形態として、本開示の一側面は、以上の各構成要素の全部又はその一部を実現する情報処理方法であってもよいし、プログラムであってもよいし、このようなプログラムを記憶した、コンピュータ等の機械が読み取り可能な記憶媒体であってもよい。ここで、機械が読み取り可能な記憶媒体とは、プログラム等の情報を、電気的、磁気的、光学的、機械的、又は、化学的作用によって蓄積する媒体である。
(【0011】以降は省略されています)
この特許をJ-PlatPat(特許庁公式サイト)で参照する
関連特許
トヨタ自動車株式会社
車両
1日前
トヨタ自動車株式会社
方法
今日
トヨタ自動車株式会社
接合構造
今日
トヨタ自動車株式会社
駆動装置
今日
トヨタ自動車株式会社
蓄電装置
2日前
トヨタ自動車株式会社
エンジン
今日
トヨタ自動車株式会社
冷凍回路
今日
トヨタ自動車株式会社
受電装置
今日
トヨタ自動車株式会社
制御装置
6日前
トヨタ自動車株式会社
蓄電装置
1日前
トヨタ自動車株式会社
制御装置
今日
トヨタ自動車株式会社
車載装置
1日前
トヨタ自動車株式会社
蓄電装置
1日前
トヨタ自動車株式会社
電気自動車
2日前
トヨタ自動車株式会社
電気自動車
2日前
トヨタ自動車株式会社
電気自動車
2日前
トヨタ自動車株式会社
正極活物質
今日
トヨタ自動車株式会社
予測モデル
2日前
トヨタ自動車株式会社
電極活物質
6日前
トヨタ自動車株式会社
電気自動車
2日前
トヨタ自動車株式会社
予測モデル
6日前
トヨタ自動車株式会社
電池パック
1日前
トヨタ自動車株式会社
電池パック
1日前
トヨタ自動車株式会社
電気自動車
2日前
トヨタ自動車株式会社
回転トランス
2日前
トヨタ自動車株式会社
情報処理装置
6日前
トヨタ自動車株式会社
充電制御装置
2日前
トヨタ自動車株式会社
情報処理装置
1日前
トヨタ自動車株式会社
車両制御装置
1日前
トヨタ自動車株式会社
本人認証方法
1日前
トヨタ自動車株式会社
動力伝達装置
今日
トヨタ自動車株式会社
情報処理装置
今日
トヨタ自動車株式会社
車両後部構造
6日前
トヨタ自動車株式会社
燃料電池セル
6日前
トヨタ自動車株式会社
情報処理装置
6日前
トヨタ自動車株式会社
情報処理装置
6日前
続きを見る
他の特許を見る