TOP
|
特許
|
意匠
|
商標
特許ウォッチ
Twitter
他の特許を見る
公開番号
2025178626
公報種別
公開特許公報(A)
公開日
2025-12-09
出願番号
2024085345
出願日
2024-05-27
発明の名称
回転トランス
出願人
トヨタ自動車株式会社
代理人
弁理士法人小笠原特許事務所
主分類
H01F
38/18 20060101AFI20251202BHJP(基本的電気素子)
要約
【課題】エアギャップからの磁束漏れを抑制して効率を向上させることができる回転トランスを提供する。
【解決手段】第1の磁性体に第1のコイルが配置されて構成された回転子と、第2の磁性体に第2のコイルが配置されて構成された固定子と、回転子と固定子とを結合するための磁性材料を用いた転がり軸受け部と、を備える、回転トランスである。
【選択図】図1
特許請求の範囲
【請求項1】
第1の磁性体に第1のコイルが配置されて構成された回転子と、
第2の磁性体に第2のコイルが配置されて構成された固定子と、
前記回転子と前記固定子とを結合するための磁性材料を用いた転がり軸受け部と、を備える、
回転トランス。
発明の詳細な説明
【技術分野】
【0001】
本開示は、回転トランスに関する。
続きを表示(約 1,200 文字)
【背景技術】
【0002】
特許文献1に、一方の外面が他方の内面に対し回転できるよう同軸に配置された磁性材料からなる第1の管状部品および第2の管状部品において、同心的に第1のコイルおよび第2のコイルをそれぞれ配置し、この第1のコイルと第2のコイルとの間の電磁誘導によって電力を伝送する回転トランスが、開示されている。
【先行技術文献】
【特許文献】
【0003】
特許第4955691号公報
【発明の概要】
【発明が解決しようとする課題】
【0004】
上記特許文献1に記載された従来の回転トランスは、第1の管状部品と第2の管状部品との間に、相対回転するためのエアギャップ(空隙)を設けた構造である。このため、従来の回転トランスは、エアギャップからの磁束漏れ(損失)が発生して効率が悪化するという課題がある。
【0005】
本開示は、上記課題を鑑みてなされたものであり、エアギャップからの磁束漏れを抑制して効率を向上させることができる回転トランスを提供することを目的とする。
【課題を解決するための手段】
【0006】
上記課題を解決するために、本開示技術の一態様は、第1の磁性体に第1のコイルが配置されて構成された回転子と、第2の磁性体に第2のコイルが配置されて構成された固定子と、回転子と固定子とを結合するための磁性材料を用いた転がり軸受け部と、を備える、回転トランスである。
【発明の効果】
【0007】
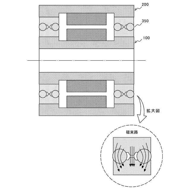
上記本開示の回転トランスによれば、回転子と固定子との結合をエアギャップではなく、磁性材料を用いた転がり軸受け構造にしているので、エアギャップからの磁束漏れを抑制して効率を向上させることができる。
【図面の簡単な説明】
【0008】
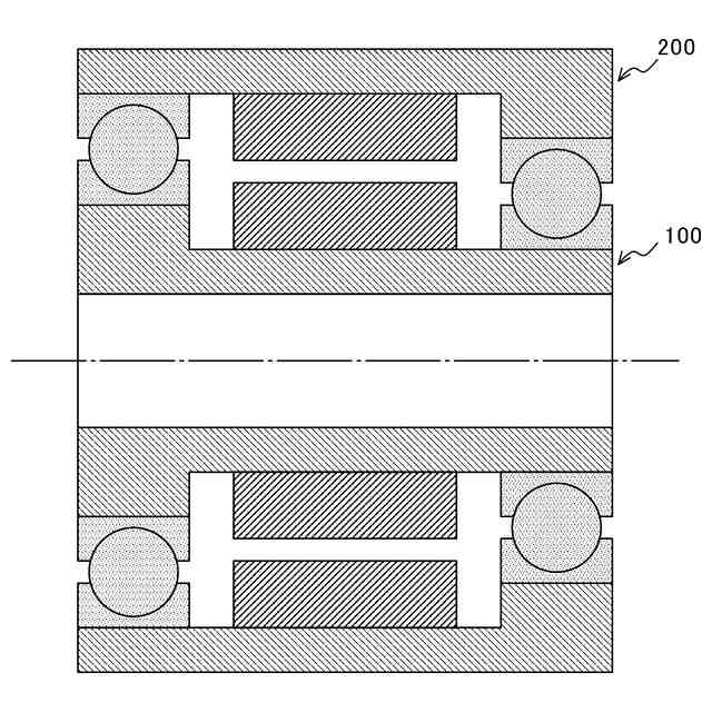
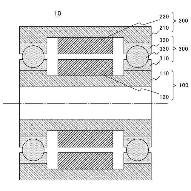
本開示の一実施形態に係る回転トランスの構造断面図
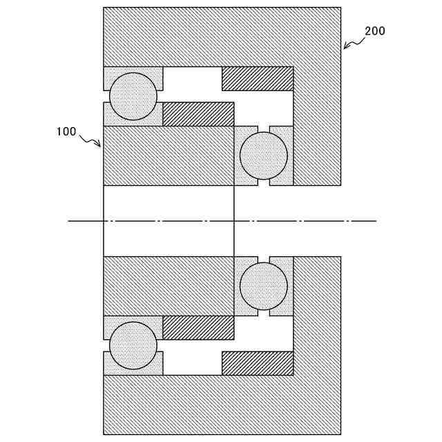
本実施形態に係る回転トランスの応用例の構造断面図
本実施形態に係る回転トランスの応用例の構造断面図
本実施形態に係る回転トランスの応用例の構造断面図
本実施形態に係る回転トランスの応用例の構造断面図
本実施形態に係る回転トランスの応用例の構造断面図
【発明を実施するための形態】
【0009】
<実施形態>
[構造]
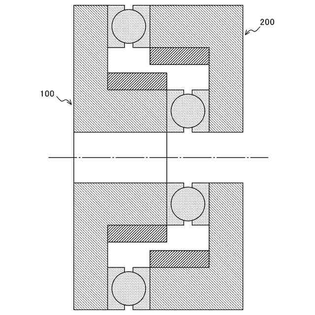
図1は、本開示の一実施形態に係る回転トランス10の概略構造を示す断面図である。図1に例示した回転トランス10は、回転子100と、固定子200と、転がり軸受け部300と、を備える。
【0010】
回転子100は、回転する部品(軸)である。この回転子100は、コアとなる磁性体110(第1の磁性体)および磁性体110に配置されるコイル120(第1のコイル)を含んで構成される。
(【0011】以降は省略されています)
この特許をJ-PlatPat(特許庁公式サイト)で参照する
関連特許
トヨタ自動車株式会社
電池
25日前
トヨタ自動車株式会社
電池
19日前
トヨタ自動車株式会社
方法
1か月前
トヨタ自動車株式会社
車両
20日前
トヨタ自動車株式会社
方法
4日前
トヨタ自動車株式会社
車両
19日前
トヨタ自動車株式会社
配管
20日前
トヨタ自動車株式会社
車両
1か月前
トヨタ自動車株式会社
車両
5日前
トヨタ自動車株式会社
電池
11日前
トヨタ自動車株式会社
電池
11日前
トヨタ自動車株式会社
車体
1か月前
トヨタ自動車株式会社
ロータ
20日前
トヨタ自動車株式会社
電動車
20日前
トヨタ自動車株式会社
モータ
1か月前
トヨタ自動車株式会社
蓄電池
1か月前
トヨタ自動車株式会社
タンク
4日前
トヨタ自動車株式会社
電動車
19日前
トヨタ自動車株式会社
蓄電装置
11日前
トヨタ自動車株式会社
制御装置
20日前
トヨタ自動車株式会社
監視装置
25日前
トヨタ自動車株式会社
製造設備
25日前
トヨタ自動車株式会社
判定装置
19日前
トヨタ自動車株式会社
蓄電装置
11日前
トヨタ自動車株式会社
蓄電装置
11日前
トヨタ自動車株式会社
制御装置
19日前
トヨタ自動車株式会社
エンジン
20日前
トヨタ自動車株式会社
反応容器
19日前
トヨタ自動車株式会社
制御装置
4日前
トヨタ自動車株式会社
蓄電装置
11日前
トヨタ自動車株式会社
制御装置
11日前
トヨタ自動車株式会社
蓄電装置
19日前
トヨタ自動車株式会社
制御装置
19日前
トヨタ自動車株式会社
制御装置
20日前
トヨタ自動車株式会社
処理装置
11日前
トヨタ自動車株式会社
蓄電装置
19日前
続きを見る
他の特許を見る