TOP
|
特許
|
意匠
|
商標
特許ウォッチ
Twitter
他の特許を見る
公開番号
2025180587
公報種別
公開特許公報(A)
公開日
2025-12-11
出願番号
2024088021
出願日
2024-05-30
発明の名称
駆動装置
出願人
トヨタ自動車株式会社
代理人
弁理士法人酒井国際特許事務所
主分類
F16H
57/023 20120101AFI20251204BHJP(機械要素または単位;機械または装置の効果的機能を生じ維持するための一般的手段)
要約
【課題】組付け性とケース強度との両立を図ることができる駆動装置を提供すること。
【解決手段】モータと動力伝達機構とのトルク伝達を切り離す切り離し機構を備えた駆動装置であって、フォークの挿通孔にフォークシャフトが挿通されることによりフォークシャフトとフォークとを固定する固定機構を備え、固定機構は、フォークシャフトの第1貫通孔内に収容されたスプリングと、スプリングの付勢力により第1貫通孔内を径方向に移動可能かつ第1貫通孔の一方の開口部から突出可能なピンと、を有し、ケースには、軸受を保持する円筒状の軸受保持部が設けられ、軸受保持部は、軸受の周方向に全体が繋がった円環状の端部と、軸受の径方向に貫通する第3貫通孔と、を有する。
【選択図】図1
特許請求の範囲
【請求項1】
モータおよび動力伝達機構を収容するケースと、
フォークシャフトと、前記フォークシャフトに固設されたフォークとを有し、前記モータと前記動力伝達機構とのトルク伝達を切り離す切り離し機構と、
を備えた駆動装置であって、
前記フォークの挿通孔に前記フォークシャフトが挿通されることにより前記フォークシャフトと前記フォークとを固定する固定機構を備え、
前記固定機構は、
前記フォークシャフトに設けられ、前記フォークシャフトの径方向に貫通する第1貫通孔と、
前記第1貫通孔内に収容され、前記径方向に弾性変形するスプリングと、
前記スプリングの付勢力により前記第1貫通孔内を前記径方向に移動可能かつ前記第1貫通孔の一方の開口部から突出可能なピンと、
前記フォークにおける前記挿通孔を形成する部分のうち、前記第1貫通孔の一方の開口部と対向する位置に設けられ、前記径方向に貫通する第2貫通孔と、
前記フォークの前記第2貫通孔に取り付けられ、前記ピンの先端が挿入される係止部材と、を有し、
前記ケースは、前記動力伝達機構の回転部材を支持する軸受が取り付けられ、前記軸受を保持する円筒状の軸受保持部を有し、
前記軸受保持部は、
前記軸受の周方向に全体が繋がった円環状の端部と、
前記軸受の径方向に貫通する第3貫通孔と、を有し、
前記フォークシャフトおよび前記固定機構は、前記軸受保持部の外側に配置され、
前記フォークは、
前記軸受保持部の内側に配置される作動部と、
前記挿通孔を含み、前記フォークシャフトに固定される固定部と、
前記第3貫通孔に挿通され、前記作動部と前記固定部との間を繋ぐように延在する延在部と、を有する
ことを特徴とする駆動装置。
発明の詳細な説明
【技術分野】
【0001】
本発明は、駆動装置に関する。
続きを表示(約 1,800 文字)
【背景技術】
【0002】
特許文献1には、モータと動力伝達機構とを収容するケースについて、軸受の外輪が取り付けられる延出部と、延出部に設けられた切欠部と、切欠部の下方において底壁を貫通するオイルドレーン穴とを有する構造が開示されている。特許文献1に記載の構成では、工具を用いてスリップリング付きの軸受をケースに組付ける際、工具をオイルドレーン穴から切欠部を通してスリップリングにアクセスさせることができる。
【先行技術文献】
【特許文献】
【0003】
特開2019-100421号公報
【発明の概要】
【発明が解決しようとする課題】
【0004】
しかしながら、特許文献1に記載の構成では、ケースの延出部に切欠部が設けられ、軸受を保持する部分が周方向全域で繋がっていないため、切欠部によるケースの強度低下や、軸受の外輪のクリープによるケースの摺動摩耗に繋がりユニット破損に至る虞がある。
【0005】
本発明は、上記事情に鑑みてなされたものであって、組付け性とケース強度との両立を図ることができる駆動装置を提供することを目的とする。
【課題を解決するための手段】
【0006】
本発明は、モータおよび動力伝達機構を収容するケースと、フォークシャフトと、前記フォークシャフトに固設されたフォークとを有し、前記モータと前記動力伝達機構とのトルク伝達を切り離す切り離し機構と、を備えた駆動装置であって、前記フォークの挿通孔に前記フォークシャフトが挿通されることにより前記フォークシャフトと前記フォークとを固定する固定機構を備え、前記固定機構は、前記フォークシャフトに設けられ、前記フォークシャフトの径方向に貫通する第1貫通孔と、前記第1貫通孔内に収容され、前記径方向に弾性変形するスプリングと、前記スプリングの付勢力により前記第1貫通孔内を前記径方向に移動可能かつ前記第1貫通孔の一方の開口部から突出可能なピンと、前記フォークにおける前記挿通孔を形成する部分のうち、前記第1貫通孔の一方の開口部と対向する位置に設けられ、前記径方向に貫通する第2貫通孔と、前記フォークの前記第2貫通孔に取り付けられ、前記ピンの先端が挿入される係止部材と、を有し、前記ケースは、前記動力伝達機構の回転部材を支持する軸受が取り付けられ、前記軸受を保持する円筒状の軸受保持部を有し、前記軸受保持部は、前記軸受の周方向に全体が繋がった円環状の端部と、前記軸受の径方向に貫通する第3貫通孔と、を有し、前記フォークシャフトおよび前記固定機構は、前記軸受保持部の外側に配置され、前記フォークは、前記軸受保持部の内側に配置される作動部と、前記挿通孔を含み、前記フォークシャフトに固定される固定部と、前記第3貫通孔に挿通され、前記作動部と前記固定部との間を繋ぐように延在する延在部と、を有することを特徴とする。
【発明の効果】
【0007】
本発明では、組付け性とケース強度との両立を図ることができる。
【図面の簡単な説明】
【0008】
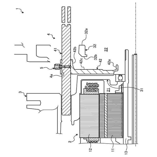
図1は、実施形態における駆動装置を模式的に示す図である。
図2は、フォークに対してフォークシャフトを後組みする際の組付け工程を説明するための図である。
図3は、フォークシャフトがフォークに固定された状態を説明するための図である。
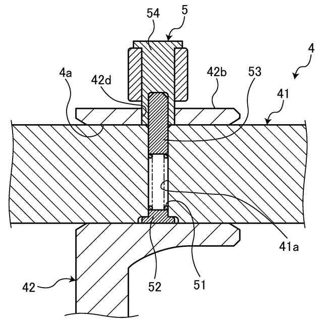
図4は、組付け前の状態のフォークシャフトを説明するための図である。
【発明を実施するための形態】
【0009】
以下、本発明の実施形態における駆動装置について具体的に説明する。なお、本発明は、以下に説明する実施形態に限定されるものではない。
【0010】
図1は、実施形態における駆動装置を模式的に示す図である。駆動装置1は、モータ2と、動力伝達機構と、ケース3と、切り離し機構4と、固定機構5とを備える。駆動装置1は車両に搭載されるものであり、モータ2から出力された動力を動力伝達機構から車輪に伝達して車輪を駆動する。駆動装置1は、ケース3の内部にモータ2、動力伝達機構、切り離し機構4、固定機構5が収容された駆動ユニットである。なお、図1等では、動力伝達装置の図示が省略されている。
(【0011】以降は省略されています)
この特許をJ-PlatPat(特許庁公式サイト)で参照する
関連特許
トヨタ自動車株式会社
電池
21日前
トヨタ自動車株式会社
電池
13日前
トヨタ自動車株式会社
方法
6日前
トヨタ自動車株式会社
電池
27日前
トヨタ自動車株式会社
車両
22日前
トヨタ自動車株式会社
方法
今日
トヨタ自動車株式会社
車両
21日前
トヨタ自動車株式会社
車両
1日前
トヨタ自動車株式会社
電池
13日前
トヨタ自動車株式会社
車両
7日前
トヨタ自動車株式会社
配管
22日前
トヨタ自動車株式会社
モータ
1か月前
トヨタ自動車株式会社
電動車
22日前
トヨタ自動車株式会社
タンク
6日前
トヨタ自動車株式会社
電動車
21日前
トヨタ自動車株式会社
ロータ
22日前
トヨタ自動車株式会社
車載装置
1日前
トヨタ自動車株式会社
蓄電装置
1日前
トヨタ自動車株式会社
蓄電装置
21日前
トヨタ自動車株式会社
制御装置
21日前
トヨタ自動車株式会社
蓄電装置
1日前
トヨタ自動車株式会社
反応容器
21日前
トヨタ自動車株式会社
蓄電装置
21日前
トヨタ自動車株式会社
蓄電装置
21日前
トヨタ自動車株式会社
エンジン
21日前
トヨタ自動車株式会社
制御装置
21日前
トヨタ自動車株式会社
蓄電装置
14日前
トヨタ自動車株式会社
塗工装置
13日前
トヨタ自動車株式会社
蓄電装置
14日前
トヨタ自動車株式会社
蓄電装置
13日前
トヨタ自動車株式会社
制御装置
6日前
トヨタ自動車株式会社
エンジン
13日前
トヨタ自動車株式会社
蓄電装置
13日前
トヨタ自動車株式会社
蓄電装置
13日前
トヨタ自動車株式会社
蓄電装置
13日前
トヨタ自動車株式会社
蓄電装置
13日前
続きを見る
他の特許を見る