TOP
|
特許
|
意匠
|
商標
特許ウォッチ
Twitter
他の特許を見る
公開番号
2025179499
公報種別
公開特許公報(A)
公開日
2025-12-10
出願番号
2024086290
出願日
2024-05-28
発明の名称
電池パック
出願人
トヨタ自動車株式会社
代理人
弁理士法人深見特許事務所
主分類
H01M
50/325 20210101AFI20251203BHJP(基本的電気素子)
要約
【課題】電池パックのケースの外側に十分な空間がない場合であっても、排気機能を確保可能な電池パックを提供する。
【解決手段】電池パックは、バッテリと、バッテリを収容するケースと、バッテリによって発生したガスをケース外に排出する排気弁と、を備える。ケースは、排気弁が取り付けられた壁部を有する。壁部は、ガスによってケース内の圧力が上昇すると、第1の向きに膨らむ。排気弁は、壁部に固定された本体部と、第1の向きに付勢された状態で本体部に取り付けられ、かつ、本体部に対して第1の向きとは反対の第2の向きに移動可能な可動部とを有する。排気弁は、可動部が本体部に対して第2の向きに移動することにより、開状態となる。ガスによって壁部が第1の向きに膨らむと、電池パックの外部に設けられた押圧部材によって可動部が本体部に対して第2の向きに移動する。
【選択図】図2
特許請求の範囲
【請求項1】
電池パックであって、
バッテリと、
前記バッテリを収容するケースと、
前記バッテリによって発生したガスを前記ケース外に排出する排気弁と、を備え、
前記ケースは、前記排気弁が取り付けられた壁部を有し、
前記壁部は、前記ガスによって前記ケース内の圧力が上昇すると、第1の向きに膨らみ、
前記排気弁は、
前記壁部に固定された本体部と、
前記第1の向きに付勢された状態で前記本体部に取り付けられ、かつ、前記本体部に対して前記第1の向きとは反対の第2の向きに移動可能な可動部とを有し、
前記可動部が前記本体部に対して前記第2の向きに移動することにより、開状態となり、
前記ガスによって前記壁部が前記第1の向きに膨らむと、前記電池パックの外部に設けられた押圧部材によって前記可動部が前記本体部に対して前記第2の向きに移動する、電池パック。
発明の詳細な説明
【技術分野】
【0001】
本開示は、電池パックに関する。
続きを表示(約 1,300 文字)
【背景技術】
【0002】
従来、車両に搭載する電池パックが知られている。たとえば、特開2017-33886号公報(特許文献1)には、このような電池パックの圧力開放機構が開示されている。
【0003】
当該圧力開放機構は、壁に開口形成された複数の圧力開放孔と、壁の内側面に沿って配置された棒状の弁支持部材と、弁支持部材に支持されかつ圧力開放孔にパックケースの内側から圧入された円錐台形の封止弁と、から構成される。弁支持部材は、両端部がブラケットによって壁に連結されている。パックケースの内部の圧力が上昇すると、パックケースの壁が弧状に湾曲変形するため、封止弁が圧力開放孔から離れる。これにより、圧力開放孔が開放される。ガスが概ね排出されると、パックケースの形状復帰に伴って圧力開放孔が閉塞される。これにより、パックケースの内部が正圧に保持される。
【先行技術文献】
【特許文献】
【0004】
特開2017-33886号公報
【発明の概要】
【発明が解決しようとする課題】
【0005】
特許文献1の電池パックでは、パックケースの外側に壁が湾曲するための十分な空間が確保できない場合、圧力を開放できない虞がある。
【0006】
本開示は、電池パックのケースの外側に十分な空間がない場合であっても、排気機能を確保可能な電池パックを提供する。
【課題を解決するための手段】
【0007】
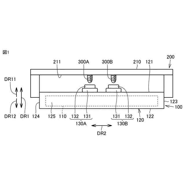
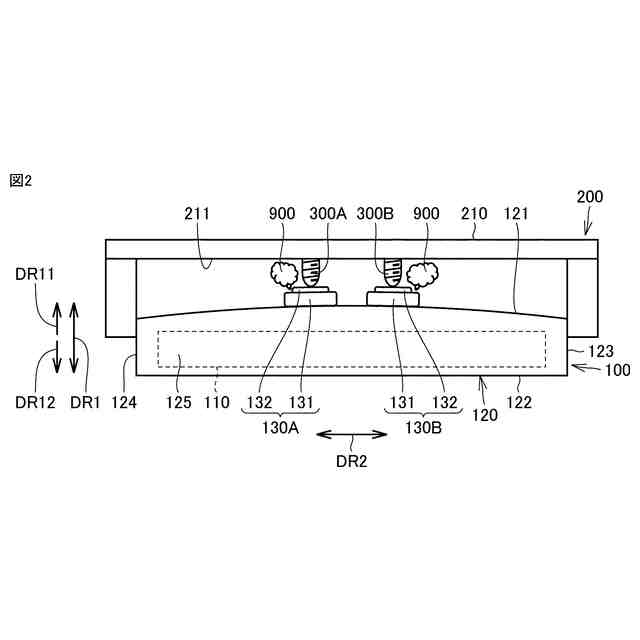
本開示のある局面に従うと、電池パックは、バッテリと、バッテリを収容するケースと、バッテリによって発生したガスをケース外に排出する排気弁と、を備える。ケースは、排気弁が取り付けられた壁部を有する。壁部は、ガスによってケース内の圧力が上昇すると、第1の向きに膨らむ。排気弁は、壁部に固定された本体部と、第1の向きに付勢された状態で本体部に取り付けられ、かつ、本体部に対して第1の向きとは反対の第2の向きに移動可能な可動部とを有する。排気弁は、可動部が本体部に対して第2の向きに移動することにより、開状態となる。ガスによって壁部が第1の向きに膨らむと、電池パックの外部に設けられた押圧部材によって可動部が本体部に対して第2の向きに移動する。
【0008】
上記の構成によれば、壁部が膨らむ向きと、排気弁を開状態とするための可動部の本体部に対する移動の向きとが反対となる。それゆえ、電池パックによれば、電池パックのケースの外側に十分な空間がない場合であっても、排気機能を確保可能となる。
【発明の効果】
【0009】
本開示によれば、電池パックのケースの外側に十分な空間がない場合であっても、排気機能を確保可能となる。
【図面の簡単な説明】
【0010】
電池パックを車体フレームに取り付けた状態を示した図である。
図1からの状態遷移を示した図である。
【発明を実施するための形態】
(【0011】以降は省略されています)
この特許をJ-PlatPat(特許庁公式サイト)で参照する
関連特許
トヨタ自動車株式会社
車両
1日前
トヨタ自動車株式会社
方法
今日
トヨタ自動車株式会社
電池
13日前
トヨタ自動車株式会社
電池
13日前
トヨタ自動車株式会社
車両
7日前
トヨタ自動車株式会社
方法
6日前
トヨタ自動車株式会社
タンク
6日前
トヨタ自動車株式会社
受電装置
今日
トヨタ自動車株式会社
制御装置
6日前
トヨタ自動車株式会社
蓄電装置
2日前
トヨタ自動車株式会社
冷凍回路
今日
トヨタ自動車株式会社
制御装置
6日前
トヨタ自動車株式会社
駆動装置
今日
トヨタ自動車株式会社
蓄電装置
1日前
トヨタ自動車株式会社
エンジン
今日
トヨタ自動車株式会社
接合構造
今日
トヨタ自動車株式会社
蓄電装置
1日前
トヨタ自動車株式会社
車載装置
1日前
トヨタ自動車株式会社
エンジン
13日前
トヨタ自動車株式会社
蓄電装置
13日前
トヨタ自動車株式会社
蓄電装置
13日前
トヨタ自動車株式会社
蓄電装置
13日前
トヨタ自動車株式会社
車両装置
13日前
トヨタ自動車株式会社
蓄電装置
13日前
トヨタ自動車株式会社
蓄電装置
13日前
トヨタ自動車株式会社
蓄電装置
13日前
トヨタ自動車株式会社
蓄電装置
13日前
トヨタ自動車株式会社
蓄電装置
13日前
トヨタ自動車株式会社
制御装置
今日
トヨタ自動車株式会社
塗工装置
13日前
トヨタ自動車株式会社
蓄電装置
13日前
トヨタ自動車株式会社
予測モデル
6日前
トヨタ自動車株式会社
電池パック
1日前
トヨタ自動車株式会社
電気自動車
2日前
トヨタ自動車株式会社
電極活物質
6日前
トヨタ自動車株式会社
正極活物質
今日
続きを見る
他の特許を見る