TOP
|
特許
|
意匠
|
商標
特許ウォッチ
Twitter
他の特許を見る
公開番号
2025180943
公報種別
公開特許公報(A)
公開日
2025-12-11
出願番号
2024088642
出願日
2024-05-31
発明の名称
冷凍回路
出願人
トヨタ自動車株式会社
代理人
個人
,
個人
,
個人
主分類
F25B
1/00 20060101AFI20251204BHJP(冷凍または冷却;加熱と冷凍との組み合わせシステム;ヒートポンプシステム;氷の製造または貯蔵;気体の液化または固体化)
要約
【課題】2つの蒸発器を備える冷凍回路において、2つの蒸発器を異なる設定温度で使用し冷却性能を高める要求があった場合でも要求に応じる。
【解決手段】
第1蒸発器21及び第2蒸発器23と、第1コンプレッサ22及び第2コンプレッサ24とを備え、第1蒸発器21及び第1コンプレッサ22が設けられた第1流路201と、第2蒸発器23及び第2コンプレッサ24が設けられた第2流路202と、が並列に設けられている冷凍回路2。
【選択図】図1
特許請求の範囲
【請求項1】
第1蒸発器及び第2蒸発器と、第1コンプレッサ及び第2コンプレッサとを備え、
前記第1蒸発器及び前記第1コンプレッサが設けられた第1流路と、
前記第2蒸発器及び前記第2コンプレッサが設けられた第2流路と、が並列に設けられている冷凍回路。
続きを表示(約 160 文字)
【請求項2】
請求項1に記載の冷凍回路であって、
前記第1蒸発器と前記第1コンプレッサとの間における前記第1流路と、前記第2蒸発器と前記第2コンプレッサとの間における前記第2流路とを繋ぐ連結流路が設けられ、
前記連結流路には、前記連結流路を流れる冷媒の流量を調整する切替弁が設けられている、冷凍回路。
発明の詳細な説明
【技術分野】
【0001】
本開示は、冷凍回路に関する。
続きを表示(約 1,400 文字)
【背景技術】
【0002】
下記特許文献1に記載されているように、1つのコンプレッサに対して2つの蒸発器が並列に接続された冷凍回路が知られている。
【先行技術文献】
【特許文献】
【0003】
特開2003-222420号公報
【発明の概要】
【発明が解決しようとする課題】
【0004】
特許文献1に開示されている冷凍回路において、2つの蒸発器を異なる設定温度で同時に使用する場合、設定温度が高い蒸発器から吐出された冷媒蒸気が、設定温度が低い蒸発器の内部圧力を上昇させる。蒸発器の温度は冷媒の種類と内部圧力とで定まるため、冷媒の種類が同じ場合内部圧力が低いほど温度が低くなり、内部圧力が高いほど温度が高くなる。従って、設定温度が低い蒸発器の内部圧力が上昇すると、冷えにくくなり設定温度との乖離が生じる。そこで特許文献1では、2つの蒸発器の下流側にそれぞれ圧力調整弁を設け、2つの蒸発器それぞれの内部圧力を調整している。
【0005】
特許文献1に記載されているように、2つの蒸発器の下流側にそれぞれ圧力調整弁を設けると、各蒸発器の内部圧力を互いに独立して変化させることができる。従って、各蒸発器の温度を同時に異なる温度とすることが可能となり、冷却時間を短縮することができる。
【0006】
しかしながら、例えば一方の蒸発器を冷房用のエバポレータとして用い、他方の蒸発器を電池冷却用のチラーとして用いる場合、互いに設定温度が異なることに加え、電池に対する高い冷却性能を求められることがある。特許文献1に記載の技術では圧力調整弁に起因する圧力損失の影響により冷却性能が十分に発揮できず、要求に応じることができない場合がある。
【0007】
本開示は、2つの蒸発器を備える冷凍回路において、2つの蒸発器を異なる設定温度で使用し冷却性能を高める要求があった場合でも要求に応じることを目的とする。
【課題を解決するための手段】
【0008】
本開示は、冷凍回路であって、第1蒸発器及び第2蒸発器と、第1コンプレッサ及び第2コンプレッサとを備え、第1蒸発器及び第1コンプレッサが設けられた第1流路と、第2蒸発器及び第2コンプレッサが設けられた第2流路と、が並列に設けられている。
【発明の効果】
【0009】
本開示によれば、2つの蒸発器を備える冷凍回路において、2つの蒸発器を異なる設定温度で使用し冷却性能を高める要求があった場合でも要求に応じることができる。
【図面の簡単な説明】
【0010】
図1は、本実施形態における冷凍回路の概略構成図である。
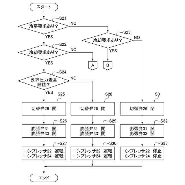
図2は、図1に示される冷凍回路の動作を説明するためのフローチャートである。
図3は、本実施形態における冷凍回路の効果を説明するためのモリエル線図である。
図4は、本実施形態の変形例における冷凍回路の概略構成図である。
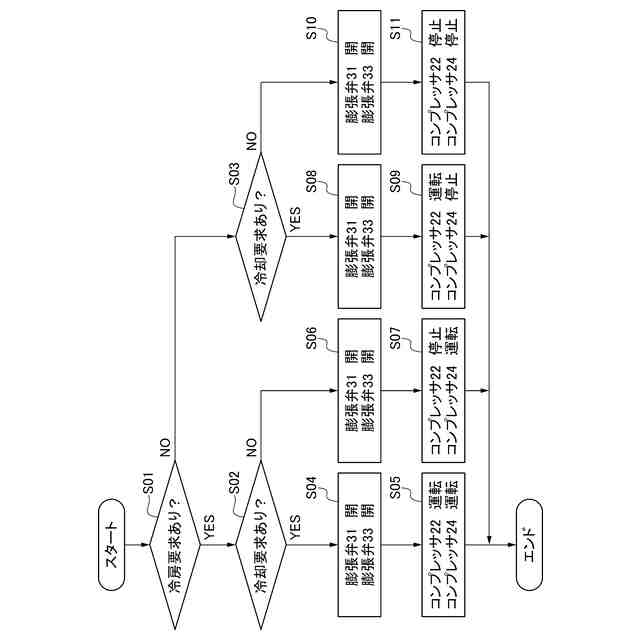
図5は、図4に示される冷凍回路の動作を説明するためのフローチャートである。
図6は、図4に示される冷凍回路の動作を説明するためのフローチャートである。
図7は、図4に示される冷凍回路の動作を説明するためのフローチャートである。
【発明を実施するための形態】
(【0011】以降は省略されています)
この特許をJ-PlatPat(特許庁公式サイト)で参照する
関連特許
トヨタ自動車株式会社
電池
21日前
トヨタ自動車株式会社
車両
21日前
トヨタ自動車株式会社
車両
7日前
トヨタ自動車株式会社
電池
13日前
トヨタ自動車株式会社
電池
13日前
トヨタ自動車株式会社
車両
1日前
トヨタ自動車株式会社
車両
22日前
トヨタ自動車株式会社
方法
6日前
トヨタ自動車株式会社
配管
22日前
トヨタ自動車株式会社
電池
27日前
トヨタ自動車株式会社
方法
今日
トヨタ自動車株式会社
電動車
21日前
トヨタ自動車株式会社
電動車
22日前
トヨタ自動車株式会社
ロータ
22日前
トヨタ自動車株式会社
タンク
6日前
トヨタ自動車株式会社
蓄電装置
13日前
トヨタ自動車株式会社
蓄電装置
13日前
トヨタ自動車株式会社
蓄電装置
13日前
トヨタ自動車株式会社
蓄電装置
13日前
トヨタ自動車株式会社
受電装置
今日
トヨタ自動車株式会社
蓄電装置
13日前
トヨタ自動車株式会社
蓄電装置
13日前
トヨタ自動車株式会社
蓄電装置
13日前
トヨタ自動車株式会社
蓄電装置
13日前
トヨタ自動車株式会社
車両装置
13日前
トヨタ自動車株式会社
蓄電セル
29日前
トヨタ自動車株式会社
制御装置
22日前
トヨタ自動車株式会社
制御装置
22日前
トヨタ自動車株式会社
学習装置
21日前
トヨタ自動車株式会社
コネクタ
21日前
トヨタ自動車株式会社
エンジン
13日前
トヨタ自動車株式会社
蓄電装置
1日前
トヨタ自動車株式会社
蓄電装置
1日前
トヨタ自動車株式会社
制御装置
21日前
トヨタ自動車株式会社
監視装置
27日前
トヨタ自動車株式会社
製造設備
27日前
続きを見る
他の特許を見る