TOP
|
特許
|
意匠
|
商標
特許ウォッチ
Twitter
他の特許を見る
公開番号
2025178793
公報種別
公開特許公報(A)
公開日
2025-12-09
出願番号
2024085604
出願日
2024-05-27
発明の名称
電気自動車
出願人
トヨタ自動車株式会社
代理人
個人
,
個人
主分類
B62D
7/06 20060101AFI20251202BHJP(鉄道以外の路面車両)
要約
【課題】スポーツカーらしいプロポーションを維持しながら、ステアリングフィールを向上させることができる電気自動車を提供する。
【解決手段】電気自動車100は、モータと、モータによる回転をドライブシャフト21に伝える減速機と、を備える駆動装置20と、ハンドル15の操作に応じて前輪10の切れ角を制御するステアリング機構と、を備える。バッテリ14は、運転席12及び助手席13の間にキャビンの前後に亘って配置されている。駆動装置20は一軸構造であり、前輪10の間に配置されている。ステアリング機構は、伝達部18と、タイロッド19と、インターミディエイトシャフト17と、キングピンと、サスペンションアームと、を備える。タイロッド19は、キングピンよりも車両前方でハブキャリアと接続している。インターミディエイトシャフト17は、車幅方向における駆動装置20の側面を通ってハンドル15と伝達部18とを接続している。
【選択図】図1
特許請求の範囲
【請求項1】
バッテリが貯留している電気によって前輪を駆動する電気自動車であり、
モータと、前記モータによる回転をドライブシャフトに伝える減速機と、を備える駆動装置と、
ハンドルの操作に応じて前記前輪の切れ角を制御するステアリング機構と、を備え、
前記バッテリは、運転席及び助手席の間にキャビンの前後に亘って配置されており、
前記駆動装置は、前記モータの回転軸の延長線上に、前記減速機と前記ドライブシャフトが配設された一軸構造であり、前記前輪の間に配置されており、
前記ステアリング機構は、
前記駆動装置の前方に配置されており、前記ハンドルの動きを車幅方向の動きに変換する伝達部と、
車幅方向における前記伝達部の両端に配設されており、左右の前記前輪が備えるハブキャリアと、前記伝達部と、を接続するタイロッドと、
前記伝達部に対して前記ハンドルの動きを伝えるインターミディエイトシャフトと、
前記ハブキャリアの回動軸であるキングピンと、
車体と、前記キングピンとを接続するサスペンションアームと、を備え、
前記サスペンションアームは、前記車体と複数のブッシュを通じて接続しており、
複数の前記ブッシュのうち、車両前方に配設されている前記ブッシュは、車両後方に配設されている前記ブッシュよりも剛性が高くなっており、
前記タイロッドは、前記キングピンよりも車両前方で前記ハブキャリアと接続しており、
前記インターミディエイトシャフトは、車幅方向における前記駆動装置の側面を通って前記ハンドルと前記伝達部とを接続している
電気自動車。
続きを表示(約 890 文字)
【請求項2】
前記伝達部は、前記ドライブシャフトよりも下方に配置されており、
前記インターミディエイトシャフトは、前記ドライブシャフトの下方を通って前記ハンドルと前記伝達部とを接続している
請求項1に記載の電気自動車。
【請求項3】
車幅方向において、前記モータ、前記減速機、前記ドライブシャフト、前記前輪の順に並んで配置されており、
前記駆動装置において、前記モータと、前記減速機と、はハウジングに囲まれており、
前記ドライブシャフトは、前記減速機と前記ハウジングの内部で接続しており、前記ハウジングの車幅方向における車両外側の端部から突き出て前記前輪と接続しており、
前記ハウジングは、前記モータ及び前記減速機を囲んでいる部分である中央部よりも、前記ドライブシャフトを囲んでいる部分である前記端部の方が細く構成されており、
前記インターミディエイトシャフトは、車幅方向における前記中央部の側面、かつ、前記端部の下方を通って前記ハンドルと前記伝達部とを接続している
請求項2に記載の電気自動車。
【請求項4】
前記前輪と、後輪と、にブレーキキャリパーが設置されており、
前記前輪に設置される前記ブレーキキャリパーは、フロント側ブレーキディスクにおける車両後方側に配置されており、
前記後輪に設置される前記ブレーキキャリパーは、リア側ブレーキディスクにおける車両前方側に配置されている
請求項1~請求項3の何れか一項に記載の電気自動車。
【請求項5】
前記ステアリング機構は、前記ハンドルの操舵に必要な力を軽減する電動パワーステアリングシステムを備え、
前記電動パワーステアリングシステムは、前記ハンドルの動きに応じて駆動するパワーステアリング用モータを備え、
前記パワーステアリング用モータは、前記駆動装置よりも前方に配置されており、かつ、前記伝達部に接続されている
請求項1~請求項3の何れか一項に記載の電気自動車。
発明の詳細な説明
【技術分野】
【0001】
この発明は電気自動車に関するものである。
続きを表示(約 2,300 文字)
【背景技術】
【0002】
特許文献1には、電気自動車が開示されている。この電気自動車は、運転席と助手席の間にバッテリが配置されている。
【先行技術文献】
【特許文献】
【0003】
特開2023-520139号公報
【発明の概要】
【発明が解決しようとする課題】
【0004】
スポーツタイプの電気自動車の需要がある。電気自動車において、スポーツカーらしいプロポーションを実現するためには、運転席及び助手席よりも前方の部分の車高を低くし、かつ、車室内の着座位置を低くすることが望ましい。また、スポーツカーらしい、ステアリングフィールの良さも望まれている。
【課題を解決するための手段】
【0005】
上記課題を解決するための電気自動車は、バッテリが貯留している電気によって前輪を駆動する。電気自動車は、モータと、前記モータによる回転をドライブシャフトに伝える減速機と、を備える駆動装置を備える。電気自動車は、ハンドルの操作に応じて前記前輪の切れ角を制御するステアリング機構を備える。電気自動車において、前記バッテリは、運転席及び助手席の間にキャビンの前後に亘って配置されている。電気自動車において、前記駆動装置は、前記モータの回転軸の延長線上に、前記減速機と前記ドライブシャフトが配設された一軸構造であり、前記前輪の間に配置されている。電気自動車において、前記ステアリング機構は、前記駆動装置の前方に配置されており、前記ハンドルの動きを車幅方向の動きに変換する伝達部を備える。電気自動車において、前記ステアリング機構は、車幅方向における前記伝達部の両端に配設されており、左右の前記前輪が備えるハブキャリアと、前記伝達部と、を接続するタイロッドを備える。電気自動車において、前記ステアリング機構は、前記伝達部に対して前記ハンドルの動きを伝えるインターミディエイトシャフトを備える。電気自動車において、前記ステアリング機構は、前記ハブキャリアの回動軸であるキングピンを備える。電気自動車において、前記ステアリング機構は、車体と、前記キングピンとを接続するサスペンションアームを備える。電気自動車において、前記サスペンションアームは、前記車体と複数のブッシュを通じて接続している。電気自動車において、複数の前記ブッシュのうち、車両前方に配設されている前記ブッシュは、車両後方に配設されている前記ブッシュよりも剛性が高くなっている。電気自動車において、前記タイロッドは、前記キングピンよりも車両前方で前記ハブキャリアと接続している。電気自動車において、前記インターミディエイトシャフトは、車幅方向における前記駆動装置の側面を通って前記ハンドルと前記伝達部とを接続している。
【発明の効果】
【0006】
上記の電気自動車は、機器のレイアウトを工夫することによって、スポーツカーらしいプロポーションを維持しながら、ステアリングフィールを向上させている。
【図面の簡単な説明】
【0007】
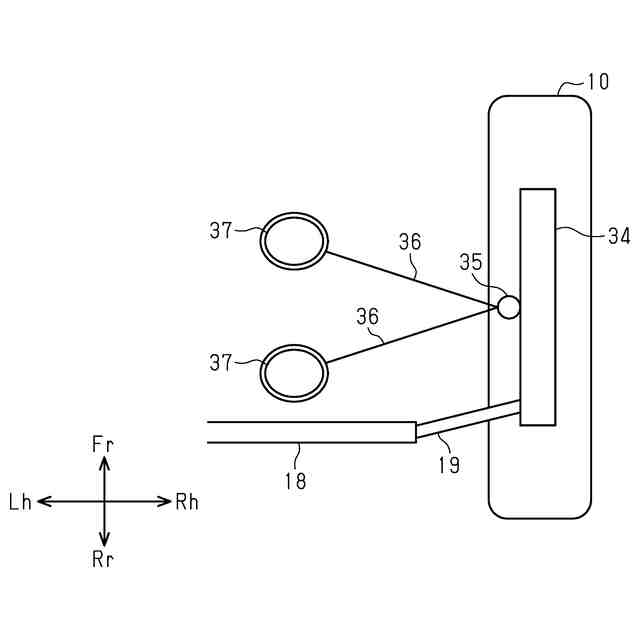
図1は、実施形態の電気自動車を上から見たときのバッテリ及びその周辺の機器の配置を示す模式図である。
図2は、実施形態の電気自動車を横から見たときのバッテリ及びその周辺の機器の配置を示す模式図である。
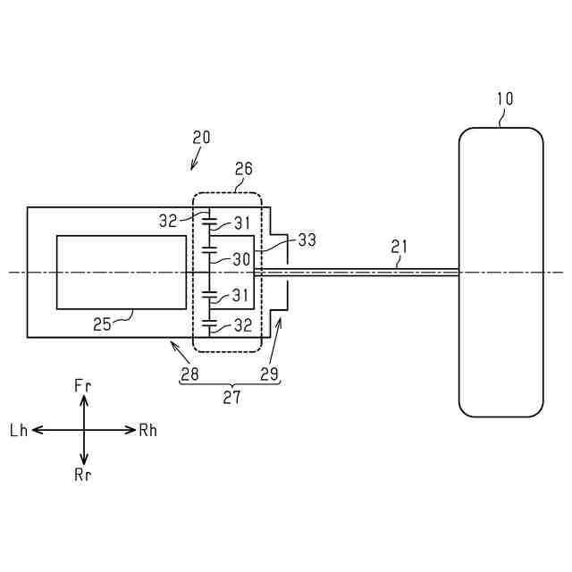
図3は、実施形態の電気自動車が備える駆動装置を示す模式図である。
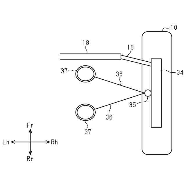
図4は、実施形態の電気自動車においてステアリング機構と前輪とが接続している態様を示す模式図である。
図5は、実施形態の電気自動車が高速度域で左に旋回しているときの前輪の態様を示す模式図である。
図6は、タイロッドがキングピンよりも車両後方でハブキャリアと接続している場合における、ステアリング機構と前輪との接続の態様を示す模式図である。
図7は、実施形態の電気自動車における、駆動装置と、インターミディエイトシャフトと、伝達部と、の位置関係を示す図である。
図8は、実施形態の電気自動車が備えるブレーキディスク及びブレーキキャリパーの配置を示す模式図である。
【発明を実施するための形態】
【0008】
以下、電気自動車の一実施形態について、図1~図8を参照して説明する。
なお、図1~図8には、矢印で方向が示されている。図1~図6及び図8において、Frは、電気自動車100の前方向を示している。図1~図6及び図8において、Rrは、電気自動車100の後ろ方向を示している。図1及び図3~図7において、Rhは、電気自動車100の前方を向いている搭乗者から見た場合の右側を示している。図1及び図3~図7において、Lhは、電気自動車100の前方を向いている搭乗者から見た場合の左側を示している。
【0009】
<バッテリ14及び駆動装置20の配置>
図1は、電気自動車100を上から見たときのバッテリ14とその周辺の機器の配置を示している。また、図2は、電気自動車100を図1中のLhの方向から見たときのバッテリ14とその周辺の機器の配置を示している。
【0010】
図1に示すように、電気自動車100は、バッテリ14を備える。図1及び図2に示すように、バッテリ14は、運転席12と助手席13の間にキャビンの前後に亘って配設されている。バッテリ14には、複数のバッテリセルが収容されている。バッテリ14は、バッテリセルに電気を貯留する。
(【0011】以降は省略されています)
この特許をJ-PlatPat(特許庁公式サイト)で参照する
関連特許
トヨタ自動車株式会社
蓄電装置
1日前
トヨタ自動車株式会社
電気自動車
1日前
トヨタ自動車株式会社
予測モデル
1日前
トヨタ自動車株式会社
電気自動車
1日前
トヨタ自動車株式会社
電気自動車
1日前
トヨタ自動車株式会社
電気自動車
1日前
トヨタ自動車株式会社
電気自動車
1日前
トヨタ自動車株式会社
車両側部構造
5日前
トヨタ自動車株式会社
車両下部構造
5日前
トヨタ自動車株式会社
回転トランス
1日前
トヨタ自動車株式会社
車両前部構造
5日前
トヨタ自動車株式会社
充電制御装置
1日前
トヨタ自動車株式会社
車両締結構造
5日前
トヨタ自動車株式会社
車両下部構造
5日前
トヨタ自動車株式会社
車両の配管構造
1日前
トヨタ自動車株式会社
ダッシュパネル
1日前
トヨタ自動車株式会社
ハイブリッド車両
5日前
トヨタ自動車株式会社
車載レーダ装置取付構造
5日前
トヨタ自動車株式会社
情報処理装置及びシステム
1日前
トヨタ自動車株式会社
車体への空調装置の取付構造
1日前
株式会社SOKEN
センサ装置
1日前
トヨタ自動車株式会社
端部絶縁された電極体の製造方法
5日前
トヨタ自動車株式会社
電子制御装置、通信ネットワークシステム
1日前
株式会社SOKEN
車両用帯電制御装置
1日前
トヨタ自動車株式会社
運転者の一瞥挙動を管理するシステム及び方法
5日前
株式会社豊田自動織機
蓄電モジュール製造方法
1日前
株式会社豊田中央研究所
不活性化方法及び不活性化装置
5日前
トヨタ自動車株式会社
仮想的なマークを使用して車両の自動制御を移転するシステム及び方法
5日前
株式会社デンソー
衝突判定装置
1日前
トヨタ自動車株式会社
複数の指のジェスチャを使用して車両内のタッチスクリーンを制御するためのユーザインターフェースの提供
5日前
トヨタ自動車株式会社
負極活物質、リチウムイオン電池および負極活物質の製造方法
1日前
トヨタ自動車株式会社
車両用表示制御装置、車両用表示システム、車両用表示制御方法及びプログラム
5日前
個人
カート
5か月前
個人
走行装置
5か月前
個人
三輪バイク
1か月前
個人
台車
20日前
続きを見る
他の特許を見る