TOP
|
特許
|
意匠
|
商標
特許ウォッチ
Twitter
他の特許を見る
公開番号
2025177677
公報種別
公開特許公報(A)
公開日
2025-12-05
出願番号
2024084721
出願日
2024-05-24
発明の名称
情報処理装置
出願人
トヨタ自動車株式会社
代理人
弁理士法人秀和特許事務所
主分類
G06Q
50/40 20240101AFI20251128BHJP(計算;計数)
要約
【課題】ユーザ情報の他のユーザへの開示を抑制することを目的とする。
【解決手段】情報処理装置の制御部は、車両の位置情報、又は自宅位置の登録変更に応じて、車両のユーザが変化したことを検出する。情報処理装置の制御部は、車両のユーザが変化したことを検出した場合に、車両の旧ユーザに関するユーザ情報の削除の提案情報を旧ユーザの端末に出力する。そして、情報処理装置の制御部は、ユーザ情報の削除の指示を端末から受け付けた場合に、ユーザ情報の削除の指示をする。
【選択図】図3
特許請求の範囲
【請求項1】
車両の位置情報、又は自宅位置の登録変更に応じて、前記車両のユーザが変化したことを検出することと、
前記車両のユーザが変化したことを検出した場合に、前記車両の旧ユーザに関するユーザ情報の削除の提案情報を前記旧ユーザの端末に出力することと、
前記ユーザ情報の削除の指示を前記端末から受け付けた場合に、前記ユーザ情報の削除の指示をすることと、
を実行するように構成される制御部を備える、
情報処理装置。
発明の詳細な説明
【技術分野】
【0001】
本開示は、情報処理装置に関する。
続きを表示(約 1,500 文字)
【背景技術】
【0002】
特許文献1には、車両所有者の変更を検知する車両所有者変更検知システムが開示されている。車両所有者変更検知システムは、携帯端末と、情報処理装置と、車載情報通信装置と、を含んで構成される。車両所有者変更検知システムにおいて、車載情報通信装置は、車両の車室内において通信可能に接続された携帯端末に固有の端末固有情報を現接続端末固有情報として取得すると共に、取得した現接続端末固有情報を情報処理装置に向けて送信する。
【0003】
情報処理装置は、車両所有者として車両所有者変更検知システムの利用契約を行っている利用契約者を特定するための契約者情報、及び利用契約者に紐付けられた携帯端末に係る端末固有情報を車両と関連づけて蓄積している。また、情報処理装置は、車載情報通信装置から受信した現接続端末固有情報と、受信した現接続端末固有情報の発信元である車載情報通信装置が搭載された車両に関連づけられた端末固有情報とを比較する。情報処理装置は、現接続端末固有情報と端末固有情報とが異なり、かつ、契約者情報に変更がないことを条件として、契約者情報の変更がなされていないと判定する。
【先行技術文献】
【特許文献】
【0004】
特開2022-118766号公報
【発明の概要】
【発明が解決しようとする課題】
【0005】
本開示は、ユーザ情報の他のユーザへの開示を抑制することを目的とする。
【課題を解決するための手段】
【0006】
本開示に係る情報処理装置は、
車両の位置情報、又は自宅位置の登録変更に応じて、前記車両のユーザが変化したことを検出することと、
前記車両のユーザが変化したことを検出した場合に、前記車両の旧ユーザに関するユーザ情報の削除の提案情報を前記旧ユーザの端末に出力することと、
前記ユーザ情報の削除の指示を前記端末から受け付けた場合に、前記ユーザ情報の削除の指示をすることと、
を実行するように構成される制御部を備える。
【発明の効果】
【0007】
本開示により、ユーザ情報の他のユーザへの開示を抑制することが可能となる。
【図面の簡単な説明】
【0008】
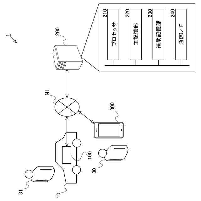
図1は、情報システムの概略構成を示す図である。
図2は、補助記憶部に保持されているユーザ情報のテーブル構成の一例を示す図である。
図3は、情報システムにおける情報処理の流れを示すシーケンス図である。
【発明を実施するための形態】
【0009】
車両のユーザが変わる場合を想定する。このとき、車両の旧ユーザに関するユーザ情報が記憶されたままになっている場合がある。そうすると、新ユーザが車両を使用した場合、旧ユーザのユーザ情報が新ユーザに開示されてしまう虞がある。そこで、本開示に係る情報処理装置は、斯様な問題を解決する。
【0010】
本開示に係る情報処理装置の制御部は、車両の位置情報、又は自宅位置の登録変更に応じて、車両のユーザが変化したことを検出する。情報処理装置の制御部は、車両のユーザが変化したことを検出した場合に、車両の旧ユーザに関するユーザ情報の削除の提案情報を旧ユーザの端末に出力する。そして、制御部は、ユーザ情報の削除の指示を端末から受け付けた場合に、ユーザ情報の削除の指示をする。
(【0011】以降は省略されています)
この特許をJ-PlatPat(特許庁公式サイト)で参照する
関連特許
トヨタ自動車株式会社
車両
1か月前
トヨタ自動車株式会社
車両
16日前
トヨタ自動車株式会社
電池
1か月前
トヨタ自動車株式会社
車体
1か月前
トヨタ自動車株式会社
方法
29日前
トヨタ自動車株式会社
車両
1か月前
トヨタ自動車株式会社
車両
1日前
トヨタ自動車株式会社
方法
今日
トヨタ自動車株式会社
車両
1か月前
トヨタ自動車株式会社
電池
21日前
トヨタ自動車株式会社
治具
1か月前
トヨタ自動車株式会社
方法
1か月前
トヨタ自動車株式会社
車体
29日前
トヨタ自動車株式会社
方法
1か月前
トヨタ自動車株式会社
方法
1か月前
トヨタ自動車株式会社
車両
1か月前
トヨタ自動車株式会社
配管
16日前
トヨタ自動車株式会社
電池
15日前
トヨタ自動車株式会社
電池
7日前
トヨタ自動車株式会社
電池
1か月前
トヨタ自動車株式会社
方法
1か月前
トヨタ自動車株式会社
車両
1か月前
トヨタ自動車株式会社
電池
7日前
トヨタ自動車株式会社
車両
15日前
トヨタ自動車株式会社
車両
1か月前
トヨタ自動車株式会社
車両
1か月前
トヨタ自動車株式会社
車両
29日前
トヨタ自動車株式会社
車両
29日前
トヨタ自動車株式会社
モータ
1か月前
トヨタ自動車株式会社
モータ
28日前
トヨタ自動車株式会社
タンク
今日
トヨタ自動車株式会社
サーバ
1か月前
トヨタ自動車株式会社
モータ
1か月前
トヨタ自動車株式会社
電動機
1か月前
トヨタ自動車株式会社
電動車
16日前
トヨタ自動車株式会社
蓄電池
29日前
続きを見る
他の特許を見る