TOP
|
特許
|
意匠
|
商標
特許ウォッチ
Twitter
他の特許を見る
公開番号
2025179321
公報種別
公開特許公報(A)
公開日
2025-12-10
出願番号
2024085993
出願日
2024-05-28
発明の名称
情報処理装置
出願人
トヨタ自動車株式会社
代理人
弁理士法人秀和特許事務所
主分類
G01C
21/34 20060101AFI20251203BHJP(測定;試験)
要約
【課題】ユーザごとに最適化されたルートを提供する。
【解決手段】車両の出発地及び目的地を取得することと、出発地及び目的地に応じて車両の第一ルートを生成することと、第一条件に応じて第一ルート上で事故の発生に関連するポイントである危険ポイントを特定することと、第二条件に応じて第一ルート上で車両のユーザが苦手とするポイントである苦手ポイントを特定することと、危険ポイント又は苦手ポイントが第一ルートよりも少ない第二ルートを生成することと、生成した第二ルートを出力することと、を実行するように構成された制御部を備える。
【選択図】図5
特許請求の範囲
【請求項1】
車両の出発地及び目的地を取得することと、
前記出発地及び前記目的地に応じて前記車両の第一ルートを生成することと、
第一条件に応じて前記第一ルート上で事故の発生に関連するポイントである危険ポイントを特定することと、
第二条件に応じて前記第一ルート上で前記車両のユーザが苦手とするポイントである苦手ポイントを特定することと、
前記危険ポイント又は前記苦手ポイントが前記第一ルートよりも少ない第二ルートを生成することと、
生成した前記第二ルートを出力することと、
を実行するように構成された制御部を備える情報処理装置。
続きを表示(約 470 文字)
【請求項2】
前記第一条件は、地理的条件、道路交通情報に応じた条件、複数の車両から取得した条件、天気に応じた条件、及び時間帯に応じた条件の少なくとも一つの条件である、
請求項1に記載の情報処理装置。
【請求項3】
前記第二条件は、前記ユーザにより選択された条件、前記ユーザの車両から取得した条件、天気に応じた条件、及び時間帯に応じた条件の少なくとも一つの条件である、
請求項1に記載の情報処理装置。
【請求項4】
前記制御部は、前記危険ポイント及び前記苦手ポイントがないように前記第二ルートを生成する、
請求項1に記載の情報処理装置。
【請求項5】
前記制御部は、前記車両のユーザの端末から前記第二ルートを生成する要求を受信したことに応じて、前記第二ルートを生成し、
前記第二ルートを出力することには、前記第二ルート、前記危険ポイント及び前記苦手ポイントを表示する指令を前記車両のユーザの端末に送信することを含む、
請求項1に記載の情報処理装置。
発明の詳細な説明
【技術分野】
【0001】
本開示は、情報処理装置に関する。
続きを表示(約 1,700 文字)
【背景技術】
【0002】
無線通信端末の現在地における危険度を付与した危険情報を参照して、単位区間あたりの危険度が所定レベル以下となるようにルート情報を生成し、無線通信端末に送信することが知られている(例えば、特許文献1を参照。)。
【先行技術文献】
【特許文献】
【0003】
特開2007-333423号公報
特開2017-091265号公報
【発明の概要】
【発明が解決しようとする課題】
【0004】
本開示の目的は、ユーザごとに最適化されたルートを提供することにある。
【課題を解決するための手段】
【0005】
本開示の態様の1つは、車両の出発地及び目的地を取得することと、前記出発地及び前記目的地に応じて前記車両の第一ルートを生成することと、第一条件に応じて前記第一ルート上で事故の発生に関連するポイントである危険ポイントを特定することと、第二条件に応じて前記第一ルート上で前記車両のユーザが苦手とするポイントである苦手ポイントを特定することと、前記危険ポイント又は前記苦手ポイントが前記第一ルートよりも少ない第二ルートを生成することと、生成した前記第二ルートを出力することと、を実行するように構成された制御部を備える情報処理装置である。
【0006】
本開示は、上記情報処理装置の処理をコンピュータが実行する情報処理方法として捉えることもできる。また、本開示は、上記情報処理方法をコンピュータに実行させるための情報処理プログラム又は該情報処理プログラムを格納する非一時的記憶媒体として捉えることもできる。
【発明の効果】
【0007】
本開示によれば、ユーザごとに最適化されたルートを提供することができる。
【図面の簡単な説明】
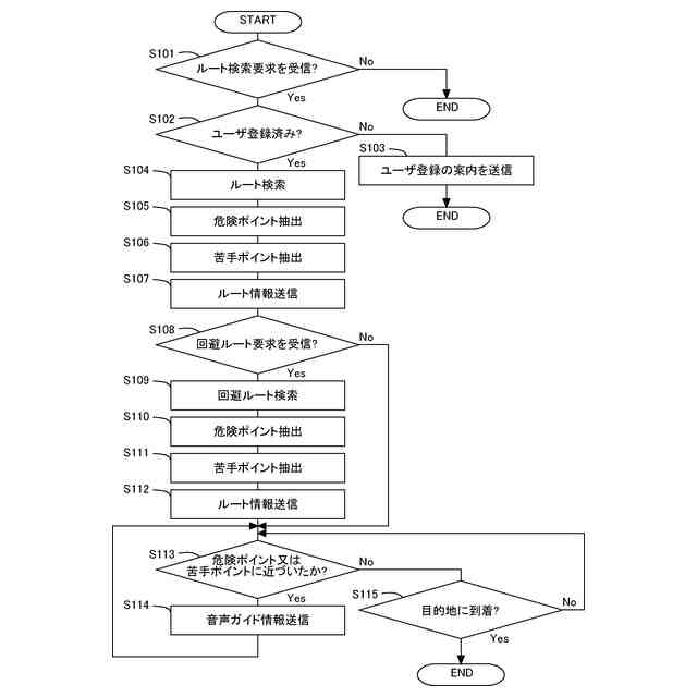
【0008】
実施形態に係るシステムを構成する車両、ユーザ端末、及びサーバのそれぞれの構成の一例を概略的に示すブロック図である。
ルート検索後にユーザ端末のタッチパネルに出力される画像を示した図である。
ルートの再検索後にユーザ端末のタッチパネルに出力される画像を示した図である。
実施形態に係るルートの提案を行うときのシステムの全体の処理を示すシーケンス図である。
実施形態に係るサーバにおける処理を示したフローチャートである。
【発明を実施するための形態】
【0009】
車両を運転するユーザごとに苦手とする状況が異なる。そのため、システムが複数の車
両が収集したデータに基づいて各区間の危険度を設定し、その危険度に応じてルートを生成しても、ユーザによっては最適なルートを提案しているとはいえない。そこで、本開示の態様の1つである情報処理装置の制御部は、車両の出発地及び目的地を取得する。出発地は、車両の現在地でもよい。出発地及び目的地はユーザが入力してもよい。また、制御部は、出発地及び目的地に応じて車両の第一ルートを生成する。第一ルートは、出発地から目的地まで車両が走行可能なルートである。第一ルートは、例えば第一条件及び第二条件によらずに生成される。ルートは、走行距離や走行時間が短くなるように所定のルールにしたがって生成されてよい。
【0010】
また、制御部は、第一条件に応じて第一ルート上で事故の発生に関連するポイントである危険ポイントを特定する。第一条件は、例えば、地理的条件、道路交通情報に応じた条件、複数の車両から取得した条件、天気に応じた条件、及び時間帯に応じた条件の少なくとも一つの条件である。これらの条件は、事故の起こりやすさに関連している条件でもある。また、制御部は、第二条件に応じて第一ルート上で車両のユーザが苦手とするポイントである苦手ポイントを特定する。第二条件は、例えば、ユーザにより選択された条件、ユーザの車両から取得した条件、天気に応じた条件、及び時間帯に応じた条件の少なくとも一つの条件である。この苦手ポイントは、ユーザが苦手とする運転を強いるポイントでもある。
(【0011】以降は省略されています)
この特許をJ-PlatPat(特許庁公式サイト)で参照する
関連特許
個人
視触覚センサ
6日前
株式会社イシダ
表示装置
1日前
個人
計量機能付き容器
1か月前
日本精機株式会社
液面検出装置
1日前
愛知電機株式会社
外観検査装置
2日前
愛知電機株式会社
外観検査方法
2日前
株式会社イシダ
組合せ計量装置
今日
日本精機株式会社
発光表示装置
14日前
株式会社カクマル
境界杭
21日前
甲神電機株式会社
電流検出装置
1か月前
ユニパルス株式会社
トルク変換器
6日前
株式会社トプコン
測量装置
13日前
ユニパルス株式会社
トルク変換器
6日前
ユニパルス株式会社
トルク変換器
6日前
IMV株式会社
振動試験装置
今日
大成建設株式会社
風洞実験装置
1か月前
日本特殊陶業株式会社
ガスセンサ
13日前
日本特殊陶業株式会社
ガスセンサ
29日前
日本信号株式会社
距離画像センサ
1か月前
個人
計量具及び計量機能付き容器
1か月前
日本特殊陶業株式会社
ガスセンサ
7日前
大同特殊鋼株式会社
形状測定方法
今日
個人
非接触による電磁パルスの測定方法
1か月前
日本特殊陶業株式会社
ガスセンサ
6日前
個人
液位検視及び品質監視システム
29日前
日置電機株式会社
絶縁抵抗測定装置
6日前
日本特殊陶業株式会社
センサ
15日前
キーコム株式会社
画像作成システム
21日前
本陣水越株式会社
車載式計測標的物
8日前
株式会社タイガーカワシマ
揚穀装置
13日前
株式会社不二越
X線測定装置
1か月前
株式会社エルメックス
希釈液収容容器
1か月前
ユニパルス株式会社
トルク変換器、調整部材
6日前
理研計器株式会社
ガス検知装置
21日前
スズキ株式会社
タイヤ径算出システム
7日前
株式会社マグネア
磁界検出素子
1か月前
続きを見る
他の特許を見る