TOP
|
特許
|
意匠
|
商標
特許ウォッチ
Twitter
他の特許を見る
10個以上の画像は省略されています。
公開番号
2025179383
公報種別
公開特許公報(A)
公開日
2025-12-10
出願番号
2024086097
出願日
2024-05-28
発明の名称
電池パック
出願人
トヨタ自動車株式会社
代理人
弁理士法人酒井国際特許事務所
主分類
H01M
50/242 20210101AFI20251203BHJP(基本的電気素子)
要約
【課題】電池モジュールの積層方向に対して垂直な方向からの荷重が入力される場合であっても電池セルがケースと干渉することを抑制すること。
【解決手段】複数の電池セルが積層した積層体を含む電池モジュールと、複数の電池モジュールを収容するケースと、を備え、ケースの内部ではケースの幅方向に複数の電池モジュールが並んで配置されている電池パックであって、隣接する電池モジュール同士の間に配置され、電池モジュールの側面全域と対向する遮熱板を備え、複数の電池モジュールのうちの少なくともケースの幅方向で最も外側に配置された電池モジュールでは、積層体の積層方向中央に位置する電池セルが遮熱板に固定されている。
【選択図】図2
特許請求の範囲
【請求項1】
複数の電池セルが積層した積層体を含む電池モジュールと、
複数の前記電池モジュールを収容するケースと、
を備え、
前記ケースの内部では前記ケースの幅方向に複数の前記電池モジュールが並んで配置されている電池パックであって、
隣接する前記電池モジュール同士の間に配置され、前記電池モジュールの側面全域と対向する遮熱板を備え、
複数の前記電池モジュールのうちの少なくとも前記ケースの幅方向で最も外側に配置された電池モジュールでは、前記積層体の積層方向中央に位置する前記電池セルが前記遮熱板に固定されている
ことを特徴とする電池パック。
発明の詳細な説明
【技術分野】
【0001】
本発明は、電池パックに関する。
続きを表示(約 1,500 文字)
【背景技術】
【0002】
特許文献1には、複数の電池セルが積層した電池モジュールをケース内に複数列に配置した状態で収容した電池パックが開示されている。
【先行技術文献】
【特許文献】
【0003】
特開2023-107092号公報
【発明の概要】
【発明が解決しようとする課題】
【0004】
電池モジュールの積層方向に対して垂直な方向から電池パックに荷重が作用する場合、ケース内において電池セルがケースの幅方向に飛び出し、ケースと干渉する虞がある。電池セルがケースの内面と干渉すると電池セルが変形してしまう。電池セルの変形は発煙や発火に繋がるため、電池セルの変形を防止することが望まれる。
【0005】
本発明は、上記事情に鑑みてなされたものであって、電池モジュールの積層方向に対して垂直な方向からの荷重が入力される場合であっても電池セルがケースと干渉することを抑制することができる電池パックを提供することを目的とする。
【課題を解決するための手段】
【0006】
本発明は、複数の電池セルが積層した積層体を含む電池モジュールと、複数の前記電池モジュールを収容するケースと、を備え、前記ケースの内部では前記ケースの幅方向に複数の前記電池モジュールが並んで配置されている電池パックであって、隣接する前記電池モジュール同士の間に配置され、前記電池モジュールの側面全域と対向する遮熱板を備え、複数の前記電池モジュールのうちの少なくとも前記ケースの幅方向で最も外側に配置された電池モジュールでは、前記積層体の積層方向中央に位置する前記電池セルが前記遮熱板に固定されていることを特徴とする。
【発明の効果】
【0007】
本発明では、電池モジュールの積層方向に対して垂直な方向からの荷重が入力される場合であっても電池セルがケースと干渉することを抑制することができる。
【図面の簡単な説明】
【0008】
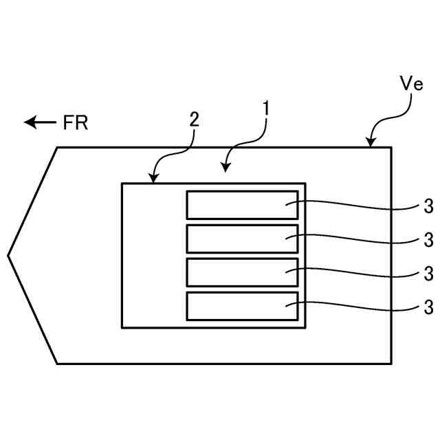
図1は、実施形態における電池パックを搭載した車両を示す模式図である。
図2は、電池パックの構造を説明するための図である。
図3は、ケースの内面と電池モジュールとの配置関係を説明するための図である。
図4は、車両の側面衝突時を説明するための図である。
図5は、側面衝突による荷重が電池パックに作用する場合を説明するための図である。
図6は、電池パックにおける側面衝突の荷重入力時の状態を示す図である。
図7は、比較例の電池パックの構造を説明するための図である。
図8は、比較例におけるケースの内面と電池モジュールとの配置関係を説明するための図である。
図9は、比較例の構造において側面衝突による荷重が電池パックに作用する場合を説明するための図である。
図10は、比較例の電池パックにおける側面衝突の荷重入力時の状態を示す図である。
【0009】
以下、本発明の実施形態における電池パックについて具体的に説明する。なお、本発明は、以下に説明する実施形態に限定されるものではない。
【0010】
図1は、実施形態における電池パックを搭載した車両を示す模式図である。電池パック1は、車両Veに搭載されている。車両Veは電池パック1に蓄えた電力を使用して走行する。電池パック1は、ケース2と、複数の電池モジュール3とを備える。なお、図1には車両Veの上面視が示されている。
(【0011】以降は省略されています)
この特許をJ-PlatPat(特許庁公式サイト)で参照する
関連特許
トヨタ自動車株式会社
車両
1日前
トヨタ自動車株式会社
方法
6日前
トヨタ自動車株式会社
方法
今日
トヨタ自動車株式会社
制御装置
6日前
トヨタ自動車株式会社
制御装置
6日前
トヨタ自動車株式会社
駆動装置
今日
トヨタ自動車株式会社
蓄電装置
1日前
トヨタ自動車株式会社
エンジン
今日
トヨタ自動車株式会社
接合構造
今日
トヨタ自動車株式会社
蓄電装置
2日前
トヨタ自動車株式会社
蓄電装置
1日前
トヨタ自動車株式会社
冷凍回路
今日
トヨタ自動車株式会社
車載装置
1日前
トヨタ自動車株式会社
受電装置
今日
トヨタ自動車株式会社
制御装置
今日
トヨタ自動車株式会社
電池パック
1日前
トヨタ自動車株式会社
電気自動車
2日前
トヨタ自動車株式会社
予測モデル
2日前
トヨタ自動車株式会社
電池パック
1日前
トヨタ自動車株式会社
電気自動車
2日前
トヨタ自動車株式会社
電気自動車
2日前
トヨタ自動車株式会社
正極活物質
今日
トヨタ自動車株式会社
電極活物質
6日前
トヨタ自動車株式会社
予測モデル
6日前
トヨタ自動車株式会社
電気自動車
2日前
トヨタ自動車株式会社
電気自動車
2日前
トヨタ自動車株式会社
車両制御装置
6日前
トヨタ自動車株式会社
情報処理装置
6日前
トヨタ自動車株式会社
情報処理装置
6日前
トヨタ自動車株式会社
車両制御装置
1日前
トヨタ自動車株式会社
情報処理装置
6日前
トヨタ自動車株式会社
車両下部構造
6日前
トヨタ自動車株式会社
車両側部構造
6日前
トヨタ自動車株式会社
車両前部構造
6日前
トヨタ自動車株式会社
回転トランス
2日前
トヨタ自動車株式会社
本人認証方法
1日前
続きを見る
他の特許を見る