TOP
|
特許
|
意匠
|
商標
特許ウォッチ
Twitter
他の特許を見る
公開番号
2025177869
公報種別
公開特許公報(A)
公開日
2025-12-05
出願番号
2024085006
出願日
2024-05-24
発明の名称
情報処理装置
出願人
トヨタ自動車株式会社
代理人
弁理士法人秀和特許事務所
主分類
B60R
25/20 20130101AFI20251128BHJP(車両一般)
要約
【課題】簡易な操作で車両の始動ロックの解除を行う。
【解決手段】情報処理装置は、車両10に搭載される情報処理装置100であって、車両10が備える運転操作のための装置である運転装置に対する1つ以上の操作からなる所定の操作パターン、または、車両10に搭載された車載装置のタッチパネルへ入力されるジェスチャである所定の入力パターンを記憶することと、所定の操作パターンに合致する操作が行われたこと、または、タッチパネルへ所定の入力パターンに合致するジェスチャが入力されたことを検知した場合に、車両10の始動ロックを解除することと、を実行する制御部110を有する。
【選択図】図2
特許請求の範囲
【請求項1】
車両に搭載される情報処理装置であって、
前記車両が備える運転操作のための装置である運転装置に対する1つ以上の操作からなる所定の操作パターン、または、前記車両に搭載された車載装置のタッチパネルへ入力されるジェスチャである所定の入力パターンを記憶することと、
前記所定の操作パターンに合致する操作が行われたこと、または、前記タッチパネルへ前記所定の入力パターンに合致するジェスチャが入力されたことを検知した場合に、前記車両の始動ロックを解除することと、
を実行する制御部を有する、
情報処理装置。
発明の詳細な説明
【技術分野】
【0001】
本開示は、車両のセキュリティに関する。
続きを表示(約 1,200 文字)
【背景技術】
【0002】
車両のセキュリティレベルを高めるための技術がある。これに関し、例えば、特許文献1には、携帯機に設定されたIDコードを、メモリに記憶されたIDコードと照合し、照合結果に基づいてドアロック駆動装置またはエンジン制御部を制御するセキュリティ制御装置等が開示されている。
【先行技術文献】
【特許文献】
【0003】
特開2005-226389号公報
【発明の概要】
【発明が解決しようとする課題】
【0004】
本開示は、簡易な操作で車両の始動ロックの解除を行うことを目的とする。
【課題を解決するための手段】
【0005】
本開示の一態様は、
車両に搭載される情報処理装置であって、
前記車両が備える運転操作のための装置である運転装置に対する1つ以上の操作からなる所定の操作パターン、または、前記車両に搭載された車載装置のタッチパネルへ入力されるジェスチャである所定の入力パターンを記憶することと、前記所定の操作パターンに合致する操作が行われたこと、または、前記タッチパネルへ前記所定の入力パターンに合致するジェスチャが入力されたことを検知した場合に、前記車両の始動ロックを解除することと、を実行する制御部を有する、
情報処理装置である。
【0006】
また、他の態様として、上記情報処理方法をコンピュータに実行させるためのプログラム、または、該プログラムを非一時的に記憶したコンピュータ可読記憶媒体が挙げられる。
【発明の効果】
【0007】
本開示によれば、簡易な操作で車両の始動ロックの解除を行うことができる。
【図面の簡単な説明】
【0008】
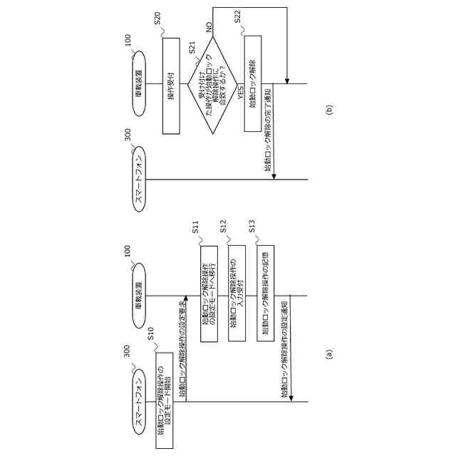
本開示の一態様に係る車載装置による始動ロック解除の概要を示す図。
実施形態に係る車載装置が有する構成要素を説明する図。
実施形態に係る車載装置の制御部が実行する処理のフローチャート。
【発明を実施するための形態】
【0009】
(概要)
ユーザが行った操作に基づいて、システムを起動可能にする車両が知られている。
【0010】
例えば、車載装置は、ディスプレイ上で入力されたPIN(Personal Identification Number)が、車載装置に予め記憶されているPINに合致した場合に、車両を始動可能にする。または、ユーザが、ユーザに関連付けられたスマ
ートフォン等の端末上でアプリケーションを起動して、車両の始動を要求する操作を行った場合に、車載装置は、始動ロックを解除し、車両システムを始動させる。なお、以降の説明において、始動ロックとは、車両の走行システムの始動を禁止するためのロックのことを指す。
(【0011】以降は省略されています)
この特許をJ-PlatPat(特許庁公式サイト)で参照する
関連特許
トヨタ自動車株式会社
方法
1か月前
トヨタ自動車株式会社
車両
1か月前
トヨタ自動車株式会社
車両
1か月前
トヨタ自動車株式会社
配管
16日前
トヨタ自動車株式会社
方法
1か月前
トヨタ自動車株式会社
車両
16日前
トヨタ自動車株式会社
電池
1か月前
トヨタ自動車株式会社
電池
15日前
トヨタ自動車株式会社
方法
1か月前
トヨタ自動車株式会社
車両
1か月前
トヨタ自動車株式会社
車両
1日前
トヨタ自動車株式会社
方法
29日前
トヨタ自動車株式会社
電池
21日前
トヨタ自動車株式会社
治具
1か月前
トヨタ自動車株式会社
車両
15日前
トヨタ自動車株式会社
車体
29日前
トヨタ自動車株式会社
車両
1か月前
トヨタ自動車株式会社
電池
7日前
トヨタ自動車株式会社
車両
1か月前
トヨタ自動車株式会社
車両
1か月前
トヨタ自動車株式会社
電池
7日前
トヨタ自動車株式会社
方法
1か月前
トヨタ自動車株式会社
車両
29日前
トヨタ自動車株式会社
方法
今日
トヨタ自動車株式会社
車両
1か月前
トヨタ自動車株式会社
電池
1か月前
トヨタ自動車株式会社
車両
29日前
トヨタ自動車株式会社
正極層
1か月前
トヨタ自動車株式会社
電動機
1か月前
トヨタ自動車株式会社
ロータ
16日前
トヨタ自動車株式会社
自動車
1か月前
トヨタ自動車株式会社
電動車
15日前
トヨタ自動車株式会社
モータ
1か月前
トヨタ自動車株式会社
サーバ
1か月前
トヨタ自動車株式会社
電動車
16日前
トヨタ自動車株式会社
タンク
今日
続きを見る
他の特許を見る