TOP
|
特許
|
意匠
|
商標
特許ウォッチ
Twitter
他の特許を見る
公開番号
2025177892
公報種別
公開特許公報(A)
公開日
2025-12-05
出願番号
2024085041
出願日
2024-05-24
発明の名称
車両制御装置
出願人
トヨタ自動車株式会社
代理人
弁理士法人片山特許事務所
主分類
B60W
30/20 20060101AFI20251128BHJP(車両一般)
要約
【課題】アクセルオンからアクセルオフへの切り替えによる振動やショックの発生を抑制する車両制御装置を提供する。
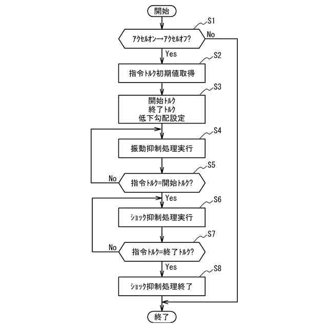
【解決手段】アクセルオンからアクセルオフに切り替えられた際の指令トルクを取得し、アクセルオンからアクセルオフに切り替えられてから指令トルクがショック抑制処理を開始する開始トルクにまで低下する時間が、駆動力源から前記ドライブシャフトまでを含む駆動系の共振周波数の逆数となるように指令トルクを低下させる振動抑制処理を実行し、指令トルクが開始トルクとなってから開始トルクよりも低い終了トルクとなるまで、振動抑制処理での指令トルクの低下勾配よりも緩やかな低下勾配で指令トルクを低下させるショック抑制処理を実行し、取得された指令トルクが小さいほど開始トルク及び終了トルクのそれぞれを低い値に設定してショック抑制処理での指令トルクの低下勾配を緩やかに設定する。
【選択図】図2
特許請求の範囲
【請求項1】
駆動力源への指令トルクに応じた前記駆動力源の出力トルクがドライブシャフトを介して駆動輪に伝達される車両に適用され、アクセルオンからアクセルオフに切り替えられた場合に前記指令トルクを低下させる車両制御装置において、
アクセルオンからアクセルオフに切り替えられた際の前記指令トルクを取得する取得部と、
アクセルオンからアクセルオフに切り替えられてから前記指令トルクがショック抑制処理を開始する開始トルクにまで低下する時間が、前記駆動力源から前記ドライブシャフトまでを含む駆動系の共振周波数の逆数となるように前記指令トルクを低下させる振動抑制処理を実行する振動抑制制御部と、
前記指令トルクが前記開始トルクとなってから前記開始トルクよりも低い終了トルクとなるまで、前記振動抑制処理での前記指令トルクの低下勾配よりも緩やかな低下勾配で前記指令トルクを低下させる前記ショック抑制処理を実行するショック抑制制御部と、
前記取得部により取得された前記指令トルクが小さいほど、前記開始トルク及び終了トルクのそれぞれを低い値に設定し、前記ショック抑制処理での前記指令トルクの低下勾配を緩やかに設定する設定部と、を備えた車両制御装置。
続きを表示(約 170 文字)
【請求項2】
前記設定部は、前記取得部により取得された前記指令トルクの大きさによらずに、前記開始トルクと前記終了トルクとの差分が一定値となるように前記開始トルク及び終了トルクを設定する、請求項1の車両制御装置。
【請求項3】
前記設定部は、前記開始トルクを正値から負値まで可変設定する、請求項2の車両制御装置。
発明の詳細な説明
【技術分野】
【0001】
本発明は、車両制御装置に関する。
続きを表示(約 1,500 文字)
【背景技術】
【0002】
アクセルオンからアクセルオフに切り替えられた際に、駆動力源の出力トルクの低下時間を、駆動力源からドライブシャフトまでを含む駆動系の共振周波数の逆数とすることにより、車両の振動を抑制する技術がある(例えば特許文献1参照)。
【先行技術文献】
【特許文献】
【0003】
特開2023-076929号公報
【発明の概要】
【発明が解決しようとする課題】
【0004】
駆動力源の出力トルクが低下すると、正回転方向の出力トルクよりも外部から駆動力源に加えられる逆回転方向のトルクが増大し、駆動系に含まれるギヤが駆動状態から被駆動状態に切り替わる。この際にギヤのバックラッシュに起因して車両にショックが発生するおそれがある。また、このようなアクセルオンからアクセルオフへの切り替えによる出力トルクの低下の応答性が悪いと、ドライバビリティが低下するおそれがある。
【0005】
そこで本発明は、アクセルオンからアクセルオフへの切り替えによる振動やショックの発生を抑制しつつドライバビリティを確保した車両制御装置を提供することを目的とする。
【課題を解決するための手段】
【0006】
上記目的は、駆動力源への指令トルクに応じた前記駆動力源の出力トルクがドライブシャフトを介して駆動輪に伝達される車両に適用され、アクセルオンからアクセルオフに切り替えられた場合に前記指令トルクを低下させる車両制御装置において、アクセルオンからアクセルオフに切り替えられた際の前記指令トルクを取得する取得部と、アクセルオンからアクセルオフに切り替えられてから前記指令トルクがショック抑制処理を開始する開始トルクにまで低下する時間が、前記駆動力源から前記ドライブシャフトまでを含む駆動系の共振周波数の逆数となるように前記指令トルクを低下させる振動抑制処理を実行する振動抑制制御部と、前記指令トルクが前記開始トルクとなってから前記開始トルクよりも低い終了トルクとなるまで、前記振動抑制処理での前記指令トルクの低下勾配よりも緩やかな低下勾配で前記指令トルクを低下させる前記ショック抑制処理を実行するショック抑制制御部と、前記取得部により取得された前記指令トルクが小さいほど、前記開始トルク及び終了トルクのそれぞれを低い値に設定し、前記ショック抑制処理での前記指令トルクの低下勾配を緩やかに設定する設定部と、を備えた車両制御装置によって達成できる。
【0007】
前記設定部は、前記取得部により取得された前記指令トルクの大きさによらずに、前記開始トルクと前記終了トルクとの差分が一定値となるように前記開始トルク及び終了トルクを設定してもよい。
【0008】
前記設定部は、前記開始トルクを正値から負値まで可変設定してもよい。
【発明の効果】
【0009】
本発明によれば、アクセルオンからアクセルオフへの切り替えによる振動やショックの発生を抑制しつつドライバビリティを確保した車両制御装置を提供できる。
【図面の簡単な説明】
【0010】
図1は、車両の概略構成図である。
図2は、ECUが実行する減速制御を例示したフローチャートである。
図3は、減速制御を例示したタイミングチャートである。
図4Aは、指令トルク初期値と開始トルク及び終了トルクとの関係を規定したマップの例示図であり、図4Bは、指令トルク初期値とショック抑制処理での低下勾配との関係を規定したマップの例示図である。
【発明を実施するための形態】
(【0011】以降は省略されています)
この特許をJ-PlatPat(特許庁公式サイト)で参照する
関連特許
トヨタ自動車株式会社
方法
1か月前
トヨタ自動車株式会社
車両
16日前
トヨタ自動車株式会社
車両
1か月前
トヨタ自動車株式会社
方法
1か月前
トヨタ自動車株式会社
車両
1か月前
トヨタ自動車株式会社
車両
1日前
トヨタ自動車株式会社
車両
29日前
トヨタ自動車株式会社
方法
今日
トヨタ自動車株式会社
電池
7日前
トヨタ自動車株式会社
電池
15日前
トヨタ自動車株式会社
電池
21日前
トヨタ自動車株式会社
電池
7日前
トヨタ自動車株式会社
車両
29日前
トヨタ自動車株式会社
方法
1か月前
トヨタ自動車株式会社
電池
1か月前
トヨタ自動車株式会社
配管
16日前
トヨタ自動車株式会社
車両
1か月前
トヨタ自動車株式会社
車体
29日前
トヨタ自動車株式会社
方法
29日前
トヨタ自動車株式会社
車両
1か月前
トヨタ自動車株式会社
方法
1か月前
トヨタ自動車株式会社
車両
15日前
トヨタ自動車株式会社
車両
1か月前
トヨタ自動車株式会社
車両
1か月前
トヨタ自動車株式会社
電池
1か月前
トヨタ自動車株式会社
車両
1か月前
トヨタ自動車株式会社
治具
1か月前
トヨタ自動車株式会社
モータ
1か月前
トヨタ自動車株式会社
モータ
28日前
トヨタ自動車株式会社
正極層
1か月前
トヨタ自動車株式会社
蓄電池
29日前
トヨタ自動車株式会社
電動車
15日前
トヨタ自動車株式会社
自動車
1か月前
トヨタ自動車株式会社
ロータ
16日前
トヨタ自動車株式会社
電動車
16日前
トヨタ自動車株式会社
サーバ
1か月前
続きを見る
他の特許を見る