TOP
|
特許
|
意匠
|
商標
特許ウォッチ
Twitter
他の特許を見る
公開番号
2025177936
公報種別
公開特許公報(A)
公開日
2025-12-05
出願番号
2024085101
出願日
2024-05-24
発明の名称
車両前部構造
出願人
トヨタ自動車株式会社
代理人
弁理士法人太陽国際特許事務所
主分類
B62D
25/08 20060101AFI20251128BHJP(鉄道以外の路面車両)
要約
【課題】コストを低減することができると共に省スペース化を実現することができる車両前部構造を得る。
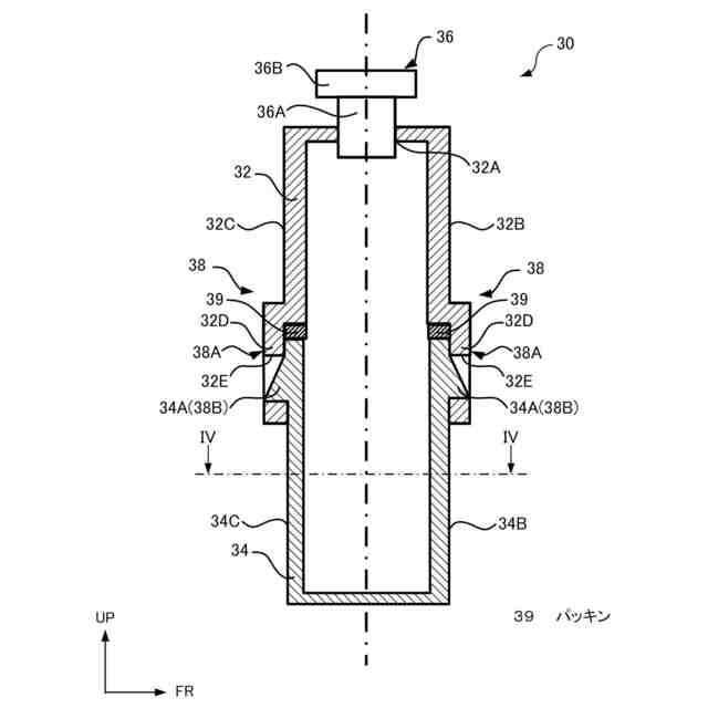
【解決手段】車両前部構造10は、内部に液体を貯留し、車両12の前部に配置されて、車両上下方向に各々分割して形成される上側タンク部32と下側タンク部34とを有するタンク30と、車両12の前端部を形成し、下側タンク部34と共にダイキャストにより一体的に形成される骨格部材13と、を備える。
【選択図】図1
特許請求の範囲
【請求項1】
内部に液体を貯留し、車両の前部に配置されて、車両上下方向に各々分割して形成される上側タンク部と下側タンク部とを有するタンクと、
前記車両の前端部を形成し、前記下側タンク部と共にダイキャストにより一体的に形成される骨格部材と、
を備える車両前部構造。
続きを表示(約 380 文字)
【請求項2】
前記骨格部材は、
左右一対のフロントサイドメンバと、
前記フロントサイドメンバに対して車幅方向外側に配置され、かつ車両前後方向に延在されたエプロンメンバと、
前記エプロンメンバの車幅方向内側に設けられたサスペンションタワーと、を備え、
前記下側タンク部は、前記サスペンションタワーの前側側壁と前記エプロンメンバの壁面とを利用して形成されている請求項1に記載の車両前部構造。
【請求項3】
前記上側タンク部と前記下側タンク部とは、パッキンを挟んで嵌合されている請求項1に記載の車両前部構造。
【請求項4】
前記タンクは、リザーブタンクである請求項1に記載の車両前部構造。
【請求項5】
前記上側タンク部は、透明部材で形成されている請求項1に記載の車両前部構造。
発明の詳細な説明
【技術分野】
【0001】
本発明は、車両前部構造に関する。
続きを表示(約 1,200 文字)
【背景技術】
【0002】
下記特許文献1には、取付方向を自由に設定できる汎用性のあるリザーブタンクの固定構造が開示されている。
【先行技術文献】
【特許文献】
【0003】
特開平11-301504号公報
【発明の概要】
【発明が解決しようとする課題】
【0004】
しかしながら、特許文献1に記載の構造では、固定具等の部品が必要となるため、この部品の分だけコストが増加してしまい、コストの点で改善の余地がある。また、リザーブタンクを設置するための設置スペースの省スペース化も望まれている。
【0005】
本発明は上記事情に鑑みてなされたものであり、コストを低減することができると共に省スペース化を実現することができる車両前部構造を得ることを目的とする。
【課題を解決するための手段】
【0006】
請求項1に記載の本発明に係る車両前部構造は、内部に液体を貯留し、車両の前部に配置されて、車両上下方向に各々分割して形成される上側タンク部と下側タンク部とを有するタンクと、前記車両の前端部を形成し、前記下側タンク部と共にダイキャストにより一体的に形成される骨格部材と、を備える。
【0007】
請求項1に記載の本発明に係る車両前部構造では、骨格部材が、車両の前端部を形成し、下側タンク部と共にダイキャストにより一体的に形成されている。そのため、下側タンク部を設置する際の溶着工程を廃止することができ、かつ下側タンク部のボデーへの取付ブラケット及びボルト等が不要となる。これにより下側タンク部分の原価、及び設置に要する部品点数や施工工程等が削減されるのでコストを低減することができる。また、下側タンク部の一体化による省スペース化を実現できる。
【0008】
請求項2に記載の本発明に係る車両前部構造は、請求項1に記載の構成において、前記骨格部材は、左右一対のフロントサイドメンバと、前記フロントサイドメンバに対して車幅方向外側に配置され、かつ車両前後方向に延在されたエプロンメンバと、前記エプロンメンバの車幅方向内側に設けられたサスペンションタワーと、を備え、前記下側タンク部は、前記サスペンションタワーの前側側壁と前記エプロンメンバの壁面とを利用して形成されている。
【0009】
請求項2に記載の本発明に係る車両前部構造では、下側タンク部が、サスペンションタワーの前側側壁とエプロンメンバの壁面とを利用して一体的に形成されているので、サスペンションタワーの剛性の向上に寄与することができる。
【0010】
請求項3に記載の本発明に係る車両前部構造は、請求項1又は請求項2に記載の構成において、前記上側タンク部と前記下側タンク部とは、パッキンを挟んで嵌合されている。
(【0011】以降は省略されています)
この特許をJ-PlatPat(特許庁公式サイト)で参照する
関連特許
トヨタ自動車株式会社
車両
1日前
トヨタ自動車株式会社
電池
7日前
トヨタ自動車株式会社
方法
今日
トヨタ自動車株式会社
電池
21日前
トヨタ自動車株式会社
電池
15日前
トヨタ自動車株式会社
配管
16日前
トヨタ自動車株式会社
車両
15日前
トヨタ自動車株式会社
電池
7日前
トヨタ自動車株式会社
車両
16日前
トヨタ自動車株式会社
タンク
今日
トヨタ自動車株式会社
電動車
15日前
トヨタ自動車株式会社
ロータ
16日前
トヨタ自動車株式会社
電動車
16日前
トヨタ自動車株式会社
蓄電装置
7日前
トヨタ自動車株式会社
蓄電装置
7日前
トヨタ自動車株式会社
制御装置
16日前
トヨタ自動車株式会社
制御装置
今日
トヨタ自動車株式会社
蓄電装置
7日前
トヨタ自動車株式会社
製造設備
21日前
トヨタ自動車株式会社
エンジン
15日前
トヨタ自動車株式会社
蓄電装置
8日前
トヨタ自動車株式会社
制御装置
16日前
トヨタ自動車株式会社
コネクタ
15日前
トヨタ自動車株式会社
蓄電装置
7日前
トヨタ自動車株式会社
蓄電装置
15日前
トヨタ自動車株式会社
エンジン
7日前
トヨタ自動車株式会社
エンジン
16日前
トヨタ自動車株式会社
蓄電装置
8日前
トヨタ自動車株式会社
処理装置
7日前
トヨタ自動車株式会社
学習装置
15日前
トヨタ自動車株式会社
制御装置
16日前
トヨタ自動車株式会社
制御装置
7日前
トヨタ自動車株式会社
監視装置
21日前
トヨタ自動車株式会社
判定装置
15日前
トヨタ自動車株式会社
制御装置
15日前
トヨタ自動車株式会社
塗工装置
7日前
続きを見る
他の特許を見る