TOP
|
特許
|
意匠
|
商標
特許ウォッチ
Twitter
他の特許を見る
10個以上の画像は省略されています。
公開番号
2025180259
公報種別
公開特許公報(A)
公開日
2025-12-11
出願番号
2024087453
出願日
2024-05-29
発明の名称
エンジン
出願人
本田技研工業株式会社
代理人
弁理士法人クシブチ国際特許事務所
主分類
F01M
1/02 20060101AFI20251204BHJP(機械または機関一般;機関設備一般;蒸気機関)
要約
【課題】エンジンの部品点数や重量を低減可能にすること。
【解決手段】クランクケース(11)とオイルパン(22)を備え、クランクケース(11)の左右に、補機(51,61)を収容する補機室(11d,11e)を有し、各補機(51,61)にオイルを供給するエンジン(1)において、左右一方の補機室(11e)のオイルを吸引し、オイルパン(22)に排出する補機室吸引用オイルポンプ(91)と、左右の補機室(11d,11e)を連通し、補機室吸引用オイルポンプ(91)の吸引力により、左右他方の補機室(11d)のオイルを、左右一方の補機室(11e)に移動させる連通路(80)を備える。
【選択図】図1
特許請求の範囲
【請求項1】
クランクケース(11)とオイルパン(22)を備え、前記クランクケース(11)の左右に、補機(51,61)を収容する補機室(11d,11e)を有し、各補機(51,61)にオイルを供給するエンジンにおいて、
左右一方の前記補機室(11e)の前記オイルを吸引し、前記オイルパン(22)に排出する補機室吸引用オイルポンプ(91)と、左右の前記補機室(11d,11e)を連通し、前記補機室吸引用オイルポンプ(91)の吸引力により、左右他方の前記補機室(11d)のオイルを、左右一方の前記補機室(11e)に移動させる連通路(80)を備える
エンジン。
続きを表示(約 760 文字)
【請求項2】
前記補機室吸引用オイルポンプ(91)のケーシング(92g)、及び、前記連通路(80)は、前記クランクケース(11)に形成される
請求項1に記載のエンジン。
【請求項3】
前記クランクケース(11)内のクランク室(11a)のオイルを吸引するクランク室吸引用オイルポンプ(92)を有し、
前記クランク室吸引用オイルポンプ(92)は、前記補機室吸引用オイルポンプ(91)と同一の軸上に配置される
請求項1に記載のエンジン。
【請求項4】
前記オイルパン(22)のオイルを潤滑箇所に供給する潤滑用オイルポンプ(41)を有し、
前記潤滑用オイルポンプ(41)は、前記クランク室吸引用オイルポンプ(92)及び前記補機室吸引用オイルポンプ(91)と同一の軸上に配置される
請求項3に記載のエンジン。
【請求項5】
前記クランクケース(11)11は左右分割式であり、
左右一方の前記クランクケース(11)に、前記クランク室吸引用オイルポンプ(92)、前記補機室吸引用オイルポンプ(91)、及び前記潤滑用オイルポンプ(41)が、同一の軸上に配置される
請求項4に記載のエンジン。
【請求項6】
左右他方の前記クランクケース(11)に、オイルポンプ駆動系のギア列(94)が配置される
請求項5に記載のエンジン。
【請求項7】
左右他方の前記クランクケース(11)は、油圧制御系補機にオイルを供給する他のオイルポンプ(95)を有し、
前記他のオイルポンプ(95)は、他の前記オイルポンプ(91,92,41)と同一の軸上に配置される
請求項5又は6に記載のエンジン。
発明の詳細な説明
【技術分野】
【0001】
本発明は、エンジンに関する。
続きを表示(約 1,800 文字)
【背景技術】
【0002】
クランクケースとオイルパンを備え、クランクケースの左右に、補機を収容する補機室を有し、各補機にオイルを供給するエンジンが知られている。この種のエンジンには、クランクケースの左側に、補機の一つを構成する発電機を収容する発電機室を有し、発電機室内に流入したオイルを吸引するオイルポンプを配置した構成が開示されている(例えば、特許文献1参照)。
【先行技術文献】
【特許文献】
【0003】
特開2023-136175号公報
【発明の概要】
【発明が解決しようとする課題】
【0004】
ところで、発電機やクラッチ等の複数の補機をエンジンの左右に振り分けた場合、各補機に供給されたオイルを吸引するためにはそれぞれオイルポンプが必要になり、エンジンの部品点数や重量の増加の原因となる。
本発明は、上述した事情に鑑みてなされたものであり、エンジンの部品点数や重量を低減可能にすることを目的とする。
【課題を解決するための手段】
【0005】
クランクケースとオイルパンを備え、前記クランクケースの左右に、補機を収容する補機室を有し、各補機にオイルを供給するエンジンにおいて、左右一方の前記補機室の前記オイルを吸引し、前記オイルパンに排出する補機室吸引用オイルポンプと、左右の前記補機室を連通し、前記補機室吸引用オイルポンプの吸引力により、左右他方の前記補機室のオイルを、左右一方の前記補機室に排出させる連通路を備えるエンジンを提供する。
【発明の効果】
【0006】
本発明によれば、エンジンの部品点数や重量を低減できる。
【図面の簡単な説明】
【0007】
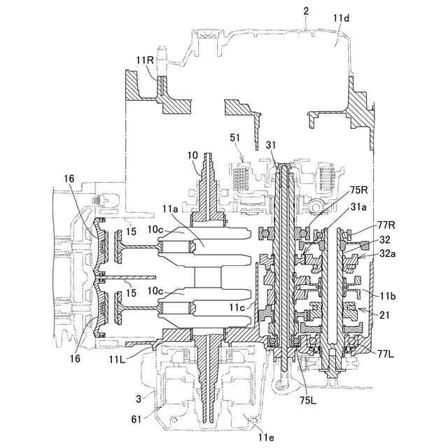
本発明の実施形態に係るエンジンの側断面図である。
エンジンを、シリンダー部、クランク軸、メイン軸、及びカウンター軸を通る面で切断した断面図である。
シリンダーブロックの端面を示す図である。
左側クランクケースを分割面側から示す図である。
右側クランクケースを分割面側から示す図である。
左右のクランクケースを締結固定した状態で連通路を周辺構成と共に示す図である。
メイン軸と左右のクランクケースの組み立ての説明に供する図である。
ポンプ軸を周辺構造と共に示す断面図である。
ポンプ軸と左右のクランクケースの組み立ての説明に供する図である。
【発明を実施するための形態】
【0008】
以下、図面を参照して本発明の実施の形態について説明する。
図1は、本発明の実施形態に係るエンジン1の側断面図である。
エンジン1は、自動二輪車に搭載される水冷式のエンジンであり、内燃機関、及びパワーユニットということもできる。エンジン1は、クランク軸10を回転自在に支持するクランクケース11と、クランクケース11の上部から前傾して前上方に延びる前気筒(前バンクとも称される)を構成するシリンダー部12Fを備える。シリンダー部12Fは、シリンダーブロック12aと、シリンダーブロック12aの上面に連結されるシリンダーヘッド12bと、シリンダーヘッド12bの上面を塞ぐヘッドカバー12cを備える。
【0009】
シリンダーブロック12aには、シリンダーボア15が形成され、シリンダーボア15には、ピストン16が設けられる。ピストン16はコンロッド17を介してクランク軸10に連結される。
シリンダーヘッド12bには、吸気ポート18a及び排気ポート18bが形成されると共に、各ポート18a、18bを開閉する吸気弁19a及び排気弁19aが配置される。シリンダーヘッド12bとヘッドカバー12cの間には、各弁19a、19bを駆動する動弁機構20が配置される。
【0010】
本説明において、前後左右及び上下といった方向の記載は、特に記載がなければエンジン1を基準にした方向であり、エンジン1を搭載する自動二輪車を基準にした方向と一致している。各図に示す符号FRはエンジン前方を示し、符号UPはエンジン上方を示し、符号LHはエンジン左方を示している。
(【0011】以降は省略されています)
この特許をJ-PlatPat(特許庁公式サイト)で参照する
関連特許
株式会社三五
排気浄化装置
7日前
株式会社SUBARU
排気浄化装置
14日前
スズキ株式会社
内燃機関の制御装置
14日前
株式会社ミクニ
二次空気供給システム
8日前
株式会社三五
ハイブリッド車の排気システム
23日前
トヨタ自動車株式会社
エンジン
14日前
トヨタ自動車株式会社
エンジン
23日前
トヨタ自動車株式会社
エンジン
22日前
スズキ株式会社
エンジン冷却システム
1日前
株式会社SUBARU
エンジン制御装置
1か月前
トヨタ自動車株式会社
異常診断装置
1か月前
トヨタ自動車株式会社
油量判定装置
1か月前
トヨタ自動車株式会社
水素エンジン
1か月前
トヨタ自動車株式会社
排気浄化装置
23日前
トヨタ自動車株式会社
車両装置
14日前
株式会社アイシン
冷却モジュール
1か月前
株式会社IHI
翼車
1日前
トヨタ自動車株式会社
内燃機関の制御装置
1か月前
トヨタ自動車株式会社
内燃機関の制御装置
1か月前
日産自動車株式会社
内燃機関
1か月前
本田技研工業株式会社
冷却液タンク
14日前
井関農機株式会社
エンジン
22日前
トヨタ自動車株式会社
オイルタンク
23日前
個人
エネルギー変換機構およびそれを利用した流体機械
3日前
いすゞ自動車株式会社
内燃機関
1日前
株式会社三五
排気浄化装置
22日前
いすゞ自動車株式会社
内燃機関
1日前
トヨタ自動車株式会社
過給機冷却システム
22日前
本田技研工業株式会社
エンジン
1日前
いすゞ自動車株式会社
排気処理装置
22日前
本田技研工業株式会社
エンジン
1日前
巨鎧精密工業股ふん有限公司
ラジエータキャップ
3日前
トヨタ自動車株式会社
冷却システム
1か月前
ダイハツインフィニアース株式会社
カバーユニット
7日前
カナデビア株式会社
排ガス処理システム
1か月前
株式会社豊田自動織機
内燃機関の制御装置
1か月前
続きを見る
他の特許を見る