TOP
|
特許
|
意匠
|
商標
特許ウォッチ
Twitter
他の特許を見る
公開番号
2025181492
公報種別
公開特許公報(A)
公開日
2025-12-11
出願番号
2024089510
出願日
2024-05-31
発明の名称
エンジン
出願人
本田技研工業株式会社
代理人
弁理士法人クシブチ国際特許事務所
主分類
F01P
3/02 20060101AFI20251204BHJP(機械または機関一般;機関設備一般;蒸気機関)
要約
【課題】効率よく暖機することができる水冷式V型のエンジンを提供する。
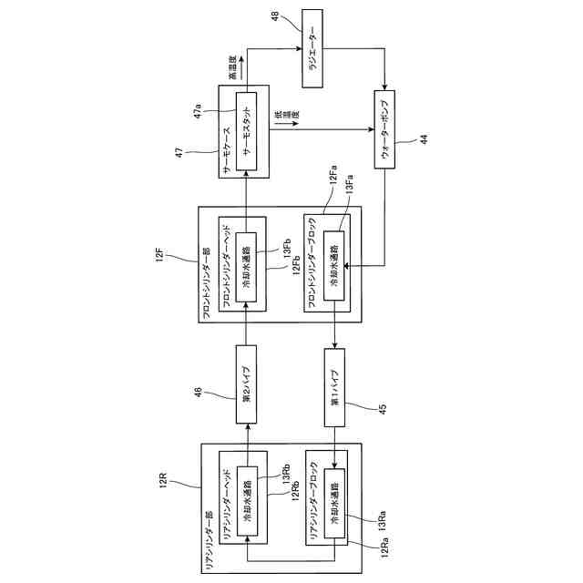
【解決手段】第1シリンダーヘッド12Fbと、第1シリンダーブロック12Faと、を有する第1シリンダー部12Fと、第2シリンダーヘッド12Rbと、第2シリンダーブロック12Raと、を有する第2シリンダー部12Rと、冷却水を圧送するウォーターポンプ44と、を備えるエンジンにおいて、ウォーターポンプ44から送り出された冷却水が、第1シリンダーブロック12Fa、第2シリンダーブロック12Rb、第2シリンダーヘッド12Ra、及び第1シリンダーヘッド12Faの順で循環する冷却水循環通路を備える。
【選択図】図2
特許請求の範囲
【請求項1】
第1シリンダーヘッド(12Fb)と、第1シリンダーブロック(12Fa)と、を有する第1シリンダー部(12F)と、第2シリンダーヘッド(12Rb)と、第2シリンダーブロック(12Ra)と、を有する第2シリンダー部(12R)と、冷却水を圧送するウォーターポンプ(44)と、を備える水冷式V型のエンジンにおいて、
ウォーターポンプ(44)から送り出された冷却水が、第1シリンダーブロック(12Fa)、第2シリンダーブロック(12Rb)、第2シリンダーヘッド(12Ra)、及び第1シリンダーヘッド(12Fa)の順で循環する冷却水循環通路を備える、
エンジン。
続きを表示(約 770 文字)
【請求項2】
前記冷却水循環通路は、前記第1シリンダーブロック(12Fa)と前記第2シリンダーブロック(12Ra)を接続する第1パイプ(45)と、前記第1シリンダーヘッド(12Fb)と第2シリンダーヘッド(12Ra)を接続する第2パイプ(46)と、を備える、
請求項1に記載のエンジン。
【請求項3】
クランク軸(10)と、前記クランク軸(10)を支持するクランクケース(11)を備え、
前記第1パイプ(45)は、前記第1シリンダーブロック(12Fa)のクランク軸方向における中心線(AX)に対していずれか一方に偏って配置される、
請求項2に記載のエンジン。
【請求項4】
クランク軸(10)と、前記クランク軸(10)を支持するクランクケース(11)を備え、
前記第1パイプ(45)及び前記第2パイプ(46)は、クランク軸方向から見て上下にずれて配置される、
請求項2に記載のエンジン。
【請求項5】
前記第1シリンダーヘッド(12Fb)の排気ポート周囲には、サーモスタット(47a)を収容するサーモケース(47)が配置され、
前記冷却水循環通路は、前記冷却水を第1シリンダーヘッド(12Fb)より下流で前記サーモスタット(47a)を経由させる、
請求項1に記載のエンジン。
【請求項6】
クランク軸(10)と、前記クランク軸(10)を支持するクランクケース(11)を備え、
前記クランク軸(10)は車体に対して左右方向に配置され、
前記ウォーターポンプ(44)は、前記クランク軸(10)の回転によって駆動され、前記クランクケース(11)の右側前方に配置される、
請求項1に記載のエンジン。
発明の詳細な説明
【技術分野】
【0001】
本発明は、エンジンに関する。
続きを表示(約 1,900 文字)
【背景技術】
【0002】
従来、前バンクと後バンクからなる2つのシリンダー部と、ウォーターポンプを備える水冷式V型エンジンが知られている(例えば、特許文献1参照)。特許文献1では、水冷式V型エンジンは、ウォーターポンプから吐出された冷却水を、分岐させて各シリンダー部のそれぞれに独立して流している。
【先行技術文献】
【特許文献】
【0003】
特開2012-215168号公報
【発明の概要】
【発明が解決しようとする課題】
【0004】
しかしながら、特許文献1のように、各シリンダー部のそれぞれに独立して冷却水を流す構成では、各シリンダー部の間で温度のばらつきが発生しやすく、各シリンダー部の温度を精度良く把握しようとすると、シリンダー部毎に温度センサーが必要になり、例えば、2つの温度センサーが必要になる。
本発明は、上述した事情に鑑みてなされたものであり、効率よく暖機することができる水冷式V型のエンジンを提供することを目的とする。
【課題を解決するための手段】
【0005】
上記目的を達成するために、第1シリンダーヘッドと、第1シリンダーブロックと、を有する第1シリンダー部と、第2シリンダーヘッドと、第2シリンダーブロックと、を有する第2シリンダー部と、冷却水を圧送するウォーターポンプと、を備える水冷式V型のエンジンにおいて、ウォーターポンプから送り出された冷却水が、第1シリンダーブロック、第2シリンダーブロック、第2シリンダーヘッド、及び第1シリンダーヘッドの順で循環する冷却水循環通路を備える。
【発明の効果】
【0006】
本発明によれば、効率よく暖機することができる水冷式V型のエンジンを提供することができる。
【図面の簡単な説明】
【0007】
エンジンの側断面図。
エンジンにおける冷却水の循環経路を示す図。
4気筒エンジンの場合のパイプ配置を示す模式図。
2気筒エンジンの場合のパイプ配置を示す模式図。
【発明を実施するための形態】
【0008】
[実施の形態]
以下、図面を参照して本発明の実施の形態について説明する。
図1は、本発明の実施形態に係るエンジン1の側断面図である。
エンジン1は、自動二輪車に搭載される水冷式V型のエンジンであり、内燃機関、及びパワーユニットということもできる。エンジン1は、クランク軸10を回転自在に支持するクランクケース11と、クランクケース11の上部から前傾して前上方に延びる前気筒(第1バンクとも称される)を構成する第1シリンダー部12Fと、クランクケース11の上部から後傾して後上方に延びる後気筒(第2バンクとも称される)を構成する第2シリンダー部12Rと、を備える。本実施の形態では、第1シリンダー部12Fをフロント側に配置し、第2シリンダー部12Rをリア側に配置した自動二輪車用のエンジン1の場合を示している。すなわち、クランク軸10の軸心方向が自動二輪車の左右方向であり、第1シリンダー12Fと第2シリンダー部12Rが前後に並ぶ横置きのエンジンである。
なお、クランク軸10の軸心方向は、本開示のクランク軸方向に相当する。
【0009】
第1シリンダー部12Fは、第1シリンダーブロック12Faと、第1シリンダーブロック12Faの上面に連結される第1シリンダーヘッド12Fbと、第1シリンダーヘッド12Fbの上面を塞ぐ第1ヘッドカバー12Fcを備える。第2シリンダー部12Rは、第2シリンダーブロック12Raと、第2シリンダーブロック12Raの上面に連結される第2シリンダーヘッド12Rbと、第2シリンダーヘッド12Rbの上面を塞ぐ第2ヘッドカバー12Rcを備える。
【0010】
各シリンダーブロック12Fa,12Raには、シリンダーボア15が形成され、シリンダーボア15には、ピストン16が設けられる。ピストン16はコンロッド17を介してクランク軸10に連結される。
各シリンダーヘッド12Fb,12Rbには、吸気ポート18a及び排気ポート18bが形成されると共に、各ポート18a,18bを開閉する吸気弁19a及び排気弁19bが配置される。各シリンダーヘッド12Fb,12Rbと各ヘッドカバー12Fc,12Rcの間には、各弁19a,19bを駆動する動弁機構20が配置される。
(【0011】以降は省略されています)
この特許をJ-PlatPat(特許庁公式サイト)で参照する
関連特許
本田技研工業株式会社
エンジン
今日
本田技研工業株式会社
エンジン
今日
本田技研工業株式会社
電解装置
2日前
本田技研工業株式会社
水素同位体分離システム
6日前
本田技研工業株式会社
人材マッチングプログラム
今日
本田技研工業株式会社
エンジン、及びエンジンの製造方法
今日
本田技研工業株式会社
三次元モデル生成装置及び三次元モデル評価システム
6日前
株式会社ダイセル
アルミニウム合金製摺動部材用潤滑剤
6日前
本田技研工業株式会社
運転評価システム、運転評価装置、運転評価方法、およびプログラム
今日
タイガースポリマー株式会社
二次電池用加圧袋およびその製造方法
6日前
本田技研工業株式会社
アウタロータ型モータ
今日
本田技研工業株式会社
運転支援装置、車両、運転支援装置の制御方法、プログラム及び記憶媒体
今日
本田技研工業株式会社
運転支援装置、車両、運転支援装置の制御方法、プログラム及び記憶媒体
今日
株式会社三五
排気浄化装置
6日前
株式会社SUBARU
排気浄化装置
13日前
スズキ株式会社
内燃機関の制御装置
13日前
トヨタ自動車株式会社
エンジン
21日前
スズキ株式会社
エンジン冷却システム
今日
トヨタ自動車株式会社
エンジン
13日前
株式会社ミクニ
二次空気供給システム
7日前
株式会社三五
ハイブリッド車の排気システム
22日前
トヨタ自動車株式会社
エンジン
22日前
株式会社SUBARU
エンジン制御装置
1か月前
トヨタ自動車株式会社
水素エンジン
1か月前
トヨタ自動車株式会社
排気浄化装置
22日前
トヨタ自動車株式会社
異常診断装置
1か月前
トヨタ自動車株式会社
油量判定装置
1か月前
トヨタ自動車株式会社
車両装置
13日前
株式会社アイシン
冷却モジュール
1か月前
株式会社IHI
翼車
今日
日産自動車株式会社
内燃機関
1か月前
トヨタ自動車株式会社
内燃機関の制御装置
1か月前
トヨタ自動車株式会社
内燃機関の制御装置
1か月前
本田技研工業株式会社
冷却液タンク
13日前
個人
エネルギー変換機構およびそれを利用した流体機械
2日前
トヨタ自動車株式会社
オイルタンク
22日前
続きを見る
他の特許を見る