TOP
|
特許
|
意匠
|
商標
特許ウォッチ
Twitter
他の特許を見る
公開番号
2025160582
公報種別
公開特許公報(A)
公開日
2025-10-23
出願番号
2024063200
出願日
2024-04-10
発明の名称
冷却システム
出願人
トヨタ自動車株式会社
代理人
弁理士法人 快友国際特許事務所
主分類
F01P
3/18 20060101AFI20251016BHJP(機械または機関一般;機関設備一般;蒸気機関)
要約
【課題】エア抜き弁を有する冷却システムを提供する。
【解決手段】冷却システムは、冷却液が流れる冷却流路と、冷却流路上に配置されるエア抜き弁とを備える。エア抜き弁は、冷却流路を外部へ連通させる排気路を有するハウジングと、ハウジングに収容されており、排気路を閉塞する上限位置と排気路を開放する下限位置との間を移動可能であるとともに、冷却流路内の圧力によって上限位置に向けて付勢される弁体と、弁体を前記下限位置に向けて付勢するとともに、冷却流路内の圧力が所定値よりも大きいときに、弁体が前記上限位置へ移動することを許容する弾性部材と、ハウジングに対して所定の閉塞位置に配置される栓体とを備える。栓体は、閉塞位置へ移動したときに、排気路を閉塞するとともに、弁体と当接して弁体を下限位置へ移動させ、閉塞位置から移動したときに、弁体が上限位置に至る前に排気路を開放する。
【選択図】図2
特許請求の範囲
【請求項1】
冷却システムであって、
冷却液が流れる冷却流路と、
前記冷却流路上に配置されるエア抜き弁と、
を備えており、
前記エア抜き弁は、
前記冷却流路を外部へ連通させる排気路を有するハウジングと、
前記ハウジングに収容されており、前記排気路を閉塞する上限位置と前記排気路を開放する下限位置との間を移動可能であるとともに、前記冷却流路内の圧力によって前記上限位置に向けて付勢される弁体と、
前記弁体を前記下限位置に向けて付勢するとともに、前記冷却流路内の前記圧力が所定値よりも大きいときに、前記弁体が前記上限位置へ移動することを許容する弾性部材と、
前記ハウジングに対して所定の閉塞位置に配置される栓体と、を備え、
前記栓体は、
前記閉塞位置へ移動したときに、前記排気路を閉塞するとともに、前記弁体と当接して前記弁体を前記下限位置へ移動させ、
前記閉塞位置から移動したときに、前記弁体が前記上限位置に至る前に前記排気路を開放する、
冷却システム。
発明の詳細な説明
【技術分野】
【0001】
本明細書が開示する技術は、冷却システムに関する。特に、エア抜き弁を有する冷却システムに関する。
続きを表示(約 2,000 文字)
【背景技術】
【0002】
特許文献1に、エア抜き弁が記載されている。このエア抜き弁は、ばねによって付勢されたバルブを備える。バルブは、ばねによる付勢力と作動液の圧力との大小に応じて移動することで、エア抜き弁を開閉する。この種のエア抜き弁は、冷却システムにも採用することができる。
【先行技術文献】
【特許文献】
【0003】
特開2006-077893号公報
【発明の概要】
【発明が解決しようとする課題】
【0004】
上記のようなエア抜き弁では、想定される作動液の圧力に応じて、ばねによる付勢力を正確に調整する必要がある。ばねによる付勢力が正しく設定されていない場合、例えば、ばねによる付勢力が高すぎると、エア抜き弁が開放されず、エアを排出することができない。一方、ばねによる付勢力が低すぎると、空気が十分に排出される前に、エア抜き弁が閉鎖されてしまう。そのことから、ばねによる付勢力の設定を含め、エア抜き弁の設計が難しく、設計の自由度が小さいという問題がある。
【課題を解決するための手段】
【0005】
上述の課題を解決するために、本明細書は、冷却システムを提供する。この冷却システムは、冷却液が流れる冷却流路と、冷却流路上に配置されるエア抜き弁とを備える。エア抜き弁は、冷却流路を外部へ連通させる排気路を有するハウジングと、ハウジングに収容されており、排気路を閉塞する上限位置と排気路を開放する下限位置との間を移動可能であるとともに、冷却流路内の圧力によって上限位置に向けて付勢される弁体と、弁体を下限位置に向けて付勢するとともに、冷却流路内の圧力が所定値よりも大きいときに、弁体が上限位置へ移動することを許容する弾性部材と、ハウジングに対して所定の閉塞位置に配置される栓体を備えている。この冷却システムにおいて、栓体は、閉塞位置へ移動したときに、排気路を閉塞するとともに、弁体と当接して弁体を下限位置へ移動させ、閉塞位置から移動したときに、弁体が上限位置に至る前に排気路を開放する。
【0006】
上記した構成では、栓体を閉塞位置から移動させた状態で、冷却流路に冷却液を充填することができる。冷却液の充填中、冷却流路内に空気が存在すると、冷却流路内の圧力が比較的に低いことから、弁体が下限位置に維持される。これにより、排気路が開放されて冷却流路から空気は排出される。空気の排出が進み、冷却流路内の圧力が上昇していくと、弁体は上限位置に移動する。これにより、排気路が閉塞されて空気(及び冷却液)の排出が中止される。その後、栓体が閉塞位置に配置されることで、排気路は栓体によって閉塞される。このとき、弁体は栓体と当接して、下限位置に拘束される。
【0007】
ここで、冷却流路内の圧力に対して、弾性部材による付勢力の設定が高すぎると、空気の排出が完了しても弁体によって排気路が閉塞されず、冷却液が無用に排出されてしまう。このような場合でも、栓体を閉塞位置に配置することで、排気路が栓体によって閉塞されて冷却液の排出が禁止される。一方、弾性部材による付勢力の設定が低すぎると、空気の排出が完了する前に、弁体によって排気路が閉塞されてしまう。このような場合は、栓体を閉塞位置に配置した後に、栓体を閉塞位置から一時的に移動させるとよい。これにより、排気路を開放して空気を排出することができる。
【0008】
加えて、栓体が閉塞位置に配置されると、弁体は栓体との当接によって下限位置に拘束される。これにより、エア抜き弁に振動が伝達された場合でも、弁体がハウジングに対して振動することがなく、例えば異音の発生等が防止される。
【図面の簡単な説明】
【0009】
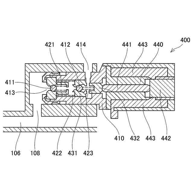
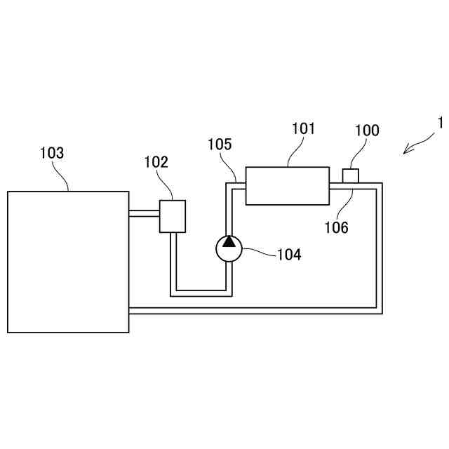
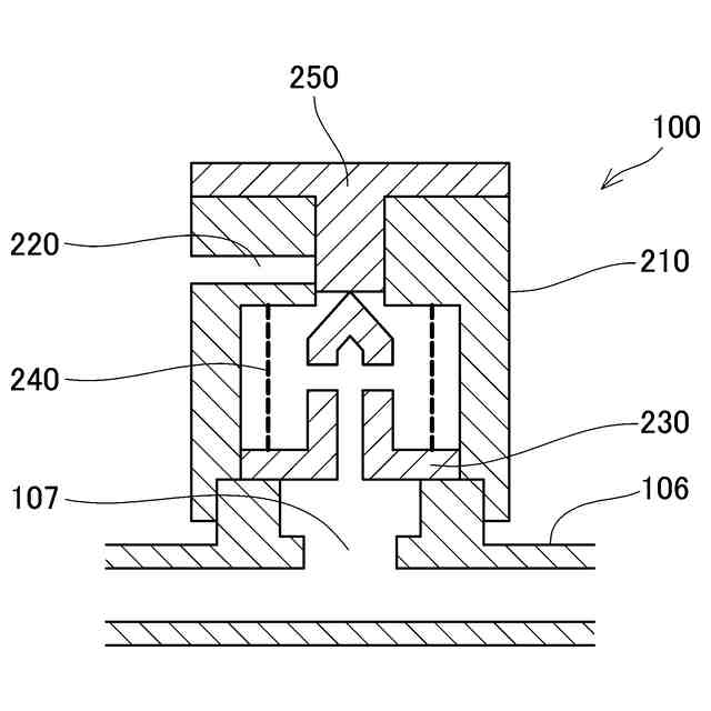
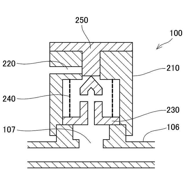
冷却システムを概略して示す図である。
冷却システムの第1実施形態のエア抜き弁の断面図を模式的に示す図である。
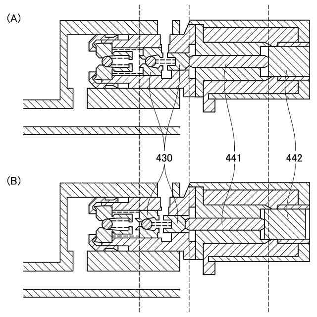
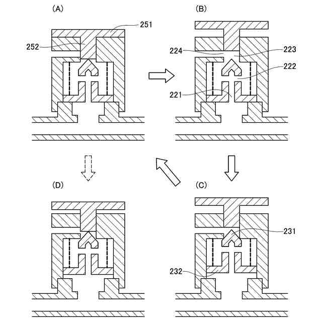
空気を排出するとき、冷却システムの第1実施形態のエア抜き弁の動きを例示する図である。
冷却システムの第2実施形態のエア抜き弁の断面図を模式的に示す図である。
空気を排出するとき、冷却システムの第2実施形態のエア抜き弁の動きを例示する図である。
【発明を実施するための形態】
【0010】
(第1実施形態)
図面を参照して、第1実施形態の冷却システム1を説明する。冷却システム1は、例えば車両に搭載されて、車両の搭載部品を冷却する。ここでいう車両は、特に限定されず、例えばバッテリ電動車(BEV)、ハイブリッド電動車(HEV)、プラグインハイブリッド電動車(PHEV)、燃料電池電動車(FCEV)、エンジン車であってよい。
(【0011】以降は省略されています)
この特許をJ-PlatPat(特許庁公式サイト)で参照する
関連特許
トヨタ自動車株式会社
車体
1か月前
トヨタ自動車株式会社
車両
19日前
トヨタ自動車株式会社
車両
4日前
トヨタ自動車株式会社
車両
18日前
トヨタ自動車株式会社
車両
1か月前
トヨタ自動車株式会社
電池
18日前
トヨタ自動車株式会社
電池
10日前
トヨタ自動車株式会社
電池
10日前
トヨタ自動車株式会社
方法
3日前
トヨタ自動車株式会社
方法
1か月前
トヨタ自動車株式会社
配管
19日前
トヨタ自動車株式会社
電池
24日前
トヨタ自動車株式会社
電動車
19日前
トヨタ自動車株式会社
蓄電池
1か月前
トヨタ自動車株式会社
ロータ
19日前
トヨタ自動車株式会社
タンク
3日前
トヨタ自動車株式会社
電動車
18日前
トヨタ自動車株式会社
モータ
1か月前
トヨタ自動車株式会社
処理装置
10日前
トヨタ自動車株式会社
制御装置
10日前
トヨタ自動車株式会社
樹脂外板
1か月前
トヨタ自動車株式会社
蓄電装置
10日前
トヨタ自動車株式会社
蓄電装置
10日前
トヨタ自動車株式会社
蓄電装置
10日前
トヨタ自動車株式会社
塗工装置
10日前
トヨタ自動車株式会社
蓄電装置
10日前
トヨタ自動車株式会社
車両装置
10日前
トヨタ自動車株式会社
蓄電装置
10日前
トヨタ自動車株式会社
エンジン
10日前
トヨタ自動車株式会社
蓄電装置
10日前
トヨタ自動車株式会社
蓄電装置
10日前
トヨタ自動車株式会社
蓄電装置
10日前
トヨタ自動車株式会社
蓄電装置
10日前
トヨタ自動車株式会社
蓄電装置
10日前
トヨタ自動車株式会社
蓄電装置
10日前
トヨタ自動車株式会社
電動車両
1か月前
続きを見る
他の特許を見る