TOP
|
特許
|
意匠
|
商標
特許ウォッチ
Twitter
他の特許を見る
10個以上の画像は省略されています。
公開番号
2025167341
公報種別
公開特許公報(A)
公開日
2025-11-07
出願番号
2024071855
出願日
2024-04-25
発明の名称
超音波探傷装置、および超音波探傷方法
出願人
三菱重工業株式会社
代理人
SSIP弁理士法人
主分類
G01N
29/04 20060101AFI20251030BHJP(測定;試験)
要約
【課題】位置や深さが不明の欠陥を高精度に評価する。
【解決手段】対象に超音波を送信し超音波の反射波を受信するように構成された複数の第1素子を含む第1のセンサと、対象に超音波を送信し超音波の反射波を受信するように構成された複数の第2素子を含み、対象の検出領域を挟んで第1のセンサとは反対側に配置されている第2のセンサと、検出領域の欠陥を解析する解析装置と、を備え、第1素子は、第2素子から送信された超音波の回折波である第2回折波を受信可能に構成されており、第2素子は、第1素子から送信された超音波の回折波である第1回折波を受信可能に構成されており、解析装置は、検出領域を分割して複数のグリッドを作成するグリッド作成部と、複数のグリッドの各々に対して反射波と第1回折波および第2回折波のうちの少なくとも一方とを対応付けて画像を生成する画像生成部と、を含む。
【選択図】図1
特許請求の範囲
【請求項1】
対象の欠陥を超音波によって検出するための超音波探傷装置であって、
前記対象に前記超音波を送信し前記超音波の反射波を受信するように構成された複数の第1素子を含む第1のセンサと、
前記対象に前記超音波を送信し前記超音波の反射波を受信するように構成された複数の第2素子を含み、前記対象の検出領域を挟んで前記第1のセンサとは反対側に配置されている第2のセンサと、
前記検出領域の前記欠陥を解析する解析装置と、を備え、
前記第1素子は、前記第2素子から送信された前記超音波の回折波である第2回折波を受信可能に構成されており、
前記第2素子は、前記第1素子から送信された前記超音波の回折波である第1回折波を受信可能に構成されており、
前記解析装置は、
前記検出領域を分割して複数のグリッドを作成するグリッド作成部と、
複数の前記グリッドの各々に対して前記反射波と前記第1回折波および前記第2回折波のうちの少なくとも一方とを対応付けて画像を生成する画像生成部と、を含む、
超音波探傷装置。
続きを表示(約 2,000 文字)
【請求項2】
前記対象に当接される当接面および前記第1のセンサおよび前記第2のセンサが載置される載置面を含むウェッジをさらに備え、
前記解析装置は、
前記第1素子から送信された前記超音波の前記反射波のうち前記対象の表面によって反射され前記ウェッジを透過する前記反射波を表面反射波とすると、
前記第1素子が受信する前記表面反射波に基づいて、前記対象に対する前記第1のセンサの位置を特定する位置特定部と、
前記第2素子が受信する前記表面反射波に基づいて、前記第1のセンサに対する前記第2のセンサの相対位置を特定する相対位置特定部と、をさらに含み
前記グリッド作成部は、前記第1のセンサの前記位置および前記第2のセンサの前記相対位置を用いて前記検出領域を特定し、特定された前記検出領域を分割して複数の前記グリッドを作成する、
請求項1に記載の超音波探傷装置。
【請求項3】
前記第1回折波は、複数の前記第1素子のうちの1つである深さ評価用第1素子から送信され複数の前記第2素子のうちの1つである深さ評価用第2素子に受信された深さ評価用第1回折波を含み、
前記第2回折波は、前記深さ評価用第2素子から送信され前記深さ評価用第1素子に受信された深さ評価用第2回折波を含み、
前記解析装置は、
前記深さ評価用第1回折波の波形が前記深さ評価用第2回折波の反転波形と同一の形状であれば、前記深さ評価用第1回折波および前記深さ評価用第2回折波のうちの少なくとも一方に基づいて前記欠陥の深さを評価する欠陥深さ評価部をさらに含む、
請求項2に記載の超音波探傷装置。
【請求項4】
前記反射波は、複数の前記第1素子のうちの1つである一方側第1素子から送信された前記超音波の前記反射波のうち前記欠陥によって反射され複数の前記第1素子のうちの他の1つである他方側第1素子に受信された第1欠陥反射波と、前記他方側第1素子から送信された前記超音波の前記反射波のうち前記欠陥によって反射され前記一方側第1素子に受信された第2欠陥反射波と、を含み、
前記解析装置は、
前記第1欠陥反射波の波形が前記第2欠陥反射波の反転波形と同一の形状であれば、前記第1欠陥反射波および前記第2欠陥反射波のうちの少なくとも一方に基づいて前記欠陥の範囲を評価する欠陥範囲評価部をさらに含む、
請求項2または3に記載の超音波探傷装置。
【請求項5】
前記ウェッジは、前記第1のセンサと前記第2のセンサとの間に前記超音波の透過を妨げる音響隔離部が非形成である、
請求項2または3に記載の超音波探傷装置。
【請求項6】
前記検出領域の温度を取得可能な温度取得装置と、
前記検出領域を冷却する冷却装置と、をさらに備え、
前記解析装置は、前記温度取得装置が取得する前記温度に応じて前記反射波の音速、前記第1回折波の音速、および前記第2回折波の音速を補正する補正部をさらに含み、
前記画像生成部は、複数の前記グリッドの各々に対して音速が補正された前記反射波と音速が補正された前記第1回折波および音速が補正された前記第2回折波のうちの少なくとも一方とを対応付けて前記画像を生成する、
請求項1から3の何れか一項に記載の超音波探傷装置。
【請求項7】
対象の欠陥を超音波によって検出するため、前記対象に前記超音波を送信し前記超音波の反射波を受信するように構成された複数の第1素子を含む第1のセンサ、および前記対象に前記超音波を送信し前記超音波の反射波を受信するように構成された複数の第2素子を含む第2のセンサを備え、前記第1素子が前記第2素子から送信された前記超音波の回折波である第2回折波を受信可能に構成されており、前記第2素子が前記第1素子から送信された前記超音波の回折波である第1回折波を受信可能に構成されている超音波探傷装置を用いた超音波探傷方法であって、
前記第1のセンサおよび前記第2のセンサを、前記対象の検出領域を挟んで互いに反対側に配置するステップと、
前記検出領域を分割して複数のグリッドを作成するステップと、
複数の前記グリッドの各々に対して前記反射波と前記第1回折波および前記第2回折波のうちの少なくとも一方とを対応付けて画像を生成するステップと、を備える、
超音波探傷方法。
【請求項8】
前記画像を生成するステップの後に、前記第1のセンサに対する前記第2のセンサの相対位置を維持したまま、前記第1のセンサおよび前記第2のセンサを移動させるステップと、
前記画像を生成するステップは、前記第1のセンサおよび前記第2のセンサを移動させた後に再実施される、
請求項7に記載の超音波探傷方法。
発明の詳細な説明
【技術分野】
【0001】
本開示は、対象の欠陥を超音波によって検出するための超音波探傷装置、および超音波探傷方法に関する。
続きを表示(約 2,200 文字)
【背景技術】
【0002】
従来、送信用探触子と受信用探触子とを互いに対向させて配置し、送信用探触子から超音波を送信し、欠陥の先端から発生する超音波の回折波を受信用探触子で受信するTOFD法(Time Of Flight Diffraction)が知られている。特許文献1には、送信用探触子および受信用探触子のそれぞれを、超音波の送受信が可能な複数の素子を有するフェーズドアレイ探触子とし、対象の任意の位置に超音波ビームを収束させて探傷する超音波探傷装置が開示されている。
【先行技術文献】
【特許文献】
【0003】
特許5829175号公報
【発明の概要】
【発明が解決しようとする課題】
【0004】
しかしながら、フェーズドアレイ探触子を適用すると、予め超音波の収束点を設定してからの探傷となる。このため、フェーズドアレイ探触子を適用する超音波探傷は、位置や深さが既知である欠陥を評価することはできるが、収束点からずれた箇所では適切な評価ができず、位置や深さが不明の欠陥を評価することは難しい。
【0005】
本開示は、上述の課題に鑑みてなされたものであって、位置や深さが不明の欠陥を高精度に評価することができる超音波探傷装置、および超音波探傷方法を提供することにある。
【課題を解決するための手段】
【0006】
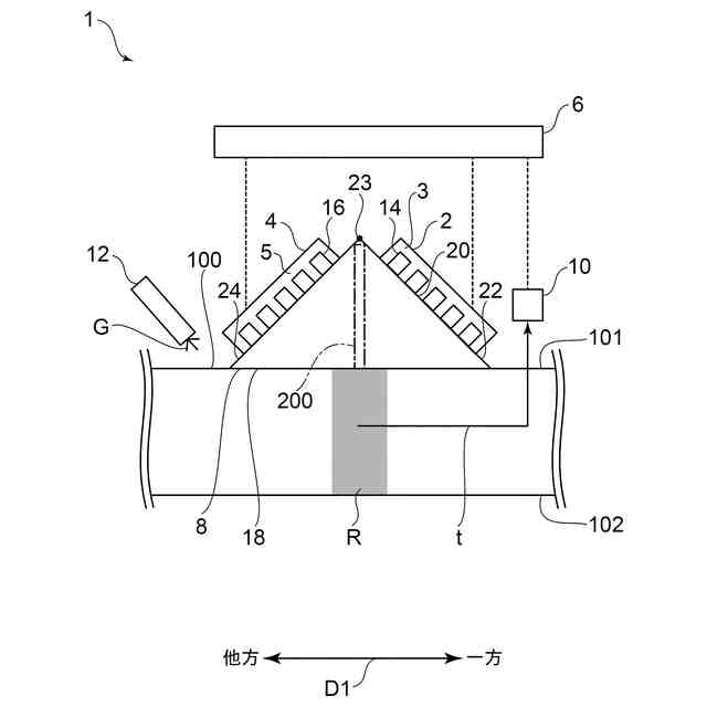
上記目的を達成するため、本開示に係る超音波探傷装置は、対象の欠陥を超音波によって検出するための超音波探傷装置であって、前記対象に前記超音波を送信し前記超音波の反射波を受信するように構成された複数の第1素子を含む第1のセンサと、前記対象に前記超音波を送信し前記超音波の反射波を受信するように構成された複数の第2素子を含み、前記対象の検出領域を挟んで前記第1のセンサとは反対側に配置されている第2のセンサと、前記検出領域の前記欠陥を解析する解析装置と、を備え、前記第1素子は、前記第2素子から送信された前記超音波の回折波である第2回折波を受信可能に構成されており、前記第2素子は、前記第1素子から送信された前記超音波の回折波である第1回折波を受信可能に構成されており、前記解析装置は、前記検出領域を分割して複数のグリッドを作成するグリッド作成部と、複数の前記グリッドの各々に対して前記反射波と前記第1回折波および前記第2回折波のうちの少なくとも一方とを対応付けて画像を生成する画像生成部と、を含む。
【0007】
上記目的を達成するため、本開示に係る超音波探傷方法は、対象の欠陥を超音波によって検出するため、前記対象に前記超音波を送信し前記超音波の反射波を受信するように構成された複数の第1素子を含む第1のセンサ、および前記対象に前記超音波を送信し前記超音波の反射波を受信するように構成された複数の第2素子を含む第2のセンサを備え、前記第1素子が前記第2素子から送信された前記超音波の回折波である第2回折波を受信可能に構成されており、前記第2素子が前記第1素子から送信された前記超音波の回折波である第1回折波を受信可能に構成されている超音波探傷装置を用いた超音波探傷方法であって、前記第1のセンサおよび前記第2のセンサを、前記対象の検出領域を挟んで互いに反対側に配置するステップと、前記検出領域を分割して複数のグリッドを作成するステップと、複数の前記グリッドの各々に対して前記反射波と前記第1回折波および前記第2回折波のうちの少なくとも一方とを対応付けて画像を生成するステップと、を備える。
【発明の効果】
【0008】
本開示の超音波探傷装置および超音波探傷方法によれば、位置や深さが不明の欠陥を高精度に評価することができる。
【図面の簡単な説明】
【0009】
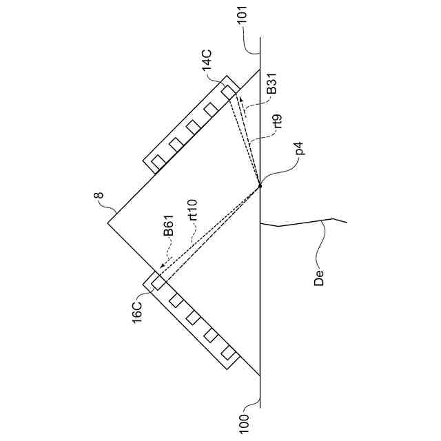
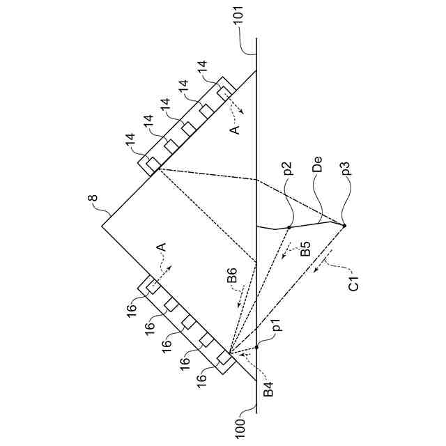
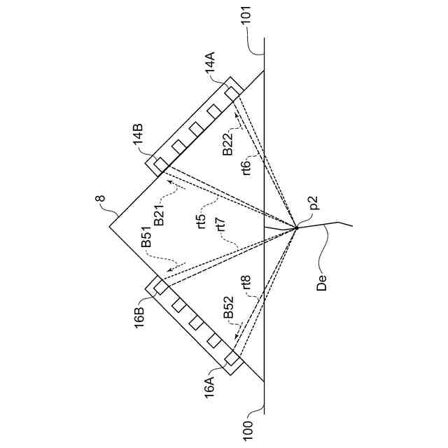
一実施形態に係る超音波探傷装置の構成を概略的に示す図である。
一実施形態に係る第1素子が受信する反射波および回折波の一例を示す図である。
一実施形態に係る第2素子が受信する反射波および回折波の一例を示す図である。
一実施形態に係る表面反射波を説明するための図である。
一実施形態に係る欠陥反射波を説明するための図である。
一実施形態に係る第2の表面反射波を説明するための図である。
一実施形態に係る第1回折波および第2回折波を説明するための図である。
一実施形態に係る解析装置の概略的な機能ブロック図である。
一実施形態に係る第1表面反射波および第2表面反射波の波形データを示す図である。
一実施形態に係るグリッドを説明するための図である。
一実施形態に係る超音波探傷方法のフローチャートである。
【発明を実施するための形態】
【0010】
以下、本開示の実施の形態による超音波探傷装置および超音波探傷方法について、図面に基づいて説明する。かかる実施の形態は、本開示の一態様を示すものであり、この開示を限定するものではなく、本開示の技術的思想の範囲内で任意に変更可能である。
(【0011】以降は省略されています)
この特許をJ-PlatPat(特許庁公式サイト)で参照する
関連特許
三菱重工業株式会社
原子炉
18日前
三菱重工業株式会社
ボイラ壁
1か月前
三菱重工業株式会社
施工方法
24日前
三菱重工業株式会社
遠心圧縮機
2日前
三菱重工業株式会社
原子力システム
3日前
三菱重工業株式会社
燃焼筒の取付方法
1か月前
三菱重工業株式会社
石膏脱水システム
24日前
三菱重工業株式会社
蒸気タービンシステム
1か月前
三菱重工業株式会社
ガスタービン起動方法
1か月前
三菱重工業株式会社
アンモニア除害システム
24日前
三菱重工業株式会社
評価装置および評価方法
3日前
三菱重工業株式会社
シール装置及び回転機械
23日前
三菱重工業株式会社
ガス処理装置および方法
1か月前
三菱重工業株式会社
原子炉炉心および原子炉
18日前
三菱重工業株式会社
軸流圧縮機、及びその動翼
25日前
三菱重工業株式会社
計測システムおよび計測方法
1か月前
三菱重工業株式会社
支持部材及び接着剤の監視方法
24日前
三菱重工業株式会社
水素吸蔵材料および原子力設備
1か月前
三菱重工業株式会社
レドックスフロー電池システム
1か月前
三菱重工業株式会社
水位制御方法および水位制御装置
3日前
三菱重工業株式会社
インバータ装置及びその保護方法
1か月前
三菱重工業株式会社
排ガス処理触媒及び排ガス処理方法
2日前
三菱重工業株式会社
インバータ基板及びインバータ装置
1か月前
三菱重工業株式会社
電動ファンおよび電動垂直離着陸機
1か月前
三菱重工業株式会社
圧縮機の静翼セグメント、及び圧縮機
24日前
三菱重工業株式会社
RPB装置及び酸性ガス回収システム
1か月前
三菱重工業株式会社
油圧防振装置および構造物の支持構造
4日前
三菱重工業株式会社
制御装置、制御方法、及びプログラム
2日前
三菱重工業株式会社
燃料製造システム、及び燃料製造方法
26日前
三菱重工業株式会社
補修方法、プログラム、及び補修装置
25日前
三菱重工業株式会社
合流支援システム、および合流支援方法
26日前
三菱重工業株式会社
超音波探傷装置、および超音波探傷方法
23日前
三菱重工業株式会社
検査システム、検査方法及びプログラム
10日前
三菱重工業株式会社
ダスト除去システムおよびダスト除去方法
2日前
三菱重工業株式会社
対象成分回収システム及び対象成分回収方法
3日前
三菱重工業株式会社
排ガス処理触媒ユニット及び排ガス処理方法
2日前
続きを見る
他の特許を見る