TOP
|
特許
|
意匠
|
商標
特許ウォッチ
Twitter
他の特許を見る
10個以上の画像は省略されています。
公開番号
2025166537
公報種別
公開特許公報(A)
公開日
2025-11-06
出願番号
2024070627
出願日
2024-04-24
発明の名称
施工方法
出願人
三菱重工業株式会社
代理人
弁理士法人酒井国際特許事務所
主分類
F16B
1/02 20060101AFI20251029BHJP(機械要素または単位;機械または装置の効果的機能を生じ維持するための一般的手段)
要約
【課題】接着剤を適切な接着面積で施工できる施工方法を提供する。
【解決手段】施工方法は、台座に対して少なくとも一部が可動する可動装置が前記台座に対して固定された状態において、前記台座と床面との間に介在して前記台座を支持するジェル状の支持部材と、前記台座と前記床面との間に介在して前記台座を前記床面に接着する接着剤と、を施工する施工方法であって、前記台座及び前記可動装置の設計値と前記接着剤の引張強度とに基づいて必要接着面積を算出することと、前記可動装置の速度、稼働率、設置環境、及び重量を含む運転条件に基づいて推定された負荷レベルに応じて、前記接着剤の施工面積の接着剤安全率を決定することと、前記接着剤安全率と、前記必要接着面積と、前記接着剤を塗布する長さと、に基づいて、施工する前記接着剤の幅を算出することと、を含む。
【選択図】図5
特許請求の範囲
【請求項1】
台座に対して少なくとも一部が可動する可動装置が前記台座に対して固定された状態において、
前記台座と床面との間に介在して前記台座を支持するジェル状の支持部材と、
前記台座と前記床面との間に介在して前記台座を前記床面に接着する接着剤と、
を施工する施工方法であって、
前記台座及び前記可動装置の設計値と前記接着剤の引張強度とに基づいて必要接着面積を算出することと、
前記可動装置の速度、稼働率、設置環境、及び重量を含む運転条件に基づいて推定された負荷レベルに応じて、前記接着剤の施工面積の接着剤安全率を決定することと、
前記接着剤安全率と、前記必要接着面積と、前記接着剤を塗布する長さと、に基づいて、施工する前記接着剤の幅を算出することと、
を含む、
施工方法。
続きを表示(約 900 文字)
【請求項2】
前記可動装置の速度、稼働率、設置環境、及び重量を含む実際の稼働状況を取得することと、
前記実際の稼働状況に基づいて、前記接着剤安全率を補正することと、
補正した前記接着剤安全率に基づいて、再施工する前記接着剤の幅を算出することと、
を含む、
請求項1に記載の施工方法。
【請求項3】
前記接着剤の施工時において使用した前記接着剤安全率と、前記実際の稼働状況と、施工から再施工までの前記可動装置の運転時間と、を対応付けたデータを蓄積して機械学習させることと、
前記機械学習を用いて前記接着剤の再施工時期を予測することと、
を含む、
請求項2に記載の施工方法。
【請求項4】
前記支持部材が支持する対象の総重量と1枚当たりの前記支持部材の耐荷重とに基づいて必要施工枚数を算出することと、
前記可動装置の速度、稼働率、及び重量を含む運転条件に基づいて推定された負荷レベルに応じて、前記支持部材の施工枚数の支持部材安全率を決定することと、
前記支持部材安全率と、前記必要施工枚数と、に基づいて、施工する前記支持部材の施工枚数を算出することと、
を更に含む、
請求項1から3のいずれか1項に記載の施工方法。
【請求項5】
前記可動装置の速度、稼働率、及び重量を含む実際の稼働状況を取得することと、
前記実際の稼働状況に基づいて、前記支持部材安全率を補正することと、
補正した前記支持部材安全率に基づいて、再施工する前記支持部材の施工枚数を算出することと、
を含む、
請求項4に記載の施工方法。
【請求項6】
前記支持部材の施工時において使用した前記支持部材安全率と、前記実際の稼働状況と、施工から再施工までの前記可動装置の運転時間と、を対応付けたデータを蓄積して機械学習させることと、
前記機械学習を用いて前記支持部材の再施工時期を予測することと、
を含む、
請求項5に記載の施工方法。
発明の詳細な説明
【技術分野】
【0001】
本開示は、施工方法に関する。
続きを表示(約 1,600 文字)
【背景技術】
【0002】
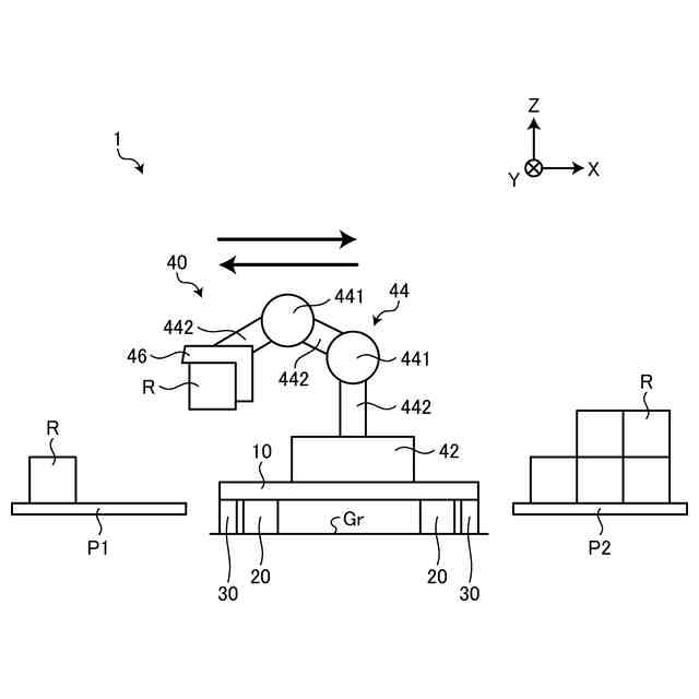
パレット等に物品を積み付ける、パレットから物品を荷降ろしする、あるいは任意のパレットから別のパレットに積み替えるパレタイズ装置及びデパレタイズ装置等の搬送装置が知られている。パレタイズ装置及びデパレタイズ装置は、例えば、多関節アームを有するロボットである。
【0003】
このようなロボット等の可動装置について、台座を介して床面又は壁面に固定され保持する方法が種々開示されている(例えば、特許文献1、2、3)。しかしながら、引用文献1の磁石による固定は、床面が金属に限定される上、固定力がアンカーボルトと比較して弱い。また、引用文献2、3は、床面又は壁面に設置した引掛け部で固定するため、設置場所の事前工事が必要である上、移設ができない。
【0004】
更に、可動装置及び台座の荷重支持及び固定に加え、防振効果を得るため、例えば、特許文献4に開示されるシリコーン系弾性接着剤を用いた転倒抑制装置を適用する方法が考えられる。なお、この方法は、取り外しが可能であるため移設が容易であるが、固定力が弱いため、水平方向にずれないような別の固定方法(例えば、接着剤)を併用する必要がある。
【先行技術文献】
【特許文献】
【0005】
特開2021-171784号公報
特開2013-061053号公報
特開2020-138289号公報
特開2019-120358号公報
【発明の概要】
【発明が解決しようとする課題】
【0006】
上述のような支持及び固定部材は、台座からかかる重量や、装置の稼働によって摩耗し徐々に劣化することで防振効果や固定力が低下する。また、これらは適切に設置されていないと、摩耗や劣化が早まる可能性がある。
【0007】
本開示は、上述した課題を解決するものであり、接着剤を適切な接着面積で施工できる施工方法を提供することを目的とする。
【課題を解決するための手段】
【0008】
上述の目的を達成するために、本開示の一態様に係る施工方法は、台座に対して少なくとも一部が可動する可動装置が前記台座に対して固定された状態において、前記台座と床面との間に介在して前記台座を支持するジェル状の支持部材と、前記台座と前記床面との間に介在して前記台座を前記床面に接着する接着剤と、を施工する施工方法であって、前記台座及び前記可動装置の設計値と前記接着剤の引張強度とに基づいて必要接着面積を算出することと、前記可動装置の速度、稼働率、設置環境、及び重量を含む運転条件に基づいて推定された負荷レベルに応じて、前記接着剤の施工面積の接着剤安全率を決定することと、前記接着剤安全率と、前記必要接着面積と、前記接着剤を塗布する長さと、に基づいて、施工する前記接着剤の幅を算出することと、を含む。
【発明の効果】
【0009】
本開示によれば、接着剤を適切な接着面積で施工できるという効果を得られる。
【図面の簡単な説明】
【0010】
図1は、本実施形態に係る施工方法を用いて設置された搬送装置の模式図である。
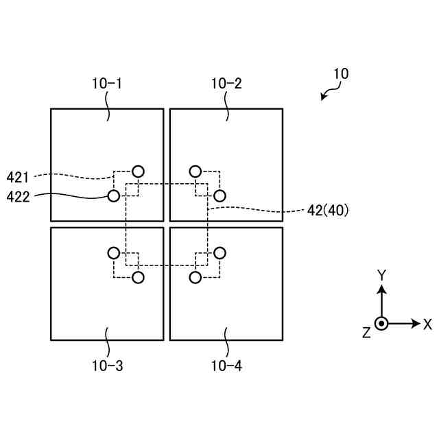
図2は、図1に示す台座の平面図である。
図3は、図1に示す接着剤の施工例を示す模式図である。
図4は、図1に示すジェルの施工例を示す模式図である。
図5は、本実施形態に係る施工方法の流れを説明するフローチャートである。
図6は、ジェルの配置マップ例を示す模式図である。
図7は、ジェルの配置マップ例を示す模式図である。
図8は、本実施形態に係る再施工方法の流れを説明するフローチャートである。
(【0011】以降は省略されています)
この特許をJ-PlatPat(特許庁公式サイト)で参照する
関連特許
三菱重工業株式会社
施工方法
2日前
三菱重工業株式会社
動力装置
18日前
三菱重工業株式会社
加熱装置
22日前
三菱重工業株式会社
ボイラ壁
15日前
三菱重工業株式会社
石膏脱水システム
2日前
三菱重工業株式会社
燃焼筒の取付方法
15日前
三菱重工業株式会社
蒸気タービンシステム
11日前
三菱重工業株式会社
ガスタービン制御方法
22日前
三菱重工業株式会社
ガスタービン起動方法
11日前
三菱重工業株式会社
ガス処理装置および方法
9日前
三菱重工業株式会社
シール装置及び回転機械
1日前
三菱重工業株式会社
アンモニア除害システム
2日前
三菱重工業株式会社
燃焼設備および制御方法
17日前
三菱重工業株式会社
軸流圧縮機、及びその動翼
3日前
三菱重工業株式会社
計測システムおよび計測方法
9日前
三菱重工業株式会社
レドックスフロー電池システム
15日前
三菱重工業株式会社
水素吸蔵材料および原子力設備
10日前
三菱重工業株式会社
バーナ及びこれを備えたボイラ
29日前
三菱重工業株式会社
支持部材及び接着剤の監視方法
2日前
三菱重工業株式会社
インバータ装置及びその保護方法
9日前
三菱重工業株式会社
電動ファンおよび電動垂直離着陸機
12日前
三菱重工業株式会社
燃料噴射装置および往復動内燃機関
23日前
三菱重工業株式会社
演算方法、プログラム及び演算装置
17日前
三菱重工業株式会社
インバータ基板及びインバータ装置
9日前
三菱重工業株式会社
RPB装置及び酸性ガス回収システム
9日前
三菱重工業株式会社
圧縮機の静翼セグメント、及び圧縮機
2日前
三菱重工業株式会社
補修方法、プログラム、及び補修装置
3日前
三菱重工業株式会社
燃料製造システム、及び燃料製造方法
4日前
三菱重工業株式会社
合流支援システム、および合流支援方法
4日前
三菱重工業株式会社
炉壁及びガス化炉並びに炉壁の製造方法
18日前
三菱重工業株式会社
超音波探傷装置、および超音波探傷方法
1日前
三菱重工業株式会社
電解セルカートリッジおよびその製造方法
24日前
三菱重工業株式会社
ガスタービン発電プラント、及びその運転方法
15日前
三菱重工業株式会社
水電解システム、及び水電解システムの運転方法
9日前
三菱重工業株式会社
制御装置、制御方法、監視システム及びプログラム
10日前
三菱重工業株式会社
触媒及びその製造方法、並びに炭化水素の製造方法
10日前
続きを見る
他の特許を見る