TOP
|
特許
|
意匠
|
商標
特許ウォッチ
Twitter
他の特許を見る
公開番号
2025164457
公報種別
公開特許公報(A)
公開日
2025-10-30
出願番号
2024068450
出願日
2024-04-19
発明の名称
水電解システム、及び水電解システムの運転方法
出願人
三菱重工業株式会社
代理人
個人
,
個人
,
個人
,
個人
,
個人
主分類
C25B
9/13 20210101AFI20251023BHJP(電気分解または電気泳動方法;そのための装置)
要約
【課題】電解電圧をさらに下げることが可能な水電解システム、及び水電解システムの運転方法を提供する。
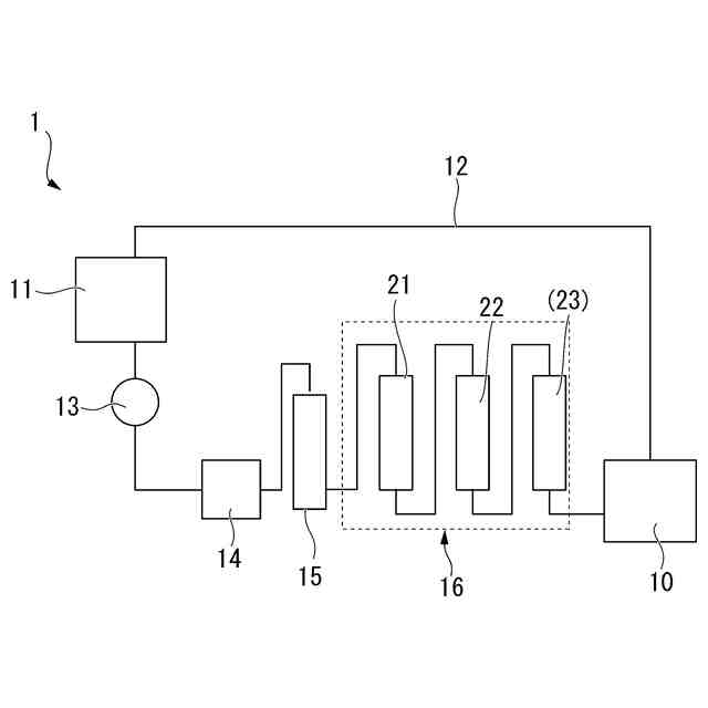
【解決手段】水電解システムは、アルカリ水溶液を電解液として用いた水電解システムであって、電解液が供給されるセルスタックと、電解液が貯留されている貯留部と、貯留部とセルスタックとを接続する環状流路と、環状流路上に設けられたポンプ部と、環状流路上に設けられて、電解液中に含まれるスケールを除去することが可能なスケール除去部と、前記電解液中に飽和濃度以下で溶解しているスケール成分を除去することが可能なスケール成分除去部と、を備える。
【選択図】図1
特許請求の範囲
【請求項1】
アルカリ水溶液を電解液として用いた水電解システムであって、
前記電解液が供給されるセルスタックと、
前記電解液が貯留されている貯留部と、
該貯留部と前記セルスタックとを接続する環状流路と、
該環状流路上に設けられたポンプ部と、
前記環状流路上に設けられて、前記電解液中に含まれるスケールを除去することが可能なスケール除去部と、
前記電解液中に飽和濃度以下で溶解しているスケール成分を除去することが可能なスケール成分除去部と、
を備える水電解システム。
続きを表示(約 580 文字)
【請求項2】
前記スケール成分除去部は、
キレート樹脂が充填された第一除去部、陽イオン交換樹脂が充填された第二除去部、及び陰イオン交換樹脂が充填された第三除去部の少なくとも1つを有する請求項1に記載の水電解システム。
【請求項3】
前記スケール除去部の上流側に設けられ、前記電解液中の懸濁物を除去することが可能なフィルター部をさらに備える請求項1に記載の水電解システム。
【請求項4】
前記スケール成分除去部は、イミノジ酢酸、アミノリン酸、I型4級アンモニウムの少なくとも1つを官能基とする樹脂材料を含む請求項1から3のいずれか一項に記載の水電解システム。
【請求項5】
前記スケール除去部は、電解液中に析出したスケールを除去可能なメッシュフィルターを備える前記請求項1又は2に記載の水電解システム。
【請求項6】
アニオン交換膜型電解セルを有する請求項1又は2に記載の水電解システム。
【請求項7】
請求項1から3のいずれか一項に記載の水電解システムの運転方法であって、
前記環状流路内で前記電解液を循環させるステップと、
前記循環させるステップの後に、前記セルスタックに電圧を印加するステップと、
を含む水電解システムの運転方法。
発明の詳細な説明
【技術分野】
【0001】
本開示は、水電解システム、及び水電解システムの運転方法に関する。
続きを表示(約 1,400 文字)
【背景技術】
【0002】
水溶液を電気分解して、水素を得る水電解システムの実用化が進められている。この種の装置は、複数の電解セルからなるセルスタックと、水溶液を供給するタンクと、電解セルに電圧を印加するための電源部と、を主に備えている。電解セル中にはイオン交換膜、及び電極が配置されており、電極間に電圧が印加されると水溶液の電気分解が行われ、最終的に水素を得ることができる。
【0003】
ところで、水電解システムでは、水への溶解度を高める目的で水酸化カリウム水溶液が用いられる場合がある。この場合、水酸化カリウム水溶液の製造時に生じる不純物として、微量のスケール成分(電解液中に飽和濃度以下で溶解しているもの)が含まれており、スケールとして水溶液中に析出することがある。他方で、下記特許文献1には、オゾン水生成装置において、陰極水に含まれるイオンをイオン交換膜で除去する技術が開示されている。
【先行技術文献】
【特許文献】
【0004】
特開2010-155227号公報
【発明の概要】
【発明が解決しようとする課題】
【0005】
水電解システムでは、セル内部に堆積したスケールやイオン交換膜に蓄積されたスケール成分により、膜抵抗が増大し、電解電圧が上昇してしまうという問題が今回確認された。しかしながら、当該システムの領域では、スケールやスケール成分を除去するための有効な措置が提唱されていないという現状がある。
【0006】
本開示は上記課題を解決するためになされたものであって、電解電圧をさらに下げることが可能な水電解システム、及び水電解システムの運転方法を提供することを目的とする。
【課題を解決するための手段】
【0007】
上記課題を解決するために、本開示に係る水電解システムは、アルカリ水溶液を電解液として用いた水電解システムであって、前記電解液が供給されるセルスタックと、前記電解液が貯留されている貯留部と、該貯留部と前記セルスタックとを接続する環状流路と、該環状流路上に設けられたポンプ部と、前記環状流路上に設けられて、前記電解液中に含まれるスケールを除去することが可能なスケール除去部と、前記電解液中に飽和濃度以下で溶解しているスケール成分を除去することが可能なスケール成分除去部と、を備える。
【0008】
本開示に係る水電解システムの運転方法は、上記の水電解システムの運転方法であって、前記環状流路内で前記電解液を循環させるステップと、前記循環させるステップの後に、前記セルスタックに電圧を印加するステップと、を含む。
【発明の効果】
【0009】
本開示によれば、電解電圧をさらに下げることが可能な水電解システム、及び水電解システムの運転方法を提供することができる。
【図面の簡単な説明】
【0010】
本開示の実施形態に係る水電解システムの構成を示す模式図である。
本開示の実施形態に係る水電解システムの運転方法を示すフローチャートである。
本開示の水電解システムにおける経過時間と電解電圧の関係を示すグラフである。
【発明を実施するための形態】
(【0011】以降は省略されています)
この特許をJ-PlatPat(特許庁公式サイト)で参照する
関連特許
三菱重工業株式会社
ボイラ壁
10日前
三菱重工業株式会社
動力装置
13日前
三菱重工業株式会社
燃焼筒の取付方法
10日前
三菱重工業株式会社
ガスタービン起動方法
6日前
三菱重工業株式会社
蒸気タービンシステム
6日前
三菱重工業株式会社
燃焼設備および制御方法
12日前
三菱重工業株式会社
ガス処理装置および方法
4日前
三菱重工業株式会社
計測システムおよび計測方法
4日前
三菱重工業株式会社
水素吸蔵材料および原子力設備
5日前
三菱重工業株式会社
レドックスフロー電池システム
10日前
三菱重工業株式会社
インバータ装置及びその保護方法
4日前
三菱重工業株式会社
演算方法、プログラム及び演算装置
12日前
三菱重工業株式会社
電動ファンおよび電動垂直離着陸機
7日前
三菱重工業株式会社
インバータ基板及びインバータ装置
4日前
三菱重工業株式会社
RPB装置及び酸性ガス回収システム
4日前
三菱重工業株式会社
炉壁及びガス化炉並びに炉壁の製造方法
13日前
三菱重工業株式会社
ガスタービン発電プラント、及びその運転方法
10日前
三菱重工業株式会社
水電解システム、及び水電解システムの運転方法
4日前
三菱重工業株式会社
制御装置、制御方法、監視システム及びプログラム
5日前
三菱重工業株式会社
触媒及びその製造方法、並びに炭化水素の製造方法
5日前
三菱重工業株式会社
制御装置、CO2回収装置、制御方法及びプログラム
17日前
三菱重工業株式会社
制御装置、ガスタービンの燃料供給設備、制御方法及びプログラム
7日前
三菱重工業株式会社
多ビーム位相差計測装置及びこれを備えたレーザビーム制御システム
4日前
三菱重工業株式会社
流路形成板、分割環、静翼、ガスタービン、及び流路形成板の製造方法
11日前
三菱重工業株式会社
フォールトツリー作成方法、フォールトツリー作成装置およびプログラム
10日前
三菱重工業株式会社
検査システム、検査方法、その検査方法を用いる製造方法並びに検査プログラム
13日前
三菱重工業株式会社
シミュレータ、シミュレーション方法、及びコンピュータ読み取り可能な記録媒体
11日前
三菱重工業株式会社
電解セルスタック、電解セルカートリッジ、電解セルモジュールおよび電解セルスタックの製造方法
4日前
三菱重工業株式会社
電気化学セルスタック、それを備えた電気化学セルカートリッジおよび電気化学セルモジュール、ならびにその製造方法、燃料電池セルスタック、共電解セルスタック
4日前
本田技研工業株式会社
電解装置
1か月前
株式会社カネカ
可撓性ガス拡散電極
1か月前
一般財団法人電力中央研究所
電解反応装置
1か月前
本田技研工業株式会社
水電解スタック
1か月前
本田技研工業株式会社
差圧式電解装置
11日前
本田技研工業株式会社
電気化学スタック
1か月前
株式会社荏原製作所
蒸気発電プラント
24日前
続きを見る
他の特許を見る