TOP
|
特許
|
意匠
|
商標
特許ウォッチ
Twitter
他の特許を見る
10個以上の画像は省略されています。
公開番号
2025154301
公報種別
公開特許公報(A)
公開日
2025-10-10
出願番号
2024057218
出願日
2024-03-29
発明の名称
バーナ及びこれを備えたボイラ
出願人
三菱重工業株式会社
代理人
個人
,
個人
,
個人
主分類
F23D
17/00 20060101AFI20251002BHJP(燃焼装置;燃焼方法)
要約
【課題】液化ガス燃料と油燃料とを簡便な構成で兼用することができるバーナを提供する。
【解決手段】バーナ21は、液化アンモニア燃料Lと油燃料とを切り替えて用いられるバーナ21であって、液化アンモニア燃料L及び/又は油燃料を噴射するノズル67を有するバーナガン60と、ノズル67から噴射される油燃料を微粒化するための微粒化ガスをノズル67に供給する微粒化ガス搬送パイプを備え、微粒化ガス搬送パイプには、微粒化ガスの流通を阻止することが可能な微粒化ガス閉止部材92が設けられている。
【選択図】図6
特許請求の範囲
【請求項1】
液化ガス燃料と油燃料とを切り替えて用いられるバーナであって、
液化ガス燃料及び/又は油燃料を噴射するノズルを有するバーナガンと、
前記ノズルから噴射される油燃料を微粒化するための微粒化ガスを前記ノズルに供給する微粒化ガス供給経路を備え、
前記微粒化ガス供給経路を流れる微粒化ガスの流通を阻止することが可能な微粒化ガス閉止部材が設けられているバーナ。
続きを表示(約 800 文字)
【請求項2】
前記微粒化ガス供給経路は、微粒化ガス搬送パイプと、該微粒化ガス搬送パイプの基端部が接続されるとともに、該微粒化ガス搬送パイプと微粒化ガスを供給する外部ガス配管とが接続される接続部と、を備え、
前記接続部に対して、前記微粒化ガス閉止部材が着脱可能とされている請求項1に記載のバーナ。
【請求項3】
前記バーナガンは、液化ガス燃料と油燃料とを切り替えて用いられ、
前記ノズルに油燃料を供給する油燃料供給経路を備え、
前記油燃料供給経路に液化ガス燃料を供給するときに、前記微粒化ガス閉止部材によって微粒化ガスの流通を阻止する請求項1に記載のバーナ。
【請求項4】
前記バーナガンとして、油燃料を用いる油燃料バーナガンと、液化ガス燃料を用いる液化ガス燃料バーナガンと、を備え、
前記液化ガス燃料バーナガンの前記ノズルに液化ガス燃料を供給する液化ガス燃料供給経路と、
前記油燃料バーナガンの前記ノズルに油燃料を供給する油燃料供給経路と、
を備え、
前記油燃料供給経路への油燃料の流通を阻止することが可能な油燃料閉止部材が設けられている請求項1に記載のバーナ。
【請求項5】
外部から油燃料を供給する外部油燃料配管と前記油燃料供給経路とを接続する接続部を備え、
前記接続部に対して、前記油燃料閉止部材が着脱可能とされている請求項4に記載のバーナ。
【請求項6】
前記油燃料閉止部材は、前記液化ガス燃料バーナガンに対して固定されている請求項5に記載のバーナ。
【請求項7】
前記油燃料閉止部材は、前記微粒化ガス閉止部材と一体とされている請求項6に記載のバーナ。
【請求項8】
請求項1から7のいずれかのバーナを備えたボイラ。
発明の詳細な説明
【技術分野】
【0001】
本開示は、例えば液化アンモニア燃料等の液化ガス燃料を燃焼させるバーナ及びこれを備えたボイラに関するものである。
続きを表示(約 1,700 文字)
【背景技術】
【0002】
発電用ボイラなどの大型のボイラは、中空形状をなして鉛直方向に設置される火炉を有し、この火炉壁に複数のバーナが火炉の壁面に配設されている。また、大型のボイラは、火炉の鉛直方向上方に煙道が連結されており、この煙道に蒸気を生成するための熱交換器が配置されている。そして、バーナが火炉内に燃料と空気(酸化性ガス)との混合気を噴射することで火炎が形成され、燃焼ガスが生成されて煙道に流れる。燃焼ガスが流れる領域に熱交換器が設置され、熱交換器を構成する伝熱管内を流れる水や蒸気を加熱して過熱蒸気が生成される。
【0003】
ボイラに用いられるバーナとして、例えば特許文献1に開示されているように、重油、軽油等の油燃料を燃焼させるボイラは、ボイラの外部から供給される油燃料を、空気や蒸気等の噴霧媒体により微粒化させてボイラの火炉内に噴射するバーナを備えている。
【先行技術文献】
【特許文献】
【0004】
特開2018-96590号公報
【発明の概要】
【発明が解決しようとする課題】
【0005】
本発明者等は、液化アンモニア燃料等の液化ガス燃料を液体燃料として供給するバーナを検討する際に、油燃料を供給する油燃料バーナガンとの兼用の可能性を検討した。しかし、油燃料バーナガンと液化ガス燃料バーナガンでは、所望の噴射量を満たすための噴射ノズルの穴径が異なる場合があるため、兼用できない場合がある。
また、火炉のバーナ開口部を兼用として、使用する燃料に応じてバーナガンのみを交換する運用方法も考えられるが、液化ガス燃料バーナガンを用いる場合、油燃料を供給する配管及び、油燃料で必要となる微粒化ガス(空気又は蒸気等の噴霧媒体)を供給する配管から油燃料や微粒化ガスが漏洩するおそれがある。そこで、液化ガス燃料と油燃料を切り替える際に、安全且つ簡易な切り替えを可能とする簡便な構成が必要となる。
【0006】
本開示は、このような事情に鑑みてなされたものであって、液化ガス燃料と油燃料とを簡便な構成で兼用できるバーナ及びこれを備えたボイラを提供することを目的とする。
【課題を解決するための手段】
【0007】
本開示の一態様に係るバーナは、液化ガス燃料と油燃料とを切り替えて用いられるバーナであって、液化ガス燃料及び/又は油燃料を噴射するノズルを有するバーナガンと、前記ノズルから噴射される油燃料を微粒化するための微粒化ガスを前記ノズルに供給する微粒化ガス供給経路を備え、前記微粒化ガス供給経路を流れる微粒化ガスの流通を阻止することが可能な微粒化ガス閉止部材が設けられている。
【0008】
本開示の一態様に係るボイラは、上記のバーナを備えている。
【発明の効果】
【0009】
液化ガス燃料と油燃料とを簡便な構成で兼用することができる。
【図面の簡単な説明】
【0010】
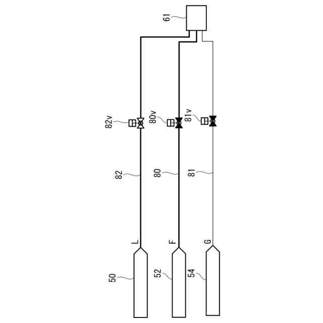
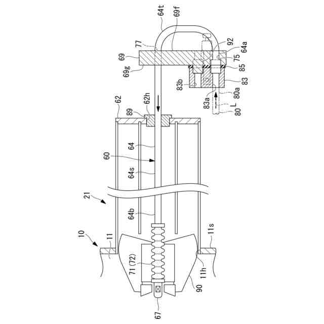
本開示の第1実施形態に係るボイラを示した概略構成図である。
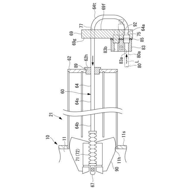
図1のバーナを示した縦断面図である。
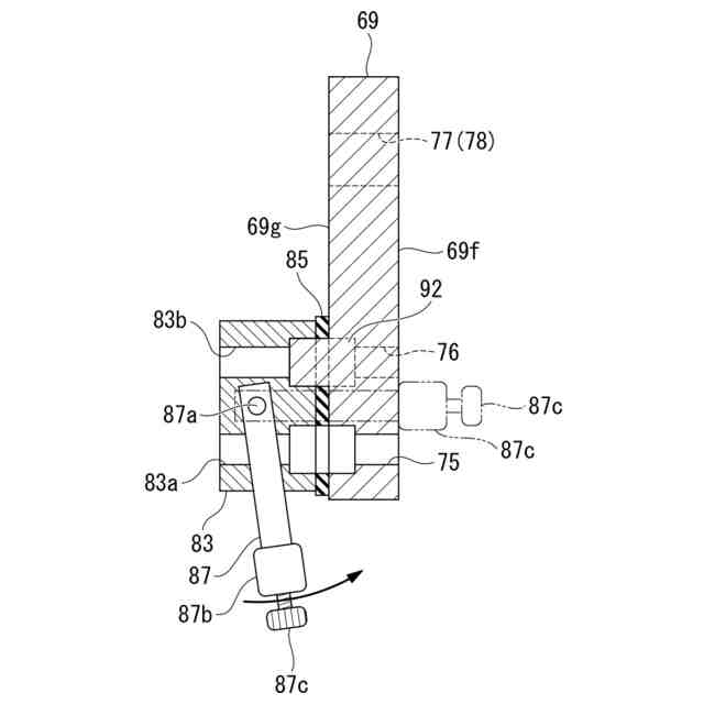
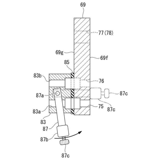
図2の配管接続部材周りを拡大して示した縦断面図である。
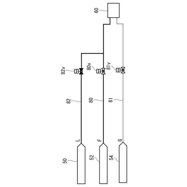
油燃料の使用時における液化アンモニア燃料、油燃料及び蒸気のバーナガンへの供給経路を示した概略構成図である。
液化アンモニア燃料の使用時における液化アンモニア燃料、油燃料及び蒸気のバーナガンへの供給経路を示した概略構成図である。
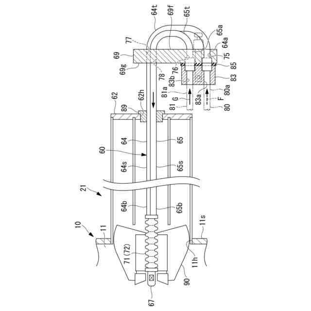
液化アンモニア燃料の使用時における図1のバーナを示した縦断面図である。
図6の配管接続部材周りを拡大して示した縦断面図である。
本開示の第2実施形態に係る液化アンモニア燃料の使用時における液化アンモニア燃料、油燃料及び蒸気のバーナガンへの供給経路を示した概略構成図である。
液化アンモニア燃料を使用するバーナガンを使用したバーナを示した縦断面図である。
図9のバーナガンを示した縦断面図である。
【発明を実施するための形態】
(【0011】以降は省略されています)
この特許をJ-PlatPat(特許庁公式サイト)で参照する
関連特許
三菱重工業株式会社
皮膜形成装置
1日前
三菱重工業株式会社
ポンプシステム
1日前
三菱重工業株式会社
超音波探傷方法
1日前
三菱重工業株式会社
バッテリ交換装置
2日前
三菱重工業株式会社
洗浄水噴射ノズル
3日前
三菱重工業株式会社
メタン酸化触媒装置
1日前
三菱重工業株式会社
デジタル入力モジュール
3日前
三菱重工業株式会社
電解セル、及び電解装置
2日前
三菱重工業株式会社
炭化炉及びその制御方法
1日前
三菱重工業株式会社
シール装置および回転機械
3日前
三菱重工業株式会社
バーナ及びこれを備えたボイラ
1日前
三菱重工業株式会社
バーナ及びこれを備えたボイラ
1日前
三菱重工業株式会社
水素製造システム及び水素製造方法
1日前
三菱重工業株式会社
渦電流探傷装置、及び渦電流探傷方法
1日前
三菱重工業株式会社
洗浄装置、分離システム及び洗浄方法
1日前
三菱重工業株式会社
シール構造の製造方法およびシール構造
3日前
三菱重工業株式会社
蓄圧システム及び蓄圧システムの運転方法
2日前
三菱重工業株式会社
移動体、自己位置推定方法及びプログラム
3日前
三菱重工業株式会社
情報処理装置、情報処理方法及びプログラム
3日前
三菱重工業株式会社
電解モジュールの冷却方法及び電解システム
1日前
三菱重工業株式会社
シール構造、建屋及びシール構造の製造方法
2日前
三菱重工業株式会社
制御装置、ガスタービン、制御方法及びプログラム
4日前
三菱重工業株式会社
電力変換システム、および電力変換システムの制御方法
2日前
三菱重工業株式会社
タービン架台及びタービン装置並びにタービン架台の製造方法
1日前
三菱重工業株式会社
機器配置設計装置、機器配置設計方法及び機器配置設計プログラム
2日前
三菱重工業株式会社
粉砕テーブル及び固体燃料粉砕装置並びに粉砕テーブルの補修方法
1日前
三菱重工業株式会社
固体燃料粉砕装置の運転方法並びに固体燃料粉砕装置及びボイラ設備
4日前
三菱重工業株式会社
固体燃料粉砕装置及びボイラ設備並びに固体燃料粉砕装置の運転方法
2日前
三菱重工業株式会社
濃度算出装置、燃焼制御装置、濃度算出方法及び濃度算出プログラム
2日前
三菱重工業株式会社
熱電併給用蒸気生成システム及び熱電併給システム並びに熱電併給用蒸気生成方法
1日前
三菱重工業株式会社
炭素強度演算装置、これを用いた合成燃料製造プラント、炭素強度演算方法及び炭素強度演算プログラム
1日前
三菱重工業株式会社
CO2回収装置用蒸気生成システム及びこれを備えたCO2回収装置並びにCO2回収装置用蒸気生成方法
1日前
個人
たき火台
7か月前
個人
燃焼炉の操業方法
1か月前
個人
煙突煤払い掃除機
2か月前
個人
ウッドガスストーブ
10日前
続きを見る
他の特許を見る