TOP
|
特許
|
意匠
|
商標
特許ウォッチ
Twitter
他の特許を見る
10個以上の画像は省略されています。
公開番号
2025154194
公報種別
公開特許公報(A)
公開日
2025-10-10
出願番号
2024057066
出願日
2024-03-29
発明の名称
皮膜形成装置
出願人
三菱重工業株式会社
代理人
弁理士法人酒井国際特許事務所
主分類
C25D
17/00 20060101AFI20251002BHJP(電気分解または電気泳動方法;そのための装置)
要約
【課題】めっき不良の発生を抑制しつつ、皮膜形成を好適に行う。
【解決手段】電解液を用いて導電性ワークに皮膜を形成する皮膜形成装置において、電解液を貯める電解液槽と、電解液に浸水させた導電性ワークを支持するワーク支持部と、導電性ワークに取り付けられる絶縁性のワーク側遮蔽板と、電解液槽の底部に設けられ、鉛直方向においてワーク側遮蔽板に対向して配置される絶縁性の槽側遮蔽板と、を備え、ワーク側遮蔽板は、槽側遮蔽板と対向する下部側の部位に設けられ、エアを溜めるエア溜まり部を、有し、槽側遮蔽板は、エア溜まり部に形成される電解液の液面から上部側へ突出して設けられることで、鉛直方向において導電性ワークと対向する内側下部槽空間と、内側下部槽空間の外側に位置する外側下部槽空間と、を区画し、ワーク側遮蔽板は、内側下部槽空間の電解液を、導電性ワークへ向けて流通させる電解液通過孔を、さらに有する。
【選択図】図1
特許請求の範囲
【請求項1】
電解液を用いて導電性ワークに皮膜を形成する皮膜形成装置において、
前記電解液を貯める電解液槽と、
前記電解液に浸水させた前記導電性ワークを支持するワーク支持部と、
前記導電性ワークに取り付けられる絶縁性のワーク側遮蔽板と、
前記電解液槽の底部に設けられ、鉛直方向において前記ワーク側遮蔽板に対向して配置される絶縁性の槽側遮蔽板と、を備え、
前記ワーク側遮蔽板は、
前記槽側遮蔽板と対向する下部側の部位に設けられ、エアを溜めるエア溜まり部を、有し、
前記槽側遮蔽板は、
前記エア溜まり部に形成される前記電解液の液面から上部側へ突出して設けられることで、鉛直方向において前記導電性ワークと対向する内側下部槽空間と、前記内側下部槽空間の外側に位置する外側下部槽空間と、を区画し、
前記ワーク側遮蔽板は、
前記内側下部槽空間の前記電解液を、前記導電性ワークへ向けて流通させる電解液通過孔を、さらに有する皮膜形成装置。
続きを表示(約 1,100 文字)
【請求項2】
前記ワーク側遮蔽板は、上部側の部位が、前記電解液槽の前記電解液の液面から突出して設けられることで、鉛直方向において前記導電性ワークと対向する内側上部槽空間と、前記内側上部槽空間の外側に位置する外側上部槽空間と、を区画する請求項1に記載の皮膜形成装置。
【請求項3】
前記内側上部槽空間から前記電解液を排出する電解液排出部を、さらに備える請求項2に記載の皮膜形成装置。
【請求項4】
前記ワーク側遮蔽板は、前記導電性ワークの上部側に配置される上部遮蔽板と、前記導電性ワークの下部側に配置される下部遮蔽板と、を有する請求項1に記載の皮膜形成装置。
【請求項5】
前記下部遮蔽板は、
前記導電性ワークの下端面と対向し、前記導電性ワークに取り付ける部位となる上面部と、
前記上面部の周縁に設けられる前記エア溜まり部と、
前記上面部から突出して設けられると共に、前記導電性ワークの下部側の外周面に対向して設けられる突出部と、を有する請求項4に記載の皮膜形成装置。
【請求項6】
前記エア溜まり部は、
前記槽側遮蔽板を挟んで、前記内側下部槽空間に位置するエア内壁と、
前記槽側遮蔽板を挟んで、前記外側下部槽空間に位置するエア外壁と、を含み、
前記エア外壁の下部端は、前記エア内壁の下部端に対して上方側に位置する請求項1に記載の皮膜形成装置。
【請求項7】
前記エア溜まり部は、
前記槽側遮蔽板を挟んで、前記内側下部槽空間に位置するエア内壁と、
前記槽側遮蔽板を挟んで、前記外側下部槽空間に位置するエア外壁と、
前記エア外壁に貫通形成されるエア抜き孔と、を含む請求項1に記載の皮膜形成装置。
【請求項8】
前記槽側遮蔽板の下部に設けられ、気泡を供給するエア供給部を、さらに備え、
前記エア供給部は、前記内側下部槽空間及び前記外側下部槽空間へ向けて気泡を供給する請求項1に記載の皮膜形成装置。
【請求項9】
前記エア供給部は、前記内側下部槽空間へ向けて気泡を供給するための複数の吹出し孔を有し、
複数の前記吹出し孔は、前記エア溜まり部と対向しない位置に比べて、前記エア溜まり部と対向する位置に多く設けられる請求項8に記載の皮膜形成装置。
【請求項10】
前記内側下部槽空間へ前記電解液を供給する電解液供給部を、さらに備え、
前記電解液供給部は、前記内側下部槽空間に前記電解液を分散させて供給する請求項1に記載の皮膜形成装置。
発明の詳細な説明
【技術分野】
【0001】
本開示は、電解液を用いて導電性ワークに皮膜を形成する皮膜形成装置に関するものである。
続きを表示(約 1,900 文字)
【背景技術】
【0002】
従来、皮膜形成装置として、めっき液に浸漬させたワークにめっき処理を行う電解めっき方法が知られている(例えば、特許文献1参照)。
【先行技術文献】
【特許文献】
【0003】
特開2014-224278号公報
【発明の概要】
【発明が解決しようとする課題】
【0004】
ところで、特許文献1のような電気めっきにおいて、めっき対象となる導電性ワークの部位によっては、電流集中により金属の過剰析出等のめっき不良が発生する。過剰析出を抑制する場合、一般的に、遮蔽板を用いて電流の局所的な集中を抑制することで、電流集中の発生を抑制する。このような遮蔽板を設ける場合、めっき液を流通させるために、遮蔽板には、開口が設けられるが、より電流集中の発生を抑制すべく、遮蔽板に開口を設けずに、完全遮蔽を行うことが考えられる。しかしながら、完全遮蔽を行う場合、めっき液の供給及び拡散が不足することにより、皮膜形成の形成不良が生じる可能性がある。
【0005】
そこで、本開示は、めっき不良の発生を抑制しつつ、皮膜形成を好適に行うことができる皮膜形成装置を提供することを課題とする。
【課題を解決するための手段】
【0006】
本開示の皮膜形成装置は、電解液を用いて導電性ワークに皮膜を形成する皮膜形成装置において、前記電解液を貯める電解液槽と、前記電解液に浸水させた前記導電性ワークを支持するワーク支持部と、前記導電性ワークに取り付けられる絶縁性のワーク側遮蔽板と、前記電解液槽の底部に設けられ、鉛直方向において前記ワーク側遮蔽板に対向して配置される絶縁性の槽側遮蔽板と、を備え、前記ワーク側遮蔽板は、前記槽側遮蔽板と対向する下部側の部位に設けられ、エアを溜めるエア溜まり部を、有し、前記槽側遮蔽板は、前記エア溜まり部に形成される前記電解液の液面から上部側へ突出して設けられることで、鉛直方向において前記導電性ワークと対向する内側下部槽空間と、前記内側下部槽空間の外側に位置する外側下部槽空間と、を区画し、前記ワーク側遮蔽板は、前記内側下部槽空間の前記電解液を、前記導電性ワークへ向けて流通させる電解液通過孔を、さらに有する。
【発明の効果】
【0007】
本開示によれば、めっき不良の発生を抑制しつつ、皮膜形成を好適に行うことができる。
【図面の簡単な説明】
【0008】
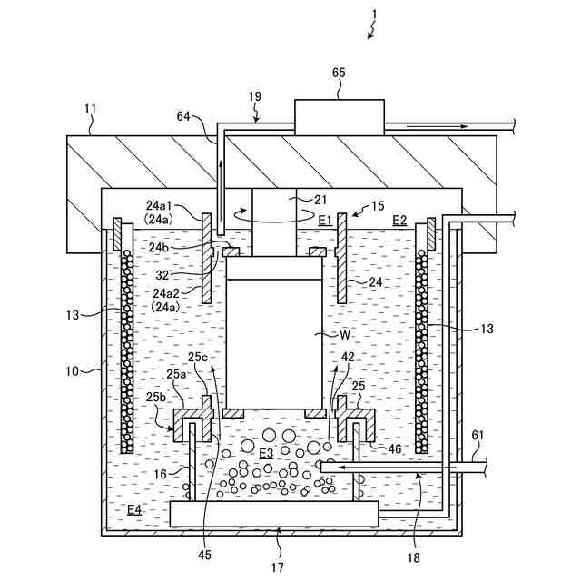
図1は、本実施形態に係る皮膜形成装置に関する図である。
図2は、ワーク側遮蔽板の上部遮蔽板を示す図である。
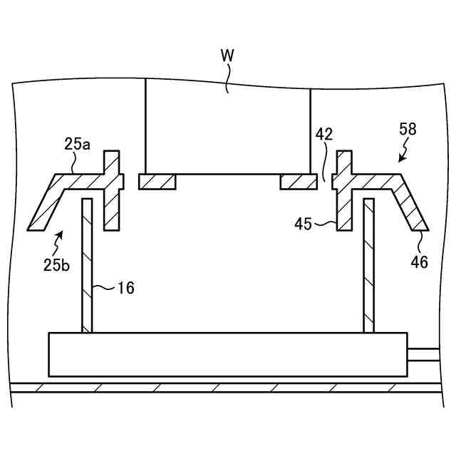
図3は、ワーク側遮蔽板の下部遮蔽板の一例を示す図である。
図4は、ワーク側遮蔽板の下部遮蔽板の一例を示す図である。
図5は、ワーク側遮蔽板の下部遮蔽板の一例を示す図である。
図6は、下部遮蔽板のめっき液通過孔の一例を示す図である。
図7は、下部遮蔽板のめっき液通過孔の一例を示す図である。
図8は、下部遮蔽板のめっき液通過孔の一例を示す図である。
図9は、電解液供給部の一例を示す図である。
図10は、電解液供給部の一例を示す図である。
図11は、電解液供給部の一例を示す図である。
図12は、エア供給部の吹出し孔の一例を示す図である。
図13は、エア供給部の吹出し孔の一例を示す図である。
【発明を実施するための形態】
【0009】
以下に、本開示に係る実施形態を図面に基づいて詳細に説明する。なお、この実施形態によりこの開示が限定されるものではない。また、下記実施形態における構成要素には、当業者が置換可能かつ容易なもの、あるいは実質的に同一のものが含まれる。さらに、以下に記載した構成要素は適宜組み合わせることが可能であり、また、実施形態が複数ある場合には、各実施形態を組み合わせることも可能である。
【0010】
[本実施形態]
本実施形態に係る皮膜形成装置1は、電解液を用いて対象物となる導電性ワークWに皮膜を形成する装置であり、例えば、電気めっき装置または電鋳装置等である。なお、本実施形態では、皮膜形成装置1として、めっき液(電解液)を用いて電気めっきを行うめっき装置に適用して説明する。導電性ワークWは、導電性を有する金属であり、形状は特に限定されない。なお、本実施形態において、導電性ワークWは回転可能に支持されるため、例えば、円柱または円筒等の回転体形状となっている。
(【0011】以降は省略されています)
この特許をJ-PlatPat(特許庁公式サイト)で参照する
関連特許
三菱重工業株式会社
原子炉
11日前
三菱重工業株式会社
動力装置
1か月前
三菱重工業株式会社
施工方法
17日前
三菱重工業株式会社
ボイラ壁
1か月前
三菱重工業株式会社
石膏脱水システム
17日前
三菱重工業株式会社
燃焼筒の取付方法
1か月前
三菱重工業株式会社
蒸気タービンシステム
26日前
三菱重工業株式会社
ガスタービン起動方法
26日前
三菱重工業株式会社
燃焼設備および制御方法
1か月前
三菱重工業株式会社
原子炉炉心および原子炉
11日前
三菱重工業株式会社
シール装置及び回転機械
16日前
三菱重工業株式会社
アンモニア除害システム
17日前
三菱重工業株式会社
ガス処理装置および方法
24日前
三菱重工業株式会社
軸流圧縮機、及びその動翼
18日前
三菱重工業株式会社
計測システムおよび計測方法
24日前
三菱重工業株式会社
水素吸蔵材料および原子力設備
25日前
三菱重工業株式会社
支持部材及び接着剤の監視方法
17日前
三菱重工業株式会社
レドックスフロー電池システム
1か月前
三菱重工業株式会社
インバータ装置及びその保護方法
24日前
三菱重工業株式会社
電動ファンおよび電動垂直離着陸機
27日前
三菱重工業株式会社
演算方法、プログラム及び演算装置
1か月前
三菱重工業株式会社
インバータ基板及びインバータ装置
24日前
三菱重工業株式会社
圧縮機の静翼セグメント、及び圧縮機
17日前
三菱重工業株式会社
補修方法、プログラム、及び補修装置
18日前
三菱重工業株式会社
燃料製造システム、及び燃料製造方法
19日前
三菱重工業株式会社
RPB装置及び酸性ガス回収システム
24日前
三菱重工業株式会社
炉壁及びガス化炉並びに炉壁の製造方法
1か月前
三菱重工業株式会社
検査システム、検査方法及びプログラム
3日前
三菱重工業株式会社
超音波探傷装置、および超音波探傷方法
16日前
三菱重工業株式会社
合流支援システム、および合流支援方法
19日前
三菱重工業株式会社
ガスタービン発電プラント、及びその運転方法
1か月前
三菱重工業株式会社
水電解システム、及び水電解システムの運転方法
24日前
三菱重工業株式会社
静翼セグメント、及びこれを備える蒸気タービン
9日前
三菱重工業株式会社
制御装置、制御方法、監視システム及びプログラム
25日前
三菱重工業株式会社
触媒及びその製造方法、並びに炭化水素の製造方法
25日前
三菱重工業株式会社
放射性物質取扱設備施工方法および放射性物質取扱設備
3日前
続きを見る
他の特許を見る