TOP
|
特許
|
意匠
|
商標
特許ウォッチ
Twitter
他の特許を見る
公開番号
2025153110
公報種別
公開特許公報(A)
公開日
2025-10-10
出願番号
2024055405
出願日
2024-03-29
発明の名称
渦電流探傷装置、及び渦電流探傷方法
出願人
三菱重工業株式会社
代理人
個人
,
個人
,
個人
,
個人
,
個人
主分類
G01N
27/904 20210101AFI20251002BHJP(測定;試験)
要約
【課題】磁場の干渉を防ぎつつ、より短時間で検査を行うことが可能な渦電流探傷装置、及び渦電流探傷方法を提供する。
【解決手段】渦電流探傷装置は、第一方向に離間して配置された一対ずつの励磁コイル、及び検出コイルを含むアレイコイルと、一対の励磁コイル同士の間で、位相が180°異なる交流電圧を印加する電圧印加部と、を備える。渦電流探傷方法は、第一方向に離間して配置された一対の励磁コイル、及び検出コイルを含むアレイコイルを用いた渦電流探傷方法であって、一対の励磁コイルのうちの一方に交流電圧を印加するステップと、一対の励磁コイルのうちの他方に、一方に印加される交流電圧とは180°位相が異なる交流電圧を同時に印加するステップと、を含む。
【選択図】図3
特許請求の範囲
【請求項1】
第一方向に離間して配置された一対ずつの励磁コイル、及び検出コイルを含むアレイコイルと、
前記一対の励磁コイル同士の間で、位相が180°異なる交流電圧を印加する電圧印加部と、
を備える渦電流探傷装置。
続きを表示(約 930 文字)
【請求項2】
前記第一方向に直交する軸線方向を中心として周方向に配列された複数の前記アレイコイルと、
前記複数のアレイコイルを支持するプローブ本体と、
を備える請求項1に記載の渦電流探傷装置。
【請求項3】
前記第一方向を厚さ方向とする板状部材と、
該板状部材の厚さ方向両面に設けられた前記アレイコイルと、
を備える請求項1に記載の渦電流探傷装置。
【請求項4】
前記アレイコイルは、環状の前記励磁コイルと、該励磁コイルの中心軸に交差する方向を中心軸とする環状をなすとともに前記励磁コイルに直交するように配置されている前記検出コイルと、を有するクロスコイルであり、前記励磁コイル、及び前記検出コイルの前記中心軸は、検査対象面に対して平行である請求項1から3のいずれか一項に記載の渦電流探傷装置。
【請求項5】
前記アレイコイルは、環状をなすとともに、前記励磁コイルと前記検出コイルとを兼ねるパンケーキコイルであり、該パンケーキコイルの中心軸は、検査対象面に対して直交している請求項1から3のいずれか一項に記載の渦電流探傷装置。
【請求項6】
前記アレイコイルは、環状をなすとともに、前記励磁コイルと前記検出コイルとを兼ねるタンジェンシャルコイルであり、前記タンジェンシャルコイルの中心軸は、検査対象面に対して平行である請求項1から3のいずれか一項に記載の渦電流探傷装置。
【請求項7】
前記アレイコイルは、2つのコイルが前記励磁コイルとしての機能と前記検出コイルとしての機能を兼ねる自己誘導型クロスコイルである請求項1から3のいずれか一項に記載の渦電流探傷装置。
【請求項8】
第一方向に離間して配置された一対の励磁コイル、及び検出コイルを含むアレイコイルを用いた渦電流探傷方法であって、
前記一対の励磁コイルのうちの一方に交流電圧を印加するステップと、
前記一対の励磁コイルのうちの他方に、前記一方に印加される交流電圧とは180°位相が異なる交流電圧を同時に印加するステップと、
を含む渦電流探傷方法。
発明の詳細な説明
【技術分野】
【0001】
本開示は、渦電流探傷装置、及び渦電流探傷方法に関する。
続きを表示(約 1,600 文字)
【背景技術】
【0002】
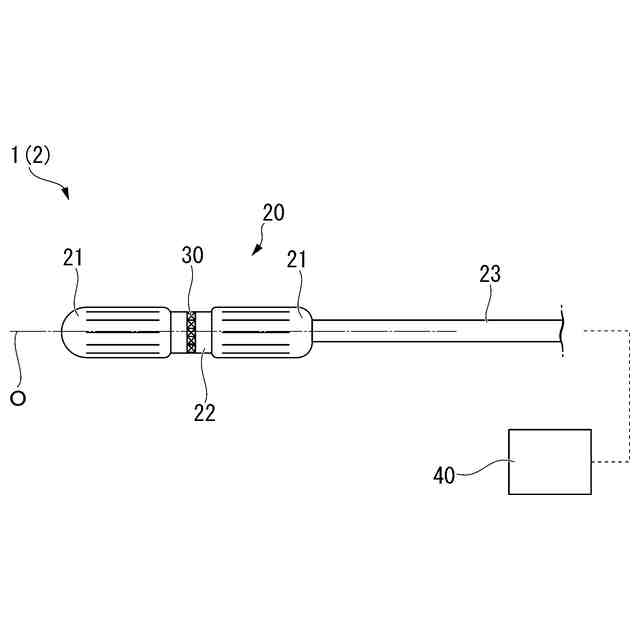
例えば原子力発電プラントの各種配管の内部では、高温高圧の流体が流れることに起因して、減肉や亀裂等の欠陥を生じることがある。このような欠陥を検出するための装置として、下記特許文献1に記載されたものが知られている。下記特許文献1に係る装置は、励磁コイル、及び検出コイルを含むアレイコイルが周方向に配列されたプローブを主に備える。プローブを配管内に挿入した状態で、励磁コイルに電流を流すと、配管の内面近傍に渦電流が生じる。欠陥がある場合には、この渦電流が欠陥によって乱される。検出コイルはその乱れを検出し、後続の装置に電気信号として送信する。
【0003】
ここで、周方向に配列された励磁コイル同士の間では、電流を流した際の電磁誘導によって生じる磁場が互いに干渉しやすい状態にある。磁場が干渉すると、ノイズが生じて検出結果に影響を与える可能性がある。そのため、従来は、励磁コイル同士の間で電流を流すタイミングを少しずつ違えることで、磁場の干渉を防ぐという技術が一般的に用いられてきた。
【先行技術文献】
【特許文献】
【0004】
特開2020-159984号公報
【発明の概要】
【発明が解決しようとする課題】
【0005】
渦電流探傷では、単位長さ当たりに決まった点数のデータを取得することが求められる。上記の様に、励磁タイミングを変えながら検査を進める場合、周方向に配列されたすべての励磁コイルについて一周分の励磁に掛かる時間が長くなると、走査速度を低く設定する必要が生じる。このため、検査時間に長時間を要していた。
【0006】
本開示は上記課題を解決するためになされたものであって、磁場の干渉を防ぎつつ、より短時間で検査を行うことが可能な渦電流探傷装置、及び渦電流探傷方法を提供することを目的とする。
【課題を解決するための手段】
【0007】
上記課題を解決するために、本開示に係る渦電流探傷装置は、第一方向に離間して配置された一対ずつの励磁コイル、及び検出コイルを含むアレイコイルと、前記一対の励磁コイル同士の間で、位相が180°異なる交流電圧を印加する電圧印加部と、を備える。
【0008】
本開示に係る渦電流探傷方法は、第一方向に離間して配置された一対の励磁コイル、及び検出コイルを含むアレイコイルを用いた渦電流探傷方法であって、前記一対の励磁コイルのうちの一方に交流電圧を印加するステップと、前記一対の励磁コイルのうちの他方に、前記一方に印加される交流電圧とは180°位相が異なる交流電圧を同時に印加するステップと、を含む。
【発明の効果】
【0009】
本開示によれば、磁場の干渉を防ぎつつ、より短時間で検査を行うことが可能な渦電流探傷装置、及び渦電流探傷方法を提供することができる。
【図面の簡単な説明】
【0010】
本開示の第一実施形態に係る渦電流探傷装置の構成を示す模式図である。
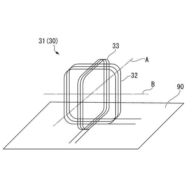
本開示の第一実施形態に係る励磁コイル、及び検出コイルの構成を示す斜視図である。
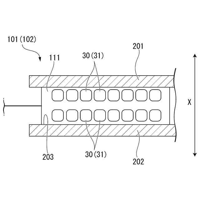
本開示の第一実施形態に係る渦電流探傷装置を軸線方向から見た断面図である。
本開示の第一実施形態に係る渦電流探傷装置、及び方法における励磁コイルに流れる交流電圧の位相差を示すグラフである。
本開示の第一実施形態に係る渦電流探傷方法の各ステップを示すフローチャートである。
本開示の第二実施形態に係る渦電流探傷装置の構成を示す断面図である。
本開示の各実施形態に係るアレイコイルの第一変形例を示す斜視図である。
本開示の各実施形態に係るアレイコイルの第二変形例を示す斜視図である。
【発明を実施するための形態】
(【0011】以降は省略されています)
この特許をJ-PlatPat(特許庁公式サイト)で参照する
関連特許
三菱重工業株式会社
清掃装置
9日前
三菱重工業株式会社
加圧容器
1か月前
三菱重工業株式会社
回転機械
1か月前
三菱重工業株式会社
搬送システム
1か月前
三菱重工業株式会社
皮膜形成装置
1日前
三菱重工業株式会社
風力発電装置
8日前
三菱重工業株式会社
フィルタ装置
8日前
三菱重工業株式会社
排熱システム
1か月前
三菱重工業株式会社
容器解体装置
12日前
三菱重工業株式会社
ポンプシステム
1日前
三菱重工業株式会社
超音波探傷方法
1日前
三菱重工業株式会社
フォークリフト
1か月前
三菱重工業株式会社
バッテリ交換装置
2日前
三菱重工業株式会社
排熱回収システム
1か月前
三菱重工業株式会社
主蒸気管洗浄方法
8日前
三菱重工業株式会社
コールドプレート
1か月前
三菱重工業株式会社
洗浄水噴射ノズル
3日前
三菱重工業株式会社
コンプレッサ装置
1か月前
三菱重工業株式会社
メタン酸化触媒装置
1日前
三菱重工業株式会社
軌道系交通システム
8日前
三菱重工業株式会社
放射性物質移送容器
1か月前
三菱重工業株式会社
炉内構造物の解体方法
12日前
三菱重工業株式会社
造形プロセスの監視方法
16日前
三菱重工業株式会社
炭化炉及びその制御方法
1日前
三菱重工業株式会社
デジタル入力モジュール
3日前
三菱重工業株式会社
電解セル、及び電解装置
2日前
三菱重工業株式会社
シール装置および回転機械
3日前
三菱重工業株式会社
計測装置、及び積層造形装置
1か月前
三菱重工業株式会社
水素供給システムおよび方法
12日前
三菱重工業株式会社
ウエハステージ冷却システム
16日前
三菱重工業株式会社
計測装置、及び積層造形装置
1か月前
三菱重工業株式会社
バーナ及びこれを備えたボイラ
1日前
三菱重工業株式会社
内燃機関の制御装置および方法
8日前
三菱重工業株式会社
バーナ及びこれを備えたボイラ
1日前
三菱重工業株式会社
情報処理装置および情報処理方法
1か月前
三菱重工業株式会社
蒸気タービン翼及び蒸気タービン
8日前
続きを見る
他の特許を見る