TOP
|
特許
|
意匠
|
商標
特許ウォッチ
Twitter
他の特許を見る
10個以上の画像は省略されています。
公開番号
2025156917
公報種別
公開特許公報(A)
公開日
2025-10-15
出願番号
2024059676
出願日
2024-04-02
発明の名称
電解セルカートリッジおよびその製造方法
出願人
三菱重工業株式会社
代理人
個人
,
個人
,
個人
主分類
C25B
9/65 20210101AFI20251007BHJP(電気分解または電気泳動方法;そのための装置)
要約
【課題】本開示は、電解セルカートリッジで給電部材の水蒸気酸化を抑制することを目的とする。
【解決手段】本開示に係る電解セルカートリッジ203は、電解セル105を有する複数の電解セルスタック101と、電解セルスタックを挿通するための孔を有し、孔に電解セルスタックが挿入されて複数の電解セルスタックを電気的に接続する給電板11a,11bと、を備えた電解セルカートリッジであって、給電板が、電解セルスタックを挿入するための孔を有するステンレス鋼の板状の基材と、該基材の表面を覆う水蒸気酸化耐性層と、を備え、水蒸気酸化耐性層が、基材よりも水蒸気酸化耐性の高い材料からなる。
【選択図】図2
特許請求の範囲
【請求項1】
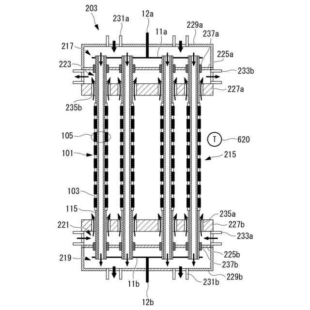
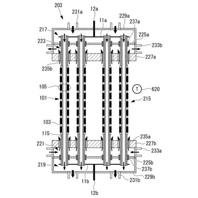
電解セルを有する複数の電解セルスタックと、
前記電解セルスタックを挿通するための孔を有し、前記孔に前記電解セルスタックが挿入されて複数の前記電解セルスタックを電気的に接続する給電板と、を備えた電解セルカートリッジであって、
前記給電板が、前記電解セルスタックを挿入するための孔を有するステンレス鋼の板状の基材と、該基材の表面を覆う水蒸気酸化耐性層と、を備え、
前記水蒸気酸化耐性層が、前記基材よりも水蒸気酸化耐性の高い材料からなる電解セルカートリッジ。
続きを表示(約 570 文字)
【請求項2】
前記水蒸気酸化耐性層の材料が、ニッケル、チタンおよび銅から選択される請求項1に記載の電解セルカートリッジ。
【請求項3】
前記給電板が、前記基材と前記水蒸気酸化耐性層との間に、前記基材よりも導電率の高い材料からなる導電層を有する請求項1に記載の電解セルカートリッジ。
【請求項4】
電解セルを有する複数の電解セルスタックと、複数の前記電解セルスタックを電気的に接続する給電板と、を備え、
前記給電板が、前記電解セルスタックを挿入するための孔を有するステンレス鋼の板状の基材と、表面に前記給電板の輻射率を向上させるための輻射率向上構造を有する電解セルカートリッジ。
【請求項5】
前記輻射率向上構造が、前記給電板の表面に設けられた凹凸である請求項4に記載の電解セルカートリッジ。
【請求項6】
電解セルを有する複数の電解セルスタックと、複数の前記電解セルスタックを電気的に並列に接続する給電板と、を備え、前記給電板が、前記電解セルスタックを挿入するための孔を有するステンレス鋼の板状の基材を有するカートリッジの製造方法であって、
ブラスト施工またはサンダー施工により前記給電板の表面粗度を増加させる電解セルカートリッジの製造方法。
発明の詳細な説明
【技術分野】
【0001】
本開示は、電解セルカートリッジおよびその製造方法、特に、高温の水蒸気を電解する固体酸化物形電解セル(Solid Oxide Electrolysis Cell(SOEC)に適用される電解セルカートリッジおよびその製造方法に関するものである。
続きを表示(約 1,400 文字)
【背景技術】
【0002】
近年、カーボンニュートラルの実現に向けて、CO
2
を排出しない安価で大容量の水素製造システムの開発が求められている。
【0003】
水を電気化学的に分解して水素および酸素を生成する水電解は二酸化炭素の排出を伴わない水素製造法であり優れた環境特性を有しており、液体の水を電解するアルカリ電解や固体高分子電解、水蒸気を電解する水蒸気電解などがある。
【0004】
中でも高温の水蒸気を電解する固体酸化物形電解セル(Solid Oxide Electrolysis Cell(SOEC):以下、「電解セル」という)は、電解質としてイットリア安定化ジルコニアなどの酸素イオン導電性を有するセラミックスを用いて、高温水蒸気のもつ熱エネルギーを電解反応に必要なエネルギーの一部として利用できるため他の電解方式に比べ高い効率で水素の製造が可能である。また、高温水蒸気と二酸化炭素(CO
2
)の混合ガスを供給し、電解により生成した水素と二酸化炭素を電解セル上で反応させ、直接一酸化炭素(CO)や炭化水素化合物を生成する共電解も可能である。
【0005】
さらに固体酸化物形電解セルには外部から電力と高温水蒸気を供給して逆反応により水素および酸素を製造する機能と燃料電池としての発電の双方向の機能を備えたリバーシブル固体酸化物形電気化学セル(Reversible Solid Oxide Electrochemical Cell(RSOC):以下「リバーシブルセル」という)として開発が進められているものもある。
【0006】
特許文献1では、水素極、固体電解質膜および酸素極を有する電解セルが基体管上に複数並べられた円筒形のセルスタックを備えた水素生成システムが開示されている。このような水素生成システムでは、複数のセルスタックを集合化(カートリッジ化)させて利用する。
【0007】
SOECの電解反応は吸熱反応であることから、特許文献2に記載されている発電させるための固体酸化物形燃料電池セル(SOFC)と比較してSOECでは、SOFCよりも高電流を印加することが可能である。同一仕様のセルの場合、SOECは、SOFCの数倍程度の電流を印加されうる。
【先行技術文献】
【特許文献】
【0008】
特許第7282968号公報
特許第5106884号公報
【発明の概要】
【発明が解決しようとする課題】
【0009】
特許文献2のSOFCでは、薄板の集電部材で複数のセルスタックを電気的に結合している。このような薄板をSOECのセルスタックの給電部材として用いることが検討されている。
【0010】
しかしながら、SOFCに比べ高電流を通電するSOECでは、給電部材を電流が横流れする際に電流値の二乗に比例して給電部材の抵抗による自己発熱が増加し、温度上昇幅が大きくなる。このため、SOFCで用いている集電部材では、腐食や熱応力の観点で許容できないレベル(650℃超)まで給電部材の温度が高くなるという問題が生じうる。これは、セルスタックの性能を十分に引き出すにあたっての制約となるため、対策が必要である。
(【0011】以降は省略されています)
この特許をJ-PlatPat(特許庁公式サイト)で参照する
関連特許
三菱重工業株式会社
加熱装置
今日
三菱重工業株式会社
皮膜形成装置
7日前
三菱重工業株式会社
ポンプシステム
7日前
三菱重工業株式会社
メタン酸化触媒装置
7日前
三菱重工業株式会社
ガスタービン制御方法
今日
三菱重工業株式会社
炭化炉及びその制御方法
7日前
三菱重工業株式会社
バーナ及びこれを備えたボイラ
7日前
三菱重工業株式会社
バーナ及びこれを備えたボイラ
7日前
三菱重工業株式会社
燃料噴射装置および往復動内燃機関
1日前
三菱重工業株式会社
水素製造システム及び水素製造方法
7日前
三菱重工業株式会社
渦電流探傷装置、及び渦電流探傷方法
7日前
三菱重工業株式会社
電解セルカートリッジおよびその製造方法
2日前
三菱重工業株式会社
電解モジュールの冷却方法及び電解システム
7日前
三菱重工業株式会社
接着剤の膜厚測定方法、および接合部材の製造方法
2日前
三菱重工業株式会社
制御装置、CO2回収装置、制御方法及びプログラム
今日
三菱重工業株式会社
経路設定方法、移動体、管理システム及びプログラム
2日前
三菱重工業株式会社
劣化判定装置、劣化判定システム、および、劣化判定方法
今日
三菱重工業株式会社
タービン架台及びタービン装置並びにタービン架台の製造方法
7日前
三菱重工業株式会社
粉砕テーブル及び固体燃料粉砕装置並びに粉砕テーブルの補修方法
7日前
三菱重工業株式会社
制御装置、ガスタービンの燃料供給系統、制御方法及びプログラム
3日前
三菱重工業株式会社
船舶の積み付け計画作成装置、船舶の積み付け計画作成方法、およびプログラム
今日
三菱重工業株式会社
熱電併給用蒸気生成システム及び熱電併給システム並びに熱電併給用蒸気生成方法
7日前
三菱重工業株式会社
ガスタービン制御装置、ガスタービン制御方法、及び、ガスタービン制御プログラム
3日前
三菱重工業株式会社
放射性廃棄物収納用セパレータ、放射性廃棄物収納容器および放射性廃棄物収納方法
3日前
三菱重工業株式会社
炭素強度演算装置、これを用いた合成燃料製造プラント、炭素強度演算方法及び炭素強度演算プログラム
7日前
三菱重工業株式会社
CO2回収装置用蒸気生成システム及びこれを備えたCO2回収装置並びにCO2回収装置用蒸気生成方法
7日前
株式会社カネカ
可撓性ガス拡散電極
18日前
本田技研工業株式会社
電解装置
29日前
株式会社東芝
アルマイト処理方法
1か月前
一般財団法人電力中央研究所
電解反応装置
14日前
本田技研工業株式会社
水電解スタック
14日前
本田技研工業株式会社
CO2電解装置
14日前
SECカーボン株式会社
カソードアセンブリ
10日前
本田技研工業株式会社
電気化学スタック
1か月前
株式会社荏原製作所
蒸気発電プラント
7日前
本田技研工業株式会社
電解セルの製造方法
22日前
続きを見る
他の特許を見る