TOP
|
特許
|
意匠
|
商標
特許ウォッチ
Twitter
他の特許を見る
10個以上の画像は省略されています。
公開番号
2025148048
公報種別
公開特許公報(A)
公開日
2025-10-07
出願番号
2024048624
出願日
2024-03-25
発明の名称
カソードアセンブリ
出願人
SECカーボン株式会社
代理人
個人
,
個人
主分類
C25C
3/06 20060101AFI20250930BHJP(電気分解または電気泳動方法;そのための装置)
要約
【課題】CVDを抑制して、電解炉を安定的に操業することができるカソードアセンブリを提供する。
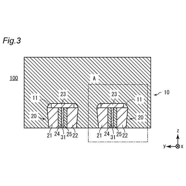
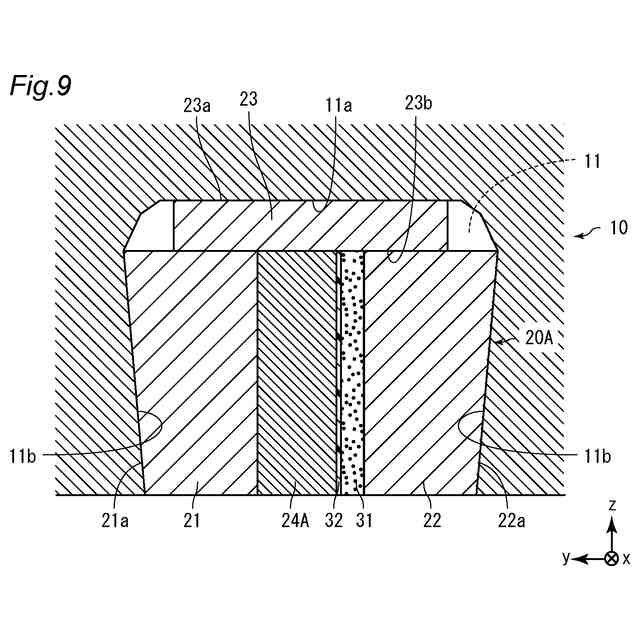
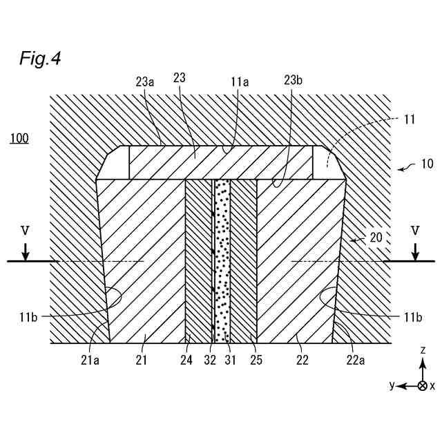
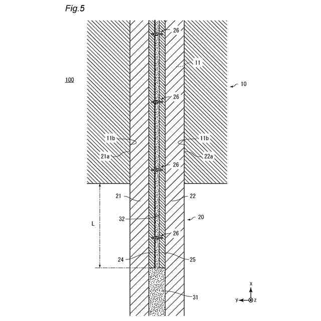
【解決手段】カソードアセンブリ100は、溝11が設けられた炭素製のカソードブロック10と、溝11に挿入されたコレクターバーユニット20と、充填材31と、を備える。コレクターバーユニット20は、コレクターバー21及び22と、上部プレート23と、導電部材24及び25とを含む。コレクターバー21及び22並びに上部プレート23の各々は、鉄又は鉄合金で構成され、導電部材24及び25は銅又は銅合金で構成される。コレクターバー21及び22は、溝11の対応する側面11bと接しており、上部プレート23は、溝11の底面11a並びにコレクターバー21及び22と接している。充填材31は、コレクターバー21及び22並びに上部プレート23によって囲まれた空間に配置されている。
【選択図】図4
特許請求の範囲
【請求項1】
アルミニウム製錬用の電解炉で使用されるカソードアセンブリであって、
溝が設けられた炭素製のカソードブロックと、
前記溝に挿入されたコレクターバーユニットと、
充填材と、を備え、
前記コレクターバーユニットは、
各々が前記溝と同じ方向に延びた形状を有し、前記溝の幅方向に並んで配置された、二つのコレクターバーと、
前記溝と同じ方向に延びた形状を有し、前記二つのコレクターバーの上部に配置さえた上部プレートと、
前記溝と同じ方向に延びた形状を有し、前記二つのコレクターバー及び上部プレートの少なくとも一つに接触するように配置された導電部材と、を含み、
前記二つのコレクターバー及び前記上部プレートの各々は、鉄又は鉄合金で構成され、
前記導電部材は、銅又は銅合金で構成され、
前記二つのコレクターバーは、前記溝の対応する側面と接しており、
前記上部プレートは、前記溝の底面、及び前記二つのコレクターバーと接しており、
前記充填材は、前記二つのコレクターバー及び前記上部プレートによって囲まれた空間に配置されている、カソードアセンブリ。
続きを表示(約 210 文字)
【請求項2】
請求項1に記載のカソードアセンブリであって、
前記コレクターバーユニットは、前記二つのコレクターバーの間隔を調整する間隔調整部材をさらに含む、カソードアセンブリ。
【請求項3】
請求項1又は2に記載のカソードアセンブリであって、
前記充填材と前記導電部材との間、又は前記充填材と前記コレクターバーとの間に配置されたスペーサーをさらに備える、カソードアセンブリ。
発明の詳細な説明
【技術分野】
【0001】
本発明は、カソードアセンブリに関する。
続きを表示(約 2,000 文字)
【背景技術】
【0002】
アルミニウム製錬用の電解炉の陰極(カソード)には、炭素製のカソードブロックが使用される。カソードブロックは、シェルと呼ばれる鉄製の箱に設置され、電解炉の炉底を構成する。カソードブロックはまた、電解浴に電子を供給する役割を担っている。
【0003】
カソードブロックには、金属製のコレクターバーを介して電子が供給される。以下、本明細書では、カソードブロックにコレクターバーを接続した組立体を「カソードアセンブリ」と呼ぶ。
【0004】
国際公開第2018/134754号には、炭素質材料からなるカソード本体と、金属材料からなる少なくとも一つのカソードコレクターバーとを備えるカソードアセンブリが開示されている。このカソードコレクターバーは、二つのバーエレメントを備えている。二つのバーエレメントの各々は、カソード本体のスロットの側面と接触する主側面と、テーパー面とを備えている。二つのテーパー面は、二つのバーエレメント間で接触ラインを形成する。
【0005】
特表2017-534770号公報には、炭素カソード内に組み立てられたカソード集電体アセンブリが開示されている。このカソード集電体アセンブリは、炭素カソードの下に配置される高導電性金属の集電バーを備える。この集電バーは、炭素カソードとの界面に、導電性のフレキシブルなフォイル又はシートを有する。
【0006】
国際公開第2021/240353号には、少なくとも一つのスロットを備える炭素質の材料からなるカソード本体と、このスロットに部分的に収納されるコレクターバーシステムとを備えるカソードアセンブリが開示されている。コレクターバーシステムは、二つの個別バーと、個別バーに取り付けられ、コレクターバーシステムの外側面がスロットの内側壁と強固に接触するようにする維持手段とを備える。
【0007】
中国特許出願公開第116397276号明細書には、長手方向に溝が設けられた表面を有するカーソードカーボンブロックと、この溝に配置されるカソード導電ロッドとを備える、アルミニウム電解炉用の銅製カソード導電ロッドアセンブリが開示されている。同公報には、導電ロッドが(銅製の)ロッド本体を収容するための保護カバーを含んでおり、保護カバーの両端に封止ペーストを配置することで、銅製の導電ロッドの腐食を防止できることが記載されている。
【先行技術文献】
【特許文献】
【0008】
国際公開第2018/134754号
特表2017-534770号公報
国際公開第2021/240353号
中国特許出願公開第116397276号明細書
国際公開第2023/119802号
【発明の概要】
【発明が解決しようとする課題】
【0009】
カソードブロックとコレクターバーとの接続は一般的に、鉄を鋳込むことで行われる。具体的には、カソードブロックの底面に溝を形成してコレクターバーをはめ込み、その隙間に約1250℃に加熱して溶かした鉄を流し込むことで行われる。この方法は、作業負荷が大きいことに加え、鉄を溶かすための加熱や、カソードブロック及びコレクターバーの予熱にエネルギーコストがかかる。また、予熱温度が高すぎるとカソードブロックが酸化するため、予熱温度は300~400℃までにしか上げることができず、溶かした鉄を流し込む際にヒートショックによってカソードブロックが割れるリスクがある。
【0010】
本発明者らは以前、この問題を解決するためのカソードアセンブリを開発し、PCT/JP2022/038136号として特許出願を行った(国際公開第2023/119802号)。このカソードアセンブリは、溝が設けられたカソードブロックと、溝に挿入されたコレクターバーユニットとを備える。コレクターバーユニットは、溝の幅方向に並んで配置された二つのコレクターバーと、二つのコレクターバーの間隔を調整する間隔調整部材とを含む。この構成によれば、間隔調整部材によって二つのコレクターバーの間隔を調整することによって、コレクターバーとカソードブロックとの接触圧力を調整することができる。これによって、コレクターバーとカソードブロックとの隙間に溶かした鉄を流し込まなくても、コレクターバーとカソードブロックとの接触抵抗のバラツキを低減することができる。国際公開第2023/119802号には、コレクターバーユニットがコレクターバーよりも導電性の高い金属からなる導電部材を含むことや、二つのコレクターバーの間にアルミナセメント等の充填材を配置すること等も開示されている。
(【0011】以降は省略されています)
この特許をJ-PlatPat(特許庁公式サイト)で参照する
関連特許
株式会社堤水素研究所
水電解装置
1か月前
株式会社神戸製鋼所
接点材料
1か月前
株式会社ケミカル山本
電解研磨装置用電極
1か月前
本田技研工業株式会社
電解装置
2日前
本田技研工業株式会社
水電解スタック
2か月前
一般財団法人電力中央研究所
電解反応装置
2か月前
本田技研工業株式会社
差圧式電解装置
1か月前
東レ株式会社
液体電解用多孔質輸送層およびその製造方法
1か月前
SECカーボン株式会社
カソードアセンブリ
2か月前
株式会社荏原製作所
蒸気発電プラント
2か月前
古河電気工業株式会社
端子
2か月前
メルテックス株式会社
極薄電解銅箔及びその製造方法
1か月前
旭化成株式会社
電解装置の運転方法
1か月前
三菱マテリアル株式会社
皮膜付端子材及びその製造方法
2か月前
睦技研株式会社
バレルめっき装置
6日前
株式会社デンソー
電解装置
1か月前
大阪瓦斯株式会社
共電解メタネーション装置
1か月前
本田技研工業株式会社
膜電極構造体の製造方法
2か月前
大阪瓦斯株式会社
共電解メタネーション装置
1か月前
株式会社トクヤマ
電解槽ユニット
6日前
三菱重工業株式会社
皮膜形成装置
2か月前
株式会社トクヤマ
電解槽ユニット
6日前
JX金属株式会社
電着金属の搬送システム及び搬送方法
1か月前
本田技研工業株式会社
電気化学式水素昇圧システム
1か月前
株式会社フジタ
水電解装置
1か月前
株式会社デンソー
セル制御システム
2か月前
株式会社アイシン
電解システム
2か月前
トヨタ自動車株式会社
水電解システム
1か月前
株式会社デンソー
電気化学反応装置
15日前
日本特殊陶業株式会社
ホットモジュール
2か月前
日本碍子株式会社
電気化学セル
1か月前
日本特殊陶業株式会社
ホットモジュール
2か月前
株式会社ホクトウ
バレルメッキ装置用リード線のリサイクル方法
1か月前
トヨタ自動車株式会社
水電解システム
1日前
株式会社アイシン
電解システム
2か月前
日本特殊陶業株式会社
固体酸化物形電解セルおよびその利用
2か月前
続きを見る
他の特許を見る