TOP
|
特許
|
意匠
|
商標
特許ウォッチ
Twitter
他の特許を見る
10個以上の画像は省略されています。
公開番号
2025177007
公報種別
公開特許公報(A)
公開日
2025-12-05
出願番号
2024083467
出願日
2024-05-22
発明の名称
バレルめっき装置
出願人
睦技研株式会社
代理人
弁理士法人豊栖特許事務所
主分類
C25D
17/20 20060101AFI20251128BHJP(電気分解または電気泳動方法;そのための装置)
要約
【課題】効率的なめっきを実現し、生産性を向上しながら、めっき品質を改善する。
【解決手段】バレルめっき装置は、めっき液3が充填されてなるめっき槽2と、ワーク1を収容する収容部11を有し、めっき液3が通液する通液開口12が設けられた複数のバレル10と、複数のバレル10を回転する回転機構30とを備え、複数のバレル10は、回転機構30の回転軸30aの外側に配置され、脱着自在に回転機構30に連結されている。
【選択図】図1
特許請求の範囲
【請求項1】
めっき液が充填されてなるめっき槽と、
ワークを収容する収容部を有し、前記めっき液が通液する通液開口が設けられた複数のバレルと、
複数の前記バレルを回転する回転機構とを備え、
複数の前記バレルは、
前記回転機構の回転軸の外側に配置されてなるバレルめっき装置。
続きを表示(約 730 文字)
【請求項2】
請求項1に記載のバレルめっき装置であって、
複数の前記バレルは、隣接する前記バレルを離隔して配置するバレルめっき装置。
【請求項3】
請求項1に記載のバレルめっき装置であって、
前記回転軸を含む中央領域において、複数の前記バレル間を連結する中央連結部を有するバレルめっき装置。
【請求項4】
請求項1に記載のバレルめっき装置であって、
さらに、複数の前記バレルを収容する外周バレルを備え、
前記外周バレルは、前記複数のバレルと前記回転機構に連結され、
前記回転機構は、前記外周バレルとともに複数の前記バレルを回転するバレルめっき装置。
【請求項5】
請求項1ないし4のいずれか一項に記載のバレルめっき装置であって、
複数の前記バレルの端面を前記回転機構に連結する端面連結部を有するバレルめっき装置。
【請求項6】
請求項5に記載のバレルめっき装置であって、
前記端面連結部は、前記バレルが連結される位置を調整できる連結調整部を有するバレルめっき装置。
【請求項7】
請求項5に記載のバレルめっき装置であって、
前記バレルは、脱着自在に前記回転機構に連結されてなるバレルめっき装置。
【請求項8】
請求項7に記載のバレルめっき装置であって、
前記端面連結部は、前記バレルを挿通する開口部を有し、
脱着自在の前記バレルは、前記開口部に挿入されて前記回転機構に連結され、
前記開口部から取り出されて前記回転機構から離脱可能としてなるバレルめっき装置。
発明の詳細な説明
【技術分野】
【0001】
本開示は、バレルめっき装置に関する。
続きを表示(約 2,500 文字)
【背景技術】
【0002】
電気めっき法の一手法として、バレルめっき(回転めっき)がある。回転式のバレルめっきは、筒状の樽(バレル、Barrel)の形をした容器にワーク(被めっき物)を入れ、バレルを回転しながらめっきする。バレルめっき装置は、バレル内でワークを適切に転動、混合し、堆積物(塊)の表層面に表出させる必要があり、めっき膜厚の均一化、めっき品質を維持するために、バレル内へのワークの投入量が一定量に制限される。バレル内に投入された適量のワークは、バレル内の下方に塊状で堆積し、回転方向に持ち上げられながら、適切に転動、混合し、表層面に表出されることで、膜厚の均一化を図ることができ、めっき品質を維持できる。
【先行技術文献】
【特許文献】
【0003】
特開平5-222593号公報
【発明の概要】
【発明が解決しようとする課題】
【0004】
特許文献1に開示されるバレルめっき装置900は、図14に示すように、バレル容器内面に金網状の陰極を固定して設置する。このバレルめっき装置は、金網状内に収容されるワークの衝突によるワークの損傷を抑制、防止できるが、金網状内以外の空間領域はめっきできないデッドスペースとなり、バレル内の容積に対して収容できるワーク量が減少し、めっきの効率性を阻害し、生産性が低下する問題がある。また、めっきの効率性、生産性とめっき品質の改善を両立することが難しい問題がある。
【0005】
本開示は、以上の弊害を解消することを目的に開発されたもので、本開示の目的の1つは、効率的なめっきを実現し、生産性を向上しながら、めっき品質を改善できるバレルめっき装置を提供することにある。
【課題を解決するための手段】
【0006】
本開示に係るある態様のバレルめっき装置は、めっき液が充填されてなるめっき槽と、ワークを収容する収容部を有し、めっき液が通液する通液開口が設けられた複数のバレルと、複数のバレルを回転する回転機構とを備え、複数のバレルは、回転機構の回転軸の外側に配置されてなる。
【発明の効果】
【0007】
以上のバレルめっき装置は、効率的なめっきを実現し、生産性を向上しながら、めっき品質を改善できる特長がある。
【図面の簡単な説明】
【0008】
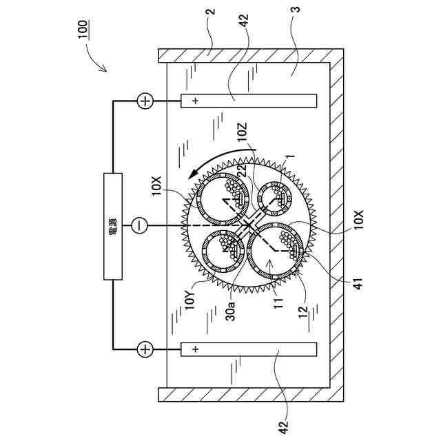
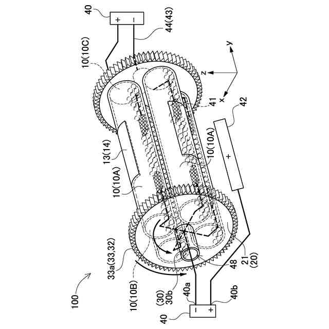
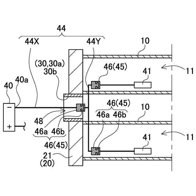
本開示の一実施形態に係るバレルめっき装置を示す模式斜視図である。
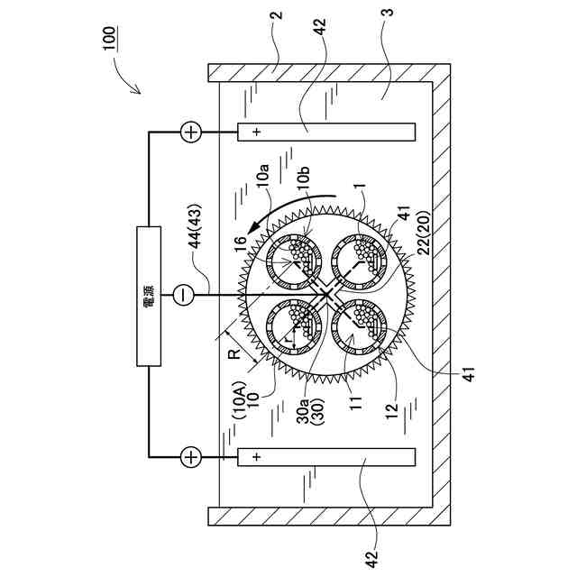
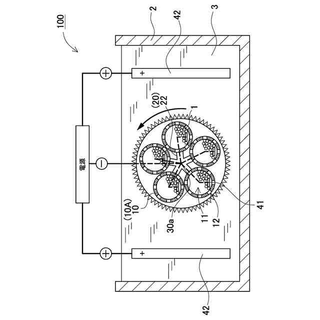
バレルめっき装置を示す模式断面図である。
バレルの他の例を示す模式断面図である。
バレルの他の例を示す模式断面図である。
バレルの他の例を示す模式断面図である。
バレルの他の例を示す模式断面図である。
本開示の他の実施例に係るバレルめっき装置を示す模式断面図である。
本開示の他の実施例に係るバレルめっき装置を示す模式断面図である。
本開示の他の実施例に係るバレルめっき装置を示す模式断面図である。
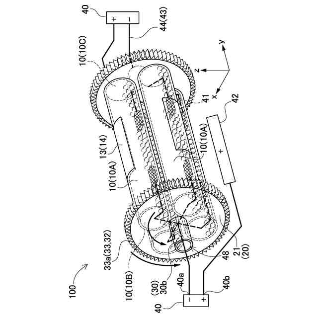
本開示の他の実施形態に係るバレルめっき装置を示す模式斜視図である。
本開示の他の実施形態に係るバレルめっき装置を示す模式斜視図である。
本開示の他の実施形態に係るバレルめっき装置を示す模式斜視図である。
本開示の他の実施形態に係るバレルめっき装置を示す模式斜視図である。
特許文献1で示される従来のバレル式電気めっき装置の概略図である。
【発明を実施するための形態】
【0009】
本開示に係る一実施態様のバレルめっき装置は、めっき液が充填されてなるめっき槽と、ワークを収容する収容部を有し、めっき液が通液する通液開口が設けられた複数のバレルと、複数のバレルを回転する回転機構とを備え、複数のバレルは、回転機構の回転軸の外側に配置されてなる。
【0010】
以上の構成は、効率的なめっきを実現し、生産性を向上しながら、めっき品質を改善できる特長がある。それは、バレルめっき装置が複数のバレルを有し、回転機構が回転の中心である回転軸よりも外側に配置されてなる複数のバレルを回転して、バレルごとに収容されたワークにめっきを施すことができるからである。以上の構成は、複数のバレル内にワークを収容し、バレルごとにワークを分散して収容でき、めっきの生産性を向上できる。従来の1本のバレルで構成されるめっきバレル装置はバレルの直径を大きくして、ワークの収容量を増加できるが、ワークが収容されない領域も拡大し、また外形が大きくなる問題があるが、以上の構成は複数のバレルにワークを収容することで、バレル、収容部の容積または面積当たりのワークの収容量を増加でき、効率的なめっきを実現し、生産性を向上できる。また、1本のバレル内にワークを収容する場合よりもバレル内に形成されるワークの塊状の堆積物を小さくでき、相対的に表層面の割合を拡大でき、ワークが表層面に表出する回数、時間を多くでき、効率的なめっき液への接触を実現できる。以上の構成は、バレルごとに収容されたワークにめっきを施すことができ、ワークの衝突、接触による損傷を防止、減少でき、またバレルごとに収容するワークを定め、選択できる。さらに、以上の構成は、回転機構が、複数のバレルを各バレルの中心ではなく、回転機構の回転の中心の回転軸の周りを公転回転させる。したがって、バレルは、回転軸を中心とする円軌道で公転回転し、1回転のバレルの移動軌道距離(公転軌道)を長くでき、また複数のバレルの相対的位置と姿勢が変化しながら回転運動させることができ、公転によりバレルが移動することで通液開口からのめっき液の流入出を促進し易くでき、また公転によりめっき液を撹拌でき、各バレルへのめっき液の流入出を促進し、金属イオン濃度の低下、バラツキを抑制、防止でき、めっき膜厚の均一化、めっき時間の短縮化を実現でき、めっきの効率性、生産性、めっき品質を向上できる。回転軸は、複数のバレルが公転回転する回転の中心であり、軸部材を有するか否かを問わない。
(【0011】以降は省略されています)
この特許をJ-PlatPat(特許庁公式サイト)で参照する
関連特許
睦技研株式会社
バレルめっき装置
1日前
睦技研株式会社
バレルめっき装置
3か月前
株式会社堤水素研究所
水電解装置
1か月前
株式会社神戸製鋼所
接点材料
29日前
株式会社ケミカル山本
電解研磨装置用電極
1か月前
本田技研工業株式会社
差圧式電解装置
1か月前
本田技研工業株式会社
水電解スタック
2か月前
一般財団法人電力中央研究所
電解反応装置
2か月前
東レ株式会社
液体電解用多孔質輸送層およびその製造方法
29日前
株式会社荏原製作所
蒸気発電プラント
1か月前
本田技研工業株式会社
CO2電解装置
2か月前
SECカーボン株式会社
カソードアセンブリ
2か月前
メルテックス株式会社
極薄電解銅箔及びその製造方法
1か月前
古河電気工業株式会社
端子
1か月前
株式会社デンソー
電解装置
1か月前
旭化成株式会社
電解装置の運転方法
1か月前
睦技研株式会社
バレルめっき装置
1日前
三菱マテリアル株式会社
皮膜付端子材及びその製造方法
1か月前
大阪瓦斯株式会社
共電解メタネーション装置
1か月前
本田技研工業株式会社
膜電極構造体の製造方法
1か月前
大阪瓦斯株式会社
共電解メタネーション装置
1か月前
三菱重工業株式会社
皮膜形成装置
1か月前
株式会社トクヤマ
電解槽ユニット
1日前
株式会社トクヤマ
電解槽ユニット
1日前
JX金属株式会社
電着金属の搬送システム及び搬送方法
1か月前
株式会社フジタ
水電解装置
1か月前
本田技研工業株式会社
電気化学式水素昇圧システム
1か月前
日本特殊陶業株式会社
ホットモジュール
1か月前
日本特殊陶業株式会社
ホットモジュール
1か月前
株式会社ホクトウ
バレルメッキ装置用リード線のリサイクル方法
1か月前
株式会社アイシン
電解システム
1か月前
日本碍子株式会社
電気化学セル
1か月前
三菱マテリアル株式会社
めっき皮膜付銅端子材及びその製造方法
2か月前
トヨタ自動車株式会社
水電解システム
29日前
株式会社アイシン
電解システム
1か月前
株式会社デンソー
電気化学反応装置
10日前
続きを見る
他の特許を見る