TOP
|
特許
|
意匠
|
商標
特許ウォッチ
Twitter
他の特許を見る
公開番号
2025145843
公報種別
公開特許公報(A)
公開日
2025-10-03
出願番号
2024046299
出願日
2024-03-22
発明の名称
めっき皮膜付銅端子材及びその製造方法
出願人
三菱マテリアル株式会社
代理人
個人
主分類
C25D
7/00 20060101AFI20250926BHJP(電気分解または電気泳動方法;そのための装置)
要約
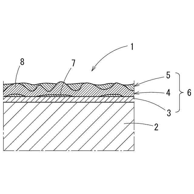
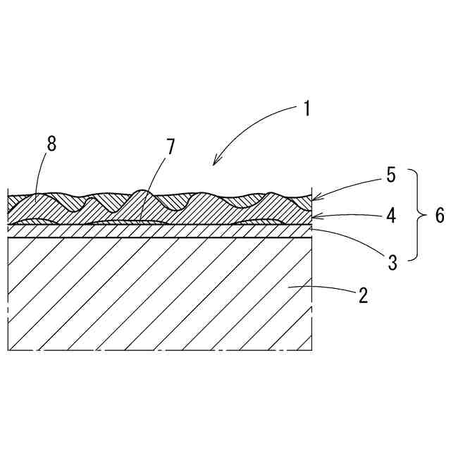
【課題】コネクタとして使用した際に主に凝着の発生を防止することにより、挿抜力を安定的に低減しためっき皮膜付銅端子材を提供する。
【解決手段】銅又は銅合金からなる基材の上にニッケル又はニッケル合金からなるニッケル層、銅錫合金層、錫又は錫合金からなる錫層がこの順で積層されてなる皮膜が形成されるとともに、銅錫合金層は、Cu
6
Sn
5
合金層を主成分とし、Cu
6
Sn
5
合金層は、その銅の一部がニッケルに置換した化合物を有する合金層であり、一部が錫層の表面に露出しており、錫層の表面に露出する銅錫合金層の露出面積率が1%以上60%以下であり、錫層は、0.2μm以上1.2μm以下の平均厚さを有し、ニッケル層は、その平均厚さが0.05μm以上2.0μm以下であり、皮膜の表面における山頂点の算術平均曲がりSpcが70mm
―1
を超え200mm
―1
以下で、かつ10視野測定時のSpcの標準偏差/平均値が30%以内である。
【選択図】 図1
特許請求の範囲
【請求項1】
銅又は銅合金からなる基材の上にニッケル又はニッケル合金からなるニッケル層、銅と錫との合金からなる銅錫合金層、錫又は錫合金からなる錫層がこの順で積層されてなる皮膜が形成されるとともに、前記銅錫合金層は、Cu
6
Sn
5
合金層を主成分とし、前記Cu
6
Sn
5
合金層は、その銅の一部がニッケルに置換した化合物を有する合金層であり、一部が前記錫層の表面に露出しており、前記錫層の表面に露出する前記銅錫合金層の露出面積率が1%以上60%以下であり、前記錫層は、0.2μm以上1.2μm以下の平均厚さを有し、前記ニッケル層は、その平均厚さが0.05μm以上2.0μm以下であり、前記皮膜の表面における山頂点の算術平均曲がりSpcが70mm
―1
を超え200mm
―1
以下で、かつ10視野測定時の前記Spcの標準偏差/平均値が30%以内であることを特徴とするめっき皮膜付銅端子材。
続きを表示(約 940 文字)
【請求項2】
前記Cu
6
Sn
5
合金層中にニッケルが0.1at%以上25at%以下含有されていることを特徴とする請求項1記載のめっき皮膜付銅端子材。
【請求項3】
前記銅錫合金層は、前記ニッケル層の少なくとも一部の上に配置されるCu
3
Sn合金層と、該Cu
3
Sn合金層又は前記ニッケル層の少なくともいずれかの上に配置される前記Cu
6
Sn
5
合金層とからなり、かつ、前記Cu
6
Sn
5
合金層に対するCu
3
Sn合金層の体積比率が20%以下であることを特徴とする請求項1又は2記載のめっき皮膜付銅端子材。
【請求項4】
銅又は銅合金からなる基材の上に皮膜が形成されためっき皮膜付銅端子材を製造する方法であって、前記基材の上に、ニッケル又はニッケル合金からなるニッケルめっき層、銅又は銅合金からなる銅めっき層、錫又は錫合金からなる錫めっき層を順に形成してなるめっき材を形成するめっき工程と、前記めっき材を加熱してリフロー処理するリフロー工程とを有し、前記ニッケルめっき層の厚さを0.05μm以上2.0μm以下とし、前記銅めっき層の厚さを0.05μm以上0.40μm以下とし、前記錫めっき層の厚さを0.5μm以上1.5μm以下とし、前記リフロー工程は、前記めっき材を20℃/秒以上75℃/秒以下の昇温速度で240℃以上まで加熱する一次加熱工程と、該一次加熱工程の後に、240℃以上300℃以下の温度で1秒以上15秒以下の時間加熱する二次加熱工程と、該二次加熱工程の後に、炉内温度が20℃以上70℃以下の冷却炉を通板して前記めっき材の材料到達温度を150℃以上220℃以下とする一次冷却工程と、該一次冷却後に100℃/秒以上300℃/秒以下の冷却速度で冷却する二次冷却工程とを有し、前記一次冷却工程では前記めっき材の表面に冷却風を10m
3
/分以上300m
3
/分以下の風量で吹き付けることを特徴とするめっき皮膜付銅端子材の製造方法。
発明の詳細な説明
【技術分野】
【0001】
本発明は、自動車や民生機器等の電気配線の接続に使用されるコネクタ用端子、特に多ピンコネクタ用の端子として有用なめっき皮膜付銅端子材及びその製造方法に関する。
続きを表示(約 2,200 文字)
【背景技術】
【0002】
被膜付銅端子材として、銅合金からなる基材の上に銅(Cu)めっき層及び錫(Sn)めっき層を形成した後に、ウイスカの発生を抑制するためリフロー処理することにより、表層の錫層の下層に銅錫(CuSn)合金層が形成されたものがあり、接続信頼性が高く、安価に製造できるため、端子材として広く用いられている。
【0003】
例えば、特許文献1には、Cu合金板条からなる母材の表面に、Cu
6
Sn
5
相を主体とするCu-Sn合金被覆層と、Sn被覆層がこの順に形成された導電材料が開示されている。この導電材料は、母材表面を、少なくとも一方向の算術平均粗さRaが0.15μm以上かつ全ての方向の算術平均粗さRaが4.0μm以下の表面粗さに粗面化し、その母材表面にCuめっき層及びSnめっき層を順に形成した後、リフロー処理することにより製造される。
【0004】
また、特許文献2には、銅または銅合金からなる基材上の下地層の表面に、多数のCu-Sn系合金の結晶粒からなるCu-Sn系合金層と、最表面において隣接するCu-Sn系合金の結晶粒間の凹部内のSn層とからなる最表層が形成されたSnめっき材が開示されており、最表面においてSn層16が占める面積率が20~80%であり、Sn層16の最大厚さがCu-Sn系合金の結晶粒の平均粒径より小さくなっていると記載されている。
【0005】
しかしながら、錫層(Sn層)は軟らかいことから、接点同士で凝着が起こりやすく、また、接点同士の接触面積が大きくなることでコネクタ挿入時の摩擦力が過大になり、特に多ピン端子などで挿入が困難になるという問題がある。
【0006】
特許文献3には、導電性基体上にNiなどの下地層が設けられ、その上に銅または銅合金の中間層が設けられ、その上にCu-Sn金属間化合物からなる最外層が設けられためっき材料が開示されており、最外層が硬質のCu-Sn金属間化合物層からなるため、端子間の接触圧力を小さくしても、フレッティング現象が起き難いと記載されている。
しかし、最外層がCu-Sn金属間化合物層では、高温時に銅(Cu)が拡散して表面に銅の酸化物が形成され易くなる。
【先行技術文献】
【特許文献】
【0007】
特開2006-077307号公報
特開2015-180770号公報
特開2007-247060号公報
【発明の概要】
【発明が解決しようとする課題】
【0008】
本発明は、このような事情に鑑みてなされたものであって、コネクタとして使用した際に主に凝着の発生を防止することにより、挿抜力を安定的に低減しためっき皮膜付銅端子材の提供を目的とする。
【課題を解決するための手段】
【0009】
本発明のめっき皮膜付銅端子材は、銅又は銅合金からなる基材の上にニッケル又はニッケル合金からなるニッケル層、銅と錫との合金からなる銅錫合金層、錫又は錫合金からなる錫層がこの順で積層されてなる皮膜が形成されるとともに、前記銅錫合金層は、Cu
6
Sn
5
合金層を主成分とし、前記Cu
6
Sn
5
合金層は、その銅の一部がニッケルに置換した化合物を有する合金層であり、一部が前記錫層の表面に露出しており、前記錫層の表面に露出する前記銅錫合金層の露出面積率が1%以上60%以下であり、前記錫層は、0.2μm以上1.2μm以下の平均厚さを有し、前記ニッケル層は、その平均厚さが0.05μm以上2.0μm以下であり、前記皮膜の表面における山頂点の算術平均曲がりSpcが70mm
―1
を超え200mm
―1
以下で、かつ10視野測定時の前記Spcの標準偏差/平均値が30%以内である。
【0010】
このめっき皮膜付銅端子材は、表面が錫層からなるため、錫層本来の良好な電気特性を有している。この錫層の平均厚さは0.2μm未満であると、高温時にCuが拡散して表面にCuの酸化物が形成され易くなることから接触抵抗が増加するおそれがあり、1.2μmを超えると、柔軟な錫層によりコネクタとしての使用時の挿抜力が増大し、コネクタの多ピン化に伴う挿抜力の低減を図り難い。
銅錫合金層は、Cu
6
Sn
5
合金層を主成分とし、Cu
6
Sn
5
合金層は、その銅の一部がニッケルに置換した化合物である(Cu,Ni)
6
Sn
5
合金が存在することにより、錫層との界面を急峻な凹凸形状とすることができる。
また、皮膜表面における山頂点の算術平均曲がりSpcが70mm
―1
を超え200mm
―1
以下としたことにより、動摩擦係数を低減でき、かつ10視野測定時のSpcの標準偏差/平均値が30%以内としたことにより、その動摩擦係数が安定し、局部的に変動することも抑制される。
(【0011】以降は省略されています)
この特許をJ-PlatPat(特許庁公式サイト)で参照する
関連特許
三菱マテリアル株式会社
硫化物固体電解質
10日前
三菱マテリアル株式会社
プラズマ処理装置用シリコン電極板とその製造方法
4日前
三菱マテリアル株式会社
プラズマエッチャー用電極板の梱包体及びプラズマエッチャー用電極板の梱包体の梱包方法
3日前
三菱マテリアル株式会社
負極材料、リチウムイオン二次電池、負極材料の製造方法、及びリチウムイオン二次電池の製造方法
3日前
株式会社堤水素研究所
水電解装置
1か月前
株式会社神戸製鋼所
接点材料
1か月前
株式会社ケミカル山本
電解研磨装置用電極
1か月前
本田技研工業株式会社
差圧式電解装置
1か月前
一般財団法人電力中央研究所
電解反応装置
2か月前
本田技研工業株式会社
水電解スタック
2か月前
東レ株式会社
液体電解用多孔質輸送層およびその製造方法
1か月前
SECカーボン株式会社
カソードアセンブリ
2か月前
本田技研工業株式会社
CO2電解装置
2か月前
株式会社荏原製作所
蒸気発電プラント
1か月前
古河電気工業株式会社
端子
2か月前
メルテックス株式会社
極薄電解銅箔及びその製造方法
1か月前
株式会社豊田中央研究所
電極
2か月前
三菱マテリアル株式会社
皮膜付端子材及びその製造方法
2か月前
株式会社デンソー
電解装置
1か月前
旭化成株式会社
電解装置の運転方法
1か月前
睦技研株式会社
バレルめっき装置
3日前
大阪瓦斯株式会社
共電解メタネーション装置
1か月前
大阪瓦斯株式会社
共電解メタネーション装置
1か月前
本田技研工業株式会社
膜電極構造体の製造方法
2か月前
株式会社トクヤマ
電解槽ユニット
3日前
株式会社トクヤマ
電解槽ユニット
3日前
三菱重工業株式会社
皮膜形成装置
1か月前
本田技研工業株式会社
電気化学式水素昇圧システム
1か月前
株式会社フジタ
水電解装置
1か月前
本田技研工業株式会社
電気化学式水素昇圧システム
2か月前
JX金属株式会社
電着金属の搬送システム及び搬送方法
1か月前
日本碍子株式会社
電気化学セル
1か月前
株式会社ホクトウ
バレルメッキ装置用リード線のリサイクル方法
1か月前
株式会社アイシン
電解システム
2か月前
株式会社アイシン
電解システム
2か月前
日本特殊陶業株式会社
ホットモジュール
2か月前
続きを見る
他の特許を見る