TOP
|
特許
|
意匠
|
商標
特許ウォッチ
Twitter
他の特許を見る
公開番号
2025167582
公報種別
公開特許公報(A)
公開日
2025-11-07
出願番号
2024072355
出願日
2024-04-26
発明の名称
水電解システム
出願人
トヨタ自動車株式会社
代理人
弁理士法人明成国際特許事務所
主分類
C25B
9/00 20210101AFI20251030BHJP(電気分解または電気泳動方法;そのための装置)
要約
【課題】水電解システムにおいて、酸素および水素の生成量や生成効率が低下することを抑制できる技術を提供する。
【解決手段】水の電気分解により水素と酸素とを生成する水電解システムは、アノードと、カソードと、前記アノードと前記カソードとに挟持された電解質膜と、を備える水電解セルと、前記水電解セルに供給する電力を制御する制御装置と、を備え、前記制御装置は、前記水電解システムの起動時と連続運転時との少なくとも一方において、前記アノードの電位を変動させる電位変動処理を実行し、前記電位変動処理は、前記アノードの前記電位を予め定められた電位に低下させる電位低下処理を含む。
【選択図】図5
特許請求の範囲
【請求項1】
水の電気分解により水素と酸素とを生成する水電解システムであって、
アノードと、カソードと、前記アノードと前記カソードとに挟持された電解質膜と、を備える水電解セルと、
前記水電解セルに供給する電力を制御する制御装置と、を備え、
前記制御装置は、前記水電解システムの起動時と連続運転時との少なくとも一方において、前記アノードの電位を変動させる電位変動処理を実行し、
前記電位変動処理は、前記アノードの前記電位を予め定められた電位に低下させる電位低下処理を含む、水電解システム。
続きを表示(約 410 文字)
【請求項2】
請求項1に記載の水電解システムであって、
前記制御装置は、前記電位変動処理を1回以上30回以下実行する、水電解システム。
【請求項3】
請求項1に記載の水電解システムであって、
前記制御装置は、前記水電解セルへの前記電力の供給を停止した後に、前記カソードにおいて生成された前記水素を、前記電解質膜を透過させて、前記カソードから前記アノードに移動させることで、前記電位低下処理を実行する、水電解システム。
【請求項4】
請求項1に記載の水電解システムであって、
前記制御装置は、前記水電解セルに前記電力を供給するときの電流値と電圧値との少なくとも一方を制御することで、前記電位変動処理を実行する、水電解システム。
【請求項5】
請求項1に記載の水電解システムであって、
前記電解質膜の厚さは、25μm以下である、水電解システム。
発明の詳細な説明
【技術分野】
【0001】
本開示は、水電解システムに関する。
続きを表示(約 2,700 文字)
【背景技術】
【0002】
従来、水を電気分解して、アノードに酸素を発生させ、カソードに水素を発生させることで、酸素および水素を製造する水電解システムが知られている(特許文献1)。この水電解システムは、アノードとカソードとでイオン交換膜を挟持した膜電極構造体を有する複数のセルを積層した水電解スタックを備える。アノードとカソードとはそれぞれ、触媒層と給電体とを有する。
【先行技術文献】
【特許文献】
【0003】
特開2023-128165号公報
【発明の概要】
【発明が解決しようとする課題】
【0004】
水電解システムの起動時および連続運転時には、水電解システム内を流通する水や水電解システム系内において生成される不純物により、セルが被毒して、触媒活性が低下したり、電解質膜(イオン交換膜)が劣化したりする場合がある。セルが被毒した場合、酸素および水素の生成量や生成効率が低下する虞がある。
【課題を解決するための手段】
【0005】
本開示は、以下の形態として実現することが可能である。
【0006】
(1)本開示の位置形態によれば、水電解システムが提供される。水の電気分解により水素と酸素とを生成する水電解システムは、アノードと、カソードと、前記アノードと前記カソードとに挟持された電解質膜と、を備える水電解セルと、前記水電解セルに供給する電力を制御する制御装置と、を備え、前記制御装置は、前記水電解システムの起動時と連続運転時との少なくとも一方において、前記アノードの電位を変動させる電位変動処理を実行し、前記電位変動処理は、前記アノードの前記電位を予め定められた電位に低下させる電位低下処理を含む。この形態によれば、水電解セルが被毒する虞のある水電解システムの起動時と連続運転時との少なくとも一方において、制御装置は、電位変動処理を実行することで、水電解セルの電解性能を回復させることができる。これにより、水電解システムにおいて、酸素および水素の生成量や生成効率が低下することを抑制できる。
(2)上記形態であって、前記制御装置は、前記電位変動処理を1回以上30回以下実行してもよい。この形態によれば、制御装置は、電位変動処理を1回以上30回以下実行することで、水電解セルの電解性能を回復させることができる。
(3)上記形態であって、前記制御装置は、前記水電解セルへの前記電力の供給を停止した後に、前記カソードにおいて生成された前記水素を、前記電解質膜を透過させて、前記カソードから前記アノードに移動させることで、前記電位低下処理を実行してもよい。この形態によれば、制御装置は、水電解セルへの電力の供給を停止した後に、カソードにおいて生成された水素を、電解質膜を透過させて、カソードからアノードに移動させることで、電位低下処理を実行できる。
(4)上記形態であって、前記制御装置は、前記水電解セルに前記電力を供給するときの電流値と電圧値との少なくとも一方を制御することで、前記電位変動処理を実行してもよい。この形態によれば、制御装置は、水電解セルに電力を供給するときの電流値と電圧値との少なくとも一方を制御することで、電位変動処理を実行できる。
(5)上記形態であって、前記電解質膜の厚さは、25μm以下であってもよい。この形態によれば、電解質膜の厚さが25μm以下の場合に、制御装置は、水電解セルの電解性能を回復させることができる。
本開示は、上記の水電解システム以外の種々の形態で実現することが可能である。例えば、水電解システムの製造方法、水電解システムを用いた水電解方法、水電解システムの制御方法、その制御方法を実現するコンピュータプログラム、そのコンピュータプログラムを記録した一時的でない記録媒体等の形態で実現することができる。
【図面の簡単な説明】
【0007】
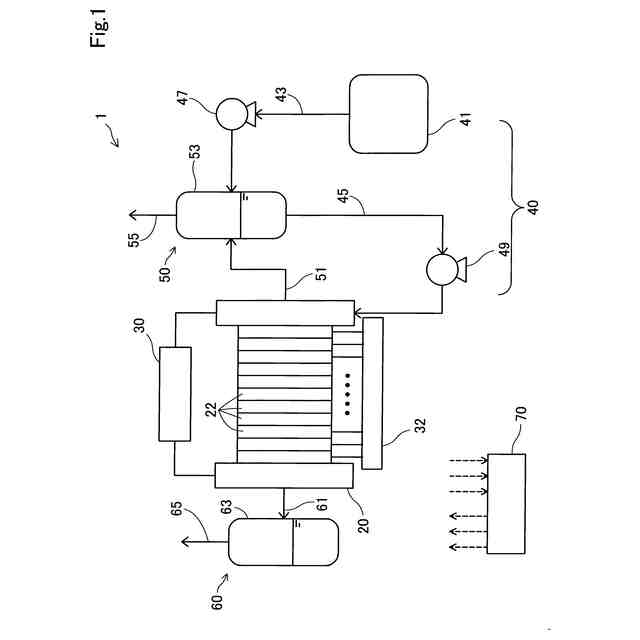
水電解システムの構成を示す図。
水電解セルの構成を示す断面模式図。
電位変動処理の詳細を説明するための図。
電位変動処理における各種条件の検討結果を示す表。
電流密度の推移を電位変動処理の実行回数ごとに示すグラフ。
電解質膜の厚さと電位低下処理の所要時間との関係を示す図。
【発明を実施するための形態】
【0008】
A.第1実施形態:
図1は、水電解システム1の構成を示す図である。水電解システム1は、水の電気分解により水素と酸素を生成する。水電解システム1は、複数の水電解セル22を積層したセルスタック20と、電源30と、セルモニタ32と、水供給部40と、酸素排出部50と、水素排出部60と、制御装置70とを備える。
【0009】
図2は、水電解セル22の構成を示す断面模式図である。水電解セル22は、電解質膜80と、アノード81と、カソード82と、アノード側セパレータ85と、カソード側セパレータ86と、アノード側流路87と、カソード側流路88とを備える。
【0010】
電解質膜80は、アノード81とカソード82とに挟持される。電解質膜80は、イオン交換基を有するポリマによって構成される膜である。電解質膜80は、イオン交換基として、例えば、スルホン酸基と、リン酸基と、4級アンモニウム基と、の少なくともいずれかを有してもよい。電解質膜80は、アニオン交換膜であってもよく、カチオン交換膜であってもよい。電解質膜80は、例えば、パーフルオロカーボンスルホン酸ポリマによって構成される膜であってもよく、ポリエーテルエーテルケトンとポリベンズイミダゾールとのいずれか一方を主成分とするポリマによって構成される膜であってもよい。電解質膜80には、イリジウム、白金、セリウム、マンガン等の金属やカチオンが複合化されていてもよい。電解質膜80に金属が複合化されている場合において、電解質膜80に含有される金属量は、5μg/cm
2
以下であってもよく、3μg/cm
2
以下であってもよい。電解質膜80に含有される金属は、メタルであってもよく、酸化物であってもよく、イオンの状態であってもよい。本実施形態では、電解質膜80は、プロトン(水素イオン)交換膜である。
(【0011】以降は省略されています)
この特許をJ-PlatPat(特許庁公式サイト)で参照する
関連特許
株式会社堤水素研究所
水電解装置
1か月前
株式会社神戸製鋼所
接点材料
1か月前
株式会社カネカ
可撓性ガス拡散電極
2か月前
株式会社ケミカル山本
電解研磨装置用電極
1か月前
本田技研工業株式会社
差圧式電解装置
1か月前
本田技研工業株式会社
水電解スタック
2か月前
一般財団法人電力中央研究所
電解反応装置
2か月前
東レ株式会社
液体電解用多孔質輸送層およびその製造方法
1か月前
株式会社荏原製作所
蒸気発電プラント
1か月前
本田技研工業株式会社
CO2電解装置
2か月前
SECカーボン株式会社
カソードアセンブリ
2か月前
メルテックス株式会社
極薄電解銅箔及びその製造方法
1か月前
古河電気工業株式会社
端子
1か月前
三菱マテリアル株式会社
皮膜付端子材及びその製造方法
1か月前
株式会社豊田中央研究所
電極
2か月前
旭化成株式会社
電解装置の運転方法
1か月前
睦技研株式会社
バレルめっき装置
2日前
株式会社デンソー
電解装置
1か月前
NOK株式会社
セルユニット
2か月前
本田技研工業株式会社
膜電極構造体の製造方法
1か月前
大阪瓦斯株式会社
共電解メタネーション装置
1か月前
大阪瓦斯株式会社
共電解メタネーション装置
1か月前
三菱重工業株式会社
皮膜形成装置
1か月前
株式会社トクヤマ
電解槽ユニット
2日前
株式会社トクヤマ
電解槽ユニット
2日前
本田技研工業株式会社
電気化学式水素昇圧システム
2か月前
JX金属株式会社
電着金属の搬送システム及び搬送方法
1か月前
株式会社フジタ
水電解装置
1か月前
本田技研工業株式会社
電気化学式水素昇圧システム
1か月前
トヨタ自動車株式会社
水電解システム
1か月前
株式会社デンソー
セル制御システム
1か月前
日本特殊陶業株式会社
ホットモジュール
1か月前
三菱マテリアル株式会社
めっき皮膜付銅端子材及びその製造方法
2か月前
日本特殊陶業株式会社
ホットモジュール
1か月前
日本碍子株式会社
電気化学セル
1か月前
株式会社デンソー
電気化学反応装置
11日前
続きを見る
他の特許を見る