TOP
|
特許
|
意匠
|
商標
特許ウォッチ
Twitter
他の特許を見る
10個以上の画像は省略されています。
公開番号
2025161368
公報種別
公開特許公報(A)
公開日
2025-10-24
出願番号
2024064494
出願日
2024-04-12
発明の名称
共電解メタネーション装置
出願人
大阪瓦斯株式会社
代理人
弁理士法人R&C
主分類
C25B
15/08 20060101AFI20251017BHJP(電気分解または電気泳動方法;そのための装置)
要約
【課題】メタン純度を維持し、プロセス出口ガスの単位体積当たりの熱量を高位に保つ共電解メタネーション装置の提供。
【解決手段】水蒸気と二酸化炭素を電解する共電解部と、水蒸気と二酸化炭素の流量を制御する流量制御手段と、メタン合成部と、を備える共電解メタネーション装置であって、電解電圧制御手段と、電解電流計測手段と、ガス利用率算出手段と、をさらに備え、流量制御手段は共電解部に第1制御流量値として水蒸気と二酸化炭素を供給し、電解電流計測手段は第1実績電解電流値として電流値を計測し、ガス利用率算出手段は第1制御流量値として供給した水蒸気と二酸化炭素の全量が水素と一酸化炭素に電解される場合の電解電流値を第1理論電解電流値として算出し、第1理論電解電流値に対する第1実績電解電流値の割合を第1実績ガス利用率とし、流量制御手段は第1実績ガス利用率に基づき水蒸気と二酸化炭素の流量を第2制御流量値として制御する。
【選択図】図1
特許請求の範囲
【請求項1】
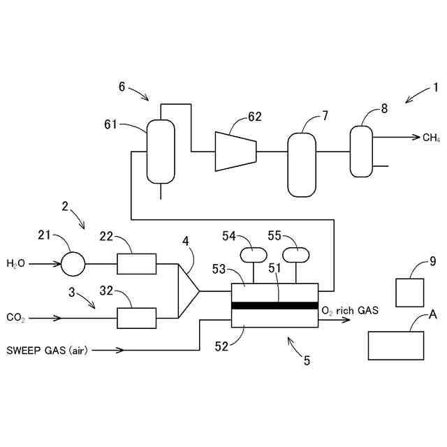
水蒸気及び二酸化炭素を電気分解して水素、一酸化炭素、水蒸気及び二酸化炭素を含む合成ガスを生成する共電解部と、
前記共電解部のカソード極に供給する前記水蒸気及び前記二酸化炭素の各流量を制御する流量制御手段と、
前記合成ガスを冷却して水を分離し、圧縮する水分離・圧縮部と、
水が分離された合成ガスをメタン化触媒に通じてメタネーションを行うメタン合成部と、
前記メタン合成部より送出されるガスからメタンを分離する分離部と、
を備える共電解メタネーション装置であって、
前記共電解部に電解電力を供給する電解電圧制御手段と、
電解電流を計測する電解電流計測手段と、
ガス利用率算出手段と、が備えられており、
前記流量制御手段は、前記共電解部に前記水蒸気及び前記二酸化炭素の各流量を第1制御流量値として供給して安定化させ、
前記電解電流計測手段は、前記電解電流の安定化時における電流値を第1実績電解電流値として計測し、
前記ガス利用率算出手段は、前記第1制御流量値に基づいて供給した前記水蒸気及び前記二酸化炭素の全量が水素と一酸化炭素に電解される場合に相当する電解電流値を、第1理論電解電流値として算出し、当該第1理論電解電流値に対する前記第1実績電解電流値の割合を第1実績ガス利用率(αr1)として算出し、当該第1実績ガス利用率(αr1)に基づいて、前記水蒸気及び前記二酸化炭素の各流量を第2制御流量値として算出し、
前記流量制御手段は、前記第2制御流量値に基づいて前記水蒸気と前記二酸化炭素の各流量を制御する、共電解メタネーション装置。
続きを表示(約 1,200 文字)
【請求項2】
前記第1制御流量値は、第1目標ガス利用率によって前記水蒸気と前記二酸化炭素の流量比が決定される、請求項1に記載の共電解メタネーション装置。
【請求項3】
前記第2制御流量値は、前記水蒸気と前記二酸化炭素の合計流量、前記水蒸気と前記二酸化炭素の流量比のうち少なくとも1つ以上が、前記第1制御流量値から変更して決定される、請求項2に記載の共電解メタネーション装置。
【請求項4】
前記水蒸気と前記二酸化炭素の流量比は、供給ガス利用率(α)をもとに以下の(1)式により算出される、請求項3に記載の共電解メタネーション装置。
400/供給ガス利用率(%)-1・・・(1)
【請求項5】
前記ガス利用率算出手段は、前記第1実績ガス利用率(αr1)と前記第1目標ガス利用率とを対比し、これが一致しない場合、前記第1制御流量値の決定に用いた前記第1目標ガス利用率となるように前記第2制御流量値を変更する、請求項3に記載の共電解メタネーション装置。
【請求項6】
前記ガス利用率算出手段は、前記第1実績ガス利用率(αr1)と前記第1目標ガス利用率とが一致しない場合、前記第1実績ガス利用率(αr1)となるように前記第2制御流量値を変更する、請求項3に記載の共電解メタネーション装置。
【請求項7】
前記ガス利用率算出手段は、前記第1実績ガス利用率(αr1)と前記第1目標ガス利用率とが一致しない場合、前記第1実績ガス利用率(αr1)及び前記供給ガス利用率(α)以外の任意の目標ガス利用率となるように前記第2制御流量値を変更する、請求項4に記載の共電解メタネーション装置。
【請求項8】
前記ガス利用率算出手段は、前記二酸化炭素の供給流量を前記共電解部の劣化に応じて変更し、前記水蒸気の供給流量を前記共電解部の劣化に応じて前記第1制御流量値から変更しない、請求項4に記載の共電解メタネーション装置。
【請求項9】
前記流量制御手段は、前記第2制御流量値に基づいて前記水蒸気及び前記二酸化炭素の各流量を供給して安定化させ、
前記電解電流計測手段は、安定化時における電流値を第2実績電解電流値として計測し、
前記ガス利用率算出手段は、前記第2制御流量値に基づいて供給した前記水蒸気及び前記二酸化炭素の全量が水素と一酸化炭素に電解される場合に相当する電解電流値を、第2理論電解電流値として算出し、当該第2理論電解電流値に対する前記第2実績電解電流値の割合を第2実績ガス利用率(αr2)として算出し、当該第2実績ガス利用率(αr2)に基づいて、前記水蒸気及び前記二酸化炭素の各流量を第3制御流量値として算出し、
前記流量制御手段は、前記第3制御流量値に基づいて前記水蒸気と前記二酸化炭素の各流量を制御する、請求項1~8のいずれか1項に記載の共電解メタネーション装置。
発明の詳細な説明
【技術分野】
【0001】
本発明は、SOEC共電解メタネーション装置に関する。
続きを表示(約 2,200 文字)
【背景技術】
【0002】
固体酸化物形電解セル(Solid Oxide Electrolysis Cell:SOEC)により、原料となる二酸化炭素と水蒸気を共電解して一酸化炭素と水素を生成し、後段に設けたメタネーション装置で一酸化炭素と水素からメタンを製造する方法が知られている。
【0003】
共電解のカソード極では、原料である二酸化炭素と水蒸気を完全に一酸化炭素と水素に変換する(利用率100%)ことは困難であり、カソード極では、一酸化炭素と水素の他、電解されなかった二酸化炭素と水蒸気も混合している。水蒸気はメタネーション前段に設けた気液分離器で水として除去される。メタネーション装置にてメタンを生成する共電解メタネーション装置においては、共電解部のカソード部に供給する二酸化炭素と水蒸気の流量が最適かつ精密に制御されないと、メタネーション出口のガス組成において、メタン以外の二酸化炭素や水素の濃度が増加し、メタン純度が低下するという問題があった。
【0004】
また、プラントの寿命として求められる数年レベルの長期運転においては、SOECセルスタックの基本性能の変化によって、目標とするメタン純度が維持できなくなることが起こりうる。
【0005】
これらの問題を解決するために、特許文献1のような方法が提案されている。特許文献1は、二酸化炭素と水素からメタネーションを行う場合の、メタン生成に用いられる生成ガスの品質確保を目的としたものであり、メタン製造装置において、第一、及び第二の反応器を備え、第一反応器への供給ガス中のCO/H
2
のガスを計測し、追加の水素供給を行うとされている。
【先行技術文献】
【特許文献】
【0006】
特開2020-158403号公報
【発明の概要】
【発明が解決しようとする課題】
【0007】
共電解メタネーション装置は、量論比となる一酸化炭素、水素、二酸化炭素が、最適比で供給されない場合には追加の原料供給部が必要となり、高コストな装置となる。共電解メタネーション装置では、電解時における、外気温や温度調節機構の変動による共電解スタックの動作温度の変化、あるいはセルスタックの経年劣化が生じた場合、セルスタックのI-V(電解電流-電解電圧)の変化が生じ、目標電圧値に到達する際の電解電流に変化が生じる。この場合、当初想定した合計供給ガス利用率(α)に到達できないこととなり、想定した一酸化炭素、水素の生成比が実現できないこととなり、結果としてメタン純度が低下するという問題があった。
【0008】
本発明は、上記の課題に鑑みてなされたものであり、その目的は、共電解のセルスタックの電解性能に変化を生じても、メタンの純度を維持し、プロセス出口ガスの単位体積当たりの熱量を高位に保つことができる共電解メタネーション装置を提供する点にある。
【課題を解決するための手段】
【0009】
上記目的を達成するための本発明に係る共電解メタネーション装置の特徴構成は、
水蒸気及び二酸化炭素を電気分解して水素、一酸化炭素、水蒸気及び二酸化炭素を含む合成ガスを生成する共電解部と、
前記共電解部のカソード極に供給する前記水蒸気及び前記二酸化炭素の各流量を制御する流量制御手段と、
前記合成ガスを冷却して水を分離し、圧縮する水分離・圧縮部と、
水が分離された合成ガスをメタン化触媒に通じてメタネーションを行うメタン合成部と、
前記メタン合成部より送出されるガスからメタンを分離する分離部と、
を備える共電解メタネーション装置であって、
前記共電解部に電解電力を供給する電解電圧制御手段と、
電解電流を計測する電解電流計測手段と、
ガス利用率算出手段と、が備えられており、
前記流量制御手段は、前記共電解部に前記水蒸気及び前記二酸化炭素の各流量を第1制御流量値として供給して安定化させ、
前記電解電流計測手段は、前記電解電流の安定化時における電流値を第1実績電解電流値として計測し、
前記ガス利用率算出手段は、前記第1制御流量値に基づいて供給した前記水蒸気及び前記二酸化炭素の全量が水素と一酸化炭素に電解される場合に相当する電解電流値を、第1理論電解電流値として算出し、当該第1理論電解電流値に対する前記第1実績電解電流値の割合を第1実績ガス利用率(αr1)として算出し、当該第1実績ガス利用率(αr1)に基づいて、前記水蒸気及び前記二酸化炭素の各流量を第2制御流量値として算出し、
前記流量制御手段は、前記第2制御流量値に基づいて前記水蒸気と前記二酸化炭素の各流量を制御する点にある。
【0010】
外気温や温度調節機構の変動による共電解部の動作温度の変化や共電解の経年劣化が生じた場合、電解電圧制御手段の目標電圧に到達する際の電解電流に変化が生じる。この場合、当初想定されていたガス利用率に到達できず、当初想定されていた水素と一酸化炭素の生成比が実現できないこととなり、出口ガスにおけるメタン純度が低下する。
(【0011】以降は省略されています)
この特許をJ-PlatPat(特許庁公式サイト)で参照する
関連特許
大阪瓦斯株式会社
燃料電池システム
19日前
大阪瓦斯株式会社
メタン生成システム
20日前
大阪瓦斯株式会社
二酸化炭素回収装置および二酸化炭素回収方法
19日前
大阪瓦斯株式会社
測定システム、処理装置、及びコンピュータプログラム
6日前
大阪瓦斯株式会社
バイオガス製造装置
4日前
株式会社堤水素研究所
水電解装置
1か月前
株式会社神戸製鋼所
接点材料
1か月前
本田技研工業株式会社
電解装置
今日
株式会社ケミカル山本
電解研磨装置用電極
1か月前
本田技研工業株式会社
差圧式電解装置
1か月前
東レ株式会社
液体電解用多孔質輸送層およびその製造方法
1か月前
メルテックス株式会社
極薄電解銅箔及びその製造方法
1か月前
株式会社デンソー
電解装置
1か月前
旭化成株式会社
電解装置の運転方法
1か月前
睦技研株式会社
バレルめっき装置
4日前
大阪瓦斯株式会社
共電解メタネーション装置
1か月前
大阪瓦斯株式会社
共電解メタネーション装置
1か月前
株式会社トクヤマ
電解槽ユニット
4日前
株式会社トクヤマ
電解槽ユニット
4日前
株式会社フジタ
水電解装置
1か月前
JX金属株式会社
電着金属の搬送システム及び搬送方法
1か月前
本田技研工業株式会社
電気化学式水素昇圧システム
1か月前
株式会社ホクトウ
バレルメッキ装置用リード線のリサイクル方法
1か月前
日本碍子株式会社
電気化学セル
1か月前
株式会社デンソー
電気化学反応装置
13日前
トヨタ自動車株式会社
水電解システム
1か月前
株式会社神鋼環境ソリューション
水電解装置
2か月前
株式会社神鋼環境ソリューション
水素発生装置
1か月前
株式会社神鋼環境ソリューション
水素発生装置
2か月前
トヨタ自動車株式会社
電解質膜の前処理方法
20日前
株式会社豊田中央研究所
水電解システムおよび水電解装置の制御方法
1か月前
日本特殊陶業株式会社
セルスタックシステム
1か月前
三菱重工業株式会社
電解セルカートリッジおよびその製造方法
1か月前
本田技研工業株式会社
電解システムの制御装置および電解システム
5日前
株式会社神鋼環境ソリューション
水素・酸素発生装置
6日前
旭化成株式会社
電解システムの制御方法及び電解システム
1か月前
続きを見る
他の特許を見る