TOP
|
特許
|
意匠
|
商標
特許ウォッチ
Twitter
他の特許を見る
公開番号
2025150608
公報種別
公開特許公報(A)
公開日
2025-10-09
出願番号
2024051596
出願日
2024-03-27
発明の名称
蓄電制御装置
出願人
大阪瓦斯株式会社
代理人
弁理士法人R&C
主分類
H02J
3/00 20060101AFI20251002BHJP(電力の発電,変換,配電)
要約
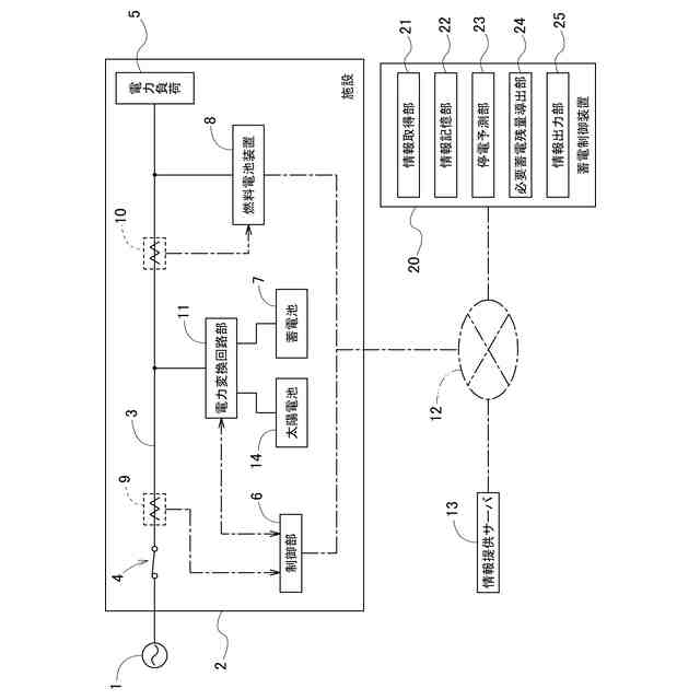
【課題】停電時に施設の電力負荷への十分な電力供給能力を蓄電池に持たせつつ、施設の受電点電力を増大させる能力も蓄電池に持たせることができる蓄電制御装置の提供。
【解決手段】電力系統1から電力の供給を受けることができる施設2に設けられる蓄電池7の動作を制御する蓄電制御装置20であって、施設2が設置されている場所での、電力系統1からの電力供給が停止する系統停電の発生可能性及び系統停電の予測発生日時を予測する停電予測部23と、予測発生日時の後の所定期間での、施設2に設けられる電力負荷5による予測負荷電力の時間的推移を予測し、予測負荷電力の時間的推移に基づいて予測発生日時の時点で蓄電池7が蓄えておくべき必要蓄電残量を導出する必要蓄電残量導出部24と、蓄電池7の蓄電残量が必要蓄電残量になるように、蓄電池7の動作を制御する制御部6への指示を出力する情報出力部25とを備える。
【選択図】図1
特許請求の範囲
【請求項1】
電力系統から電力の供給を受けることができる施設に設けられる蓄電池の動作を制御する蓄電制御装置であって、
前記施設が設置されている場所での、前記電力系統からの電力供給が停止する系統停電の発生可能性及び前記系統停電の予測発生日時を予測する停電予測部と、
前記予測発生日時の後の所定期間での、前記施設に設けられる電力負荷による予測負荷電力の時間的推移を予測し、前記予測負荷電力の時間的推移に基づいて前記予測発生日時の時点で前記蓄電池が蓄えておくべき必要蓄電残量を導出する必要蓄電残量導出部と、
前記蓄電池の蓄電残量が前記必要蓄電残量になるように、前記蓄電池の動作を制御する制御部への指示を出力する情報出力部とを備える蓄電制御装置。
続きを表示(約 740 文字)
【請求項2】
前記情報出力部は、前記蓄電池の蓄電残量が前記必要蓄電残量になった後、前記系統停電が発生するまで、又は、前記系統停電が発生しない場合には前記停電予測部が予測する前記系統停電の予測終了日時まで、前記蓄電池の蓄電残量が前記必要蓄電残量を維持するように、前記制御部への指示を出力する請求項1に記載の蓄電制御装置。
【請求項3】
前記施設には、燃料電池装置及び太陽電池の少なくとも一方を含む発電装置が設けられ、
前記必要蓄電残量導出部は、前記予測発生日時の後の前記所定期間での、前記電力負荷による前記予測負荷電力の時間的推移を予測し、前記発電装置による予測発電電力の時間的推移を予測し、前記予測負荷電力の時間的推移及び前記予測発電電力の時間的推移に基づいて前記予測発生日時の時点で前記蓄電池が蓄えておくべき前記必要蓄電残量を導出する請求項1に記載の蓄電制御装置。
【請求項4】
前記発電装置は、前記電力負荷の負荷電力を知ることができるように構成され、
前記必要蓄電残量導出部は、前記発電装置から取得した、前記電力負荷での過去の前記負荷電力の時間的推移に基づいて前記予測負荷電力の時間的推移を予測する請求項3に記載の蓄電制御装置。
【請求項5】
前記必要蓄電残量導出部は、前記施設が設置されている場所での予測日射量の時間的推移に基づいて前記太陽電池の前記予測発電電力の時間的推移を予測する請求項3に記載の蓄電制御装置。
【請求項6】
前記必要蓄電残量導出部は、前記電力負荷での過去の負荷電力の時間的推移に基づいて前記予測負荷電力の時間的推移を予測する請求項1~5の何れか一項に記載の蓄電制御装置。
発明の詳細な説明
【技術分野】
【0001】
本発明は、蓄電制御装置に関する。
続きを表示(約 2,100 文字)
【背景技術】
【0002】
特許文献1(特開2021-132506号公報)には、蓄電池を備えた住宅において、停電のリスクに備え、台風に伴う暴風雨域が住宅に到達する前に蓄電池を満充電状態(フル充電)とする充電制御方法が記載されている。それにより、実際に停電になったとしても、住宅に居住する住民は、通常に近い生活を営むことが可能となる。
【先行技術文献】
【特許文献】
【0003】
特開2021-132506号公報
【発明の概要】
【発明が解決しようとする課題】
【0004】
電力系統から電力を受電できる住戸や事業所などの施設に蓄電池を設けた場合、特許文献1のようにその施設の電力負荷で蓄電池の電力を消費する目的だけでなく、施設に設けた蓄電池を事業者の要請に応じて運用する目的で利用することもできる。例えば、施設が、一般送配電事業者、小売電気事業者、アグリゲーターなどから、施設の受電点での電力を調整することの要請を受けた場合、その要請に応じて受電点電力を調整するように充電又は放電するように蓄電池を運用することもできる。
【0005】
しかし、特許文献1に記載のように停電の発生に先立って蓄電池の蓄電残量を満充電状態にしてしまうと、それ以上は蓄電池で充電できない。そのため、蓄電池を満充電状態にした後、実際に停電が発生するまでの間に、例えば施設の受電点での電力を増大することの要請を受けたとしても、その要請に応じて蓄電池に充電することで受電点電力を増大させることはできない。
【0006】
本発明は、上記の課題に鑑みてなされたものであり、その目的は、停電時に施設の電力負荷への十分な電力供給能力を蓄電池に持たせつつ、施設の受電点電力を増大させる能力も蓄電池に持たせることができる蓄電制御装置を提供する点にある。
【課題を解決するための手段】
【0007】
上記目的を達成するための本発明に係る蓄電制御装置の特徴構成は、電力系統から電力の供給を受けることができる施設に設けられる蓄電池の動作を制御する蓄電制御装置であって、
前記施設が設置されている場所での、前記電力系統からの電力供給が停止する系統停電の発生可能性及び前記系統停電の予測発生日時を予測する停電予測部と、
前記予測発生日時の後の所定期間での、前記施設に設けられる電力負荷による予測負荷電力の時間的推移を予測し、前記予測負荷電力の時間的推移に基づいて前記予測発生日時の時点で前記蓄電池が蓄えておくべき必要蓄電残量を導出する必要蓄電残量導出部と、
前記蓄電池の蓄電残量が前記必要蓄電残量になるように、前記蓄電池の動作を制御する制御部への指示を出力する情報出力部とを備える点にある。
ここで、前記必要蓄電残量導出部は、前記電力負荷での過去の負荷電力の時間的推移に基づいて前記予測負荷電力の時間的推移を予測してもよい。
【0008】
上記特徴構成によれば、必要蓄電残量導出部は、予測発生日時の後の所定期間での、施設に設けられる電力負荷による予測負荷電力の時間的推移を予測し、予測負荷電力の時間的推移に基づいて、予測発生日時の時点で蓄電池が蓄えておくべき必要蓄電残量を導出する。そして、情報出力部は、蓄電池の蓄電残量が必要蓄電残量になるように、蓄電池の動作を制御する制御部への指示を出力する。それにより、蓄電池には系統停電が発生した後の所定期間に必要と考えられる分の電力量が蓄えられる。
また、蓄電池の蓄電残量を単に満充電状態にするような制御は行われないため、必要蓄電残量が満充電状態に満たない場合には、その必要蓄電残量の充電が行われて充電が停止された後も、蓄電池への充電を行う余力は残る。そのため、施設が、一般送配電事業者、小売電気事業者、アグリゲーターなどから、施設の受電点電力を増大させる要請を受けた場合には、その要請に応じて蓄電池で充電を行うこともできる。
従って、停電時に施設の電力負荷への十分な電力供給能力を蓄電池に持たせつつ、施設の受電点電力を増大させる能力も蓄電池に持たせることができる蓄電制御装置を提供できる。
【0009】
本発明に係る蓄電制御装置の別の特徴構成は、前記情報出力部は、前記蓄電池の蓄電残量が前記必要蓄電残量になった後、前記系統停電が発生するまで、又は、前記系統停電が発生しない場合には前記停電予測部が予測する前記系統停電の予測終了日時まで、前記蓄電池の蓄電残量が前記必要蓄電残量を維持するように、前記制御部への指示を出力する点にある。
【0010】
上記特徴構成によれば、施設の蓄電池の蓄電残量が、系統停電が発生するまで、又は、系統停電が発生しない場合には停電予測部が予測する系統停電の予測終了日時まで必要蓄電残量を維持することが期待される。
(【0011】以降は省略されています)
この特許をJ-PlatPat(特許庁公式サイト)で参照する
関連特許
大阪瓦斯株式会社
探査装置
24日前
大阪瓦斯株式会社
燃焼装置
25日前
大阪瓦斯株式会社
ガスコンロ
6日前
大阪瓦斯株式会社
撥水性塗料
23日前
大阪瓦斯株式会社
動作制御装置
24日前
大阪瓦斯株式会社
酸化物複合体
24日前
大阪瓦斯株式会社
高耐熱組成物
24日前
大阪瓦斯株式会社
蓄電制御装置
24日前
大阪瓦斯株式会社
管理システム
25日前
大阪瓦斯株式会社
警報システム
25日前
大阪瓦斯株式会社
警報システム
25日前
大阪瓦斯株式会社
音声出力装置
25日前
大阪瓦斯株式会社
ガラス複合体
26日前
大阪瓦斯株式会社
ガラス複合体
26日前
大阪瓦斯株式会社
制御システム
17日前
大阪瓦斯株式会社
音声出力システム
1か月前
大阪瓦斯株式会社
エンジンシステム
23日前
大阪瓦斯株式会社
燃料電池システム
26日前
大阪瓦斯株式会社
燃焼制御システム
1か月前
大阪瓦斯株式会社
熱電併給システム
1か月前
大阪瓦斯株式会社
異常診断システム
1か月前
大阪瓦斯株式会社
異常診断システム
1か月前
大阪瓦斯株式会社
バイオマス系樹脂
24日前
大阪瓦斯株式会社
燃料電池システム
1か月前
大阪瓦斯株式会社
メタン製造システム
1か月前
大阪瓦斯株式会社
二酸化炭素回収システム
23日前
大阪瓦斯株式会社
二酸化炭素回収システム
23日前
大阪瓦斯株式会社
平板型燃料電池スタック
10日前
大阪瓦斯株式会社
料理レシピ提案システム
19日前
大阪瓦斯株式会社
共電解メタネーション装置
9日前
大阪瓦斯株式会社
共電解メタネーション装置
9日前
大阪瓦斯株式会社
水分状態量可視化システム
24日前
大阪瓦斯株式会社
水素製造装置及びその運転方法
24日前
大阪瓦斯株式会社
チタニア被覆銀を含有する組成物
23日前
大阪瓦斯株式会社
ガス分離器及びメタン製造システム
1か月前
大阪瓦斯株式会社
ガス分離器及びメタン製造システム
1か月前
続きを見る
他の特許を見る