TOP
|
特許
|
意匠
|
商標
特許ウォッチ
Twitter
他の特許を見る
公開番号
2025138215
公報種別
公開特許公報(A)
公開日
2025-09-25
出願番号
2024037175
出願日
2024-03-11
発明の名称
蓄電池管理装置
出願人
大阪瓦斯株式会社
代理人
弁理士法人R&C
主分類
H02J
3/32 20060101AFI20250917BHJP(電力の発電,変換,配電)
要約
【課題】経済的な利益を大きくするための蓄電池の運用方法を見つけることができる蓄電池管理装置を提供する。
【解決手段】蓄電池管理装置20は、所定期間に第1放電制御を行った場合に受電点電力量を減少させたことへの報酬として得られると予測される第1予測報酬金額と、所定期間に第2放電制御を行った場合に受電点電力量を減少させたことへの報酬として得られると予測される第2予測報酬金額とを導出する報酬金額予測部22を備え、第1放電制御は、蓄電池11の放電可能電力量が電力負荷の負荷電力量より大きい場合に電力を逆潮流させるように蓄電池11から最大限放電させる制御であり、第2放電制御は、蓄電池11の放電可能電力量が電力負荷の負荷電力量より大きい場合に電力を逆潮流させないように蓄電池11から最大限放電させる制御である。
【選択図】図1
特許請求の範囲
【請求項1】
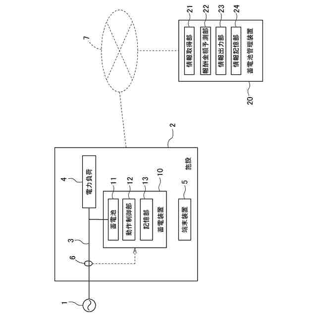
電力負荷及び蓄電池が電力系統に連系される施設での、所定期間の前記電力負荷の負荷電力の時間的推移を示す負荷電力データ、所定の充放電条件で前記蓄電池の充放電を行った場合での前記所定期間の前記蓄電池の蓄電残量の時間的推移を示す蓄電残量データ、及び、前記所定期間を構成する複数の単位時間帯のうち、前記施設の受電点での電力量である受電点電力量を減少させる要請が行われる1以上の前記単位時間帯を指定する減少要請データを取得する情報取得部と、
前記所定期間に第1放電制御を行った場合に前記受電点電力量を減少させたことへの報酬として得られると予測される第1予測報酬金額と、前記所定期間に第2放電制御を行った場合に前記受電点電力量を減少させたことへの報酬として得られると予測される第2予測報酬金額とを導出する報酬金額予測部とを備え、
前記第1放電制御は、前記減少要請データで指定された前記単位時間帯での、前記蓄電残量データに基づいて定まる前記蓄電池の放電可能電力量が、前記負荷電力データに基づいて定まる当該単位時間帯での前記電力負荷の負荷電力量より大きい場合には、当該単位時間帯での前記受電点電力量を減少させるために前記施設から前記電力系統へと電力を逆潮流させるように前記蓄電池から最大限放電させ、当該単位時間帯での前記蓄電池の前記放電可能電力量が前記単位時間帯での前記電力負荷の前記負荷電力量以下の場合には、前記施設から前記電力系統へと電力を逆潮流させないように前記蓄電池から最大限放電させる制御であり、
前記第2放電制御は、前記減少要請データで指定された前記単位時間帯での、前記蓄電池の前記放電可能電力量が、当該単位時間帯での前記電力負荷の前記負荷電力量より大きい場合には、当該単位時間帯での前記受電点電力量を減少させるために前記施設から前記電力系統へと電力を逆潮流させないように前記蓄電池から最大限放電させ、当該単位時間帯での前記蓄電池の前記放電可能電力量が当該単位時間帯での前記電力負荷の前記負荷電力量以下の場合には、前記施設から前記電力系統へと電力を逆潮流させないように前記蓄電池から最大限放電させる制御である、蓄電池管理装置。
続きを表示(約 690 文字)
【請求項2】
前記報酬金額予測部が予測した前記第1予測報酬金額及び前記第2予測報酬金額を前記施設の利用者に対して出力する情報出力部を備える請求項1に記載の蓄電池管理装置。
【請求項3】
前記報酬金額予測部は、
第1報酬単価と前記減少要請データで指定された前記単位時間帯に前記施設から前記電力系統へと電力を逆潮流させた場合の逆潮流電力量との積によって前記第1予測報酬金額を導出し、
第2報酬単価と前記減少要請データで指定された前記単位時間帯に前記施設から前記電力系統へと電力を逆潮流させないように前記蓄電池から放電させた場合の放電電力量との積によって前記第2予測報酬金額を導出する請求項1又は2に記載の蓄電池管理装置。
【請求項4】
前記第1報酬単価及び前記第2報酬単価は各別に設定される請求項3に記載の蓄電池管理装置。
【請求項5】
前記単位時間帯での前記負荷電力量は、過去の直近5日間のうち、前記単位時間帯と同じ時間帯での前記負荷電力量が多い方から4日分の当該時間帯の前記負荷電力量の平均値である請求項1又は2に記載の蓄電池管理装置。
【請求項6】
前記蓄電池にはそれ以上の充電を禁止する上限蓄電残量及びそれ以上の放電を禁止する下限蓄電残量が設定され、前記上限蓄電残量及び前記下限蓄電残量を考慮して前記放電可能電力量が決定される請求項1又は2に記載の蓄電池管理装置。
【請求項7】
前記蓄電池の放電効率を考慮して前記放電可能電力量が決定される請求項1又は2に記載の蓄電池管理装置。
発明の詳細な説明
【技術分野】
【0001】
本発明は、蓄電池管理装置に関する。
続きを表示(約 2,300 文字)
【背景技術】
【0002】
電力系統から電力を受電できる住戸や事業所などの施設に蓄電池を設けて、蓄電池が放電した電力を施設の電力負荷への電力供給に用いることが行われている。例えば、時間帯別の電気料金が設定されている場合、電気料金が安い時間帯に電力系統から受電した電力を蓄電池に充電し、電気料金が高い時間帯に蓄電池から放電した電力を施設の電力負荷で消費させるように蓄電池を運用することもできる。
【0003】
また、施設に設置された蓄電池を、事業者の要請に応じて運用することもできる。例えば、施設が、一般送配電事業者、小売電気事業者、アグリゲーターなどから、施設の受電点での電力量である受電点電力量を減少させることの要請を受けた場合、その要請に応じて放電するように蓄電池を運用することもできる。
【0004】
例えば、特許文献1(特開2017-146761号公報)には、エネルギー供給者にとって経済的に最適となるようなデマンドレスポンスによる調整電力量および市場調達量が決定でき、また市場販売量が決定できる需給調整装置が記載されている。このように、特許文献1では、電力の需要家に供給する電力をどのように確保すれば、エネルギー供給者の経済的な利益が大きくなるのかが考慮されている。
【先行技術文献】
【特許文献】
【0005】
特開2017-146761号公報
【発明の概要】
【発明が解決しようとする課題】
【0006】
特許文献1には、例えばデマンドレスポンスの要請を受けた電力の需要家が、その需要家の施設でデマンドレスポンスの要請に応じる場合に、施設に設けられる蓄電池をどのように運用すれば需要家の経済的な利益を大きくすることができるのかは記載されていない。
【0007】
本発明は、上記の課題に鑑みてなされたものであり、その目的は、経済的な利益を大きくするための蓄電池の運用方法を見つけることができる蓄電池管理装置を提供する点にある。
【課題を解決するための手段】
【0008】
上記目的を達成するための本発明に係る蓄電池管理装置の特徴構成は、電力負荷及び蓄電池が電力系統に連系される施設での、所定期間の前記電力負荷の負荷電力の時間的推移を示す負荷電力データ、所定の充放電条件で前記蓄電池の充放電を行った場合での前記所定期間の前記蓄電池の蓄電残量の時間的推移を示す蓄電残量データ、及び、前記所定期間を構成する複数の単位時間帯のうち、前記施設の受電点での電力量である受電点電力量を減少させる要請が行われる1以上の前記単位時間帯を指定する減少要請データを取得する情報取得部と、
前記所定期間に第1放電制御を行った場合に前記受電点電力量を減少させたことへの報酬として得られると予測される第1予測報酬金額と、前記所定期間に第2放電制御を行った場合に前記受電点電力量を減少させたことへの報酬として得られると予測される第2予測報酬金額とを導出する報酬金額予測部とを備え、
前記第1放電制御は、前記減少要請データで指定された前記単位時間帯での、前記蓄電残量データに基づいて定まる前記蓄電池の放電可能電力量が、前記負荷電力データに基づいて定まる当該単位時間帯での前記電力負荷の負荷電力量より大きい場合には、当該単位時間帯での前記受電点電力量を減少させるために前記施設から前記電力系統へと電力を逆潮流させるように前記蓄電池から最大限放電させ、当該単位時間帯での前記蓄電池の前記放電可能電力量が前記単位時間帯での前記電力負荷の前記負荷電力量以下の場合には、前記施設から前記電力系統へと電力を逆潮流させないように前記蓄電池から最大限放電させる制御であり、
前記第2放電制御は、前記減少要請データで指定された前記単位時間帯での、前記蓄電池の前記放電可能電力量が、当該単位時間帯での前記電力負荷の前記負荷電力量より大きい場合には、当該単位時間帯での前記受電点電力量を減少させるために前記施設から前記電力系統へと電力を逆潮流させないように前記蓄電池から最大限放電させ、当該単位時間帯での前記蓄電池の前記放電可能電力量が当該単位時間帯での前記電力負荷の前記負荷電力量以下の場合には、前記施設から前記電力系統へと電力を逆潮流させないように前記蓄電池から最大限放電させる制御である点にある。
【0009】
上記特徴構成によれば、蓄電池管理装置は、所定期間に第1放電制御を行った場合に受電点電力量を減少させたことへの報酬として得られると予測される第1予測報酬金額と、所定期間に第2放電制御を行った場合に受電点電力量を減少させたことへの報酬として得られると予測される第2予測報酬金額とを導出できる。その結果、施設で、施設から電力系統へと電力を逆潮流させるように蓄電池から最大限放電させる第1放電制御を行った方が経済的利益が大きくなるのか、又は、施設から電力系統へと電力を逆潮流させないように蓄電池から最大限放電させる第2放電制御を行った方が経済的利益が大きくなるのかを明確にできる。
従って、経済的な利益を大きくするための蓄電池の運用方法を見つけることができる蓄電池管理装置を提供できる。
【0010】
本発明に係る蓄電池管理装置の別の特徴構成は、前記報酬金額予測部が予測した前記第1予測報酬金額及び前記第2予測報酬金額を前記施設の利用者に対して出力する情報出力部を備える点にある。
(【0011】以降は省略されています)
この特許をJ-PlatPat(特許庁公式サイト)で参照する
関連特許
大阪瓦斯株式会社
継手
4日前
大阪瓦斯株式会社
ガスコンロ
20日前
大阪瓦斯株式会社
制御システム
1か月前
大阪瓦斯株式会社
充放電中継装置
10日前
大阪瓦斯株式会社
充放電中継装置
10日前
大阪瓦斯株式会社
フレキシブル管用継手
4日前
大阪瓦斯株式会社
平板型燃料電池スタック
24日前
大阪瓦斯株式会社
共電解メタネーション装置
23日前
大阪瓦斯株式会社
共電解メタネーション装置
23日前
大阪瓦斯株式会社
電力融通システム及び電力融通方法
1か月前
大阪瓦斯株式会社
船舶及びその航行計画を生成する情報処理装置
24日前
大阪瓦斯株式会社
共電解メタネーション装置及び共電解メタネーション装置の運転方法
23日前
個人
電気を重力で発電装置
10日前
キヤノン電子株式会社
モータ
9日前
キヤノン電子株式会社
モータ
17日前
日星電気株式会社
ケーブル組立体
25日前
コーセル株式会社
電源装置
18日前
トヨタ自動車株式会社
モータ
9日前
株式会社デンソー
回転機
1か月前
個人
二次電池繰返パルス放電器用印刷基板
23日前
株式会社ミツバ
回転電機
1か月前
株式会社デンソー
電力変換装置
24日前
株式会社デンソー
電力変換装置
1か月前
トヨタ自動車株式会社
固定子の加熱装置
20日前
株式会社ダイヘン
インバータ装置
1か月前
株式会社デンソー
非接触受電装置
26日前
山洋電気株式会社
モータ
23日前
トヨタ自動車株式会社
ステータの製造装置
10日前
個人
非対称鏡像力を有する4層PWB電荷搬送体
4日前
ローム株式会社
モータドライバ回路
4日前
日産自動車株式会社
ロータシャフト
4日前
日産自動車株式会社
ロータシャフト
4日前
株式会社アイシン
電力変換装置
9日前
トヨタ紡織株式会社
ロータの製造装置
18日前
個人
電線盗難防止方法及び電線盗難防止装置
17日前
株式会社明治ゴム化成
ワイヤレス給電用部品
19日前
続きを見る
他の特許を見る